TOP
|
特許
|
意匠
|
商標
特許ウォッチ
Twitter
他の特許を見る
10個以上の画像は省略されています。
公開番号
2025044979
公報種別
公開特許公報(A)
公開日
2025-04-02
出願番号
2023152828
出願日
2023-09-20
発明の名称
連結フック
出願人
藤井電工株式会社
代理人
主分類
A62B
35/00 20060101AFI20250326BHJP(人命救助;消防)
要約
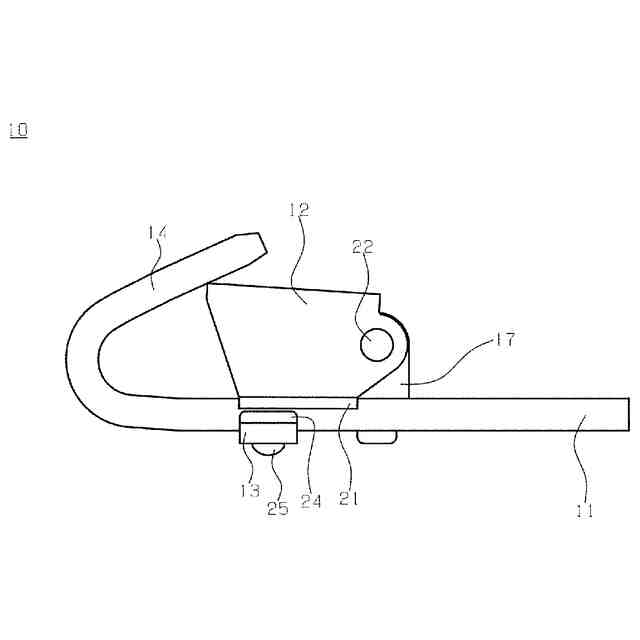
【課題】安全性が高く、かつ、フック全体の小型化、軽量化を図ることが可能な連結フックを提供することにある。
【解決手段】先端側に鈎部14が設けられたフック本体11と、フック本体の鈎部が開口する側に回動自在に取り付けられた外れ止め装置12と、外れ止め装置をロック状態或いは非ロック状態に操作する安全装置13とを備え、フック本体の中央部にはスライド孔16が形成され、スライド孔内に配置されたスライドピン25の他端がフック本体の背面側に配置された安全装置に連結されることで安全装置がフック本体に対してスライド可能に構成され、フック本体の中央部の鈎部が開口する側であって、外れ止め装置の内側に付勢手段26の一端が接続され、スライドピンの一端に付勢手段の他端が接続されることで安全装置がスライドピンを介して付勢手段により付勢されたことを特徴とする。
【選択図】図7
特許請求の範囲
【請求項1】
先端側に鈎部が設けられたフック本体と、
前記フック本体の鈎部が開口する側に回動自在に取り付けられた外れ止め装置と、
前記外れ止め装置をロック状態或いは非ロック状態に操作する安全装置と
を備え、
前記フック本体の中央部にはスライド孔が形成され、
前記スライド孔内に配置されたスライドピンの他端が前記フック本体の背面側に配置された前記安全装置に連結されることで前記安全装置が前記フック本体に対してスライド可能に構成され、
前記フック本体の中央部の鈎部が開口する側であって、前記外れ止め装置の内側に付勢手段の一端が接続され、前記スライドピンの一端に前記付勢手段の他端が接続されることで前記安全装置が前記スライドピンを介して前記付勢手段により付勢された
ことを特徴とする連結フック。
続きを表示(約 300 文字)
【請求項2】
前記外れ止め装置の先端部には、前記外れ止め装置を開状態の方向に回動させたときに前記スライドピンとの接触を回避する回避溝が形成された
請求項1に記載の連結フック。
【請求項3】
前記外れ止め装置には、前記フック本体の幅よりも外方に突出した外れ止め装置側突出片が設けられ、
前記安全装置には、前記フック本体の幅よりも外方に突出した安全装置側突出片が設けられた
請求項1又は2に記載の連結フック。
【請求項4】
前記安全装置と前記スライドピンとが一体化された部材で形成されている
請求項1又は2に記載の連結フック。
発明の詳細な説明
【技術分野】
【0001】
本発明は、高所作業の際に使用する墜落制止用器具のランヤードを、作業者が身に着けるハーネス又は胴ベルトに接続するための連結フックに関する。
続きを表示(約 2,100 文字)
【背景技術】
【0002】
この種の人体側に連結するフックとして、図9に示すように、先端に鈎部2を設けたフック本体3の腹部に開閉キャップ4を取り付け、安全レバー5をフック本体3の基部の片側に回動自在に枢着6した構造のフック1が知られている(例えば、特許文献1参照)。
安全レバー5を回動させ、安全レバー5の掛止突出片7を開閉キャップ4の嵌入部8に嵌入させて開閉キャップ4の回動を阻止することで、使用中に開閉キャップ4が不本意に開放してD環などの接続部材との連結が不慮に外れて作業者が墜落するといった危険性を減らすことができる。
【0003】
また、ばねの付勢力でロック方向に付勢させた安全レバーを開閉キャップの下側に配置し、安全レバーをばねの付勢力に抗して横にスライドさせることで開閉キャップの開閉を操作する、上記特許文献1とは別の構造を有するフックも知られている。
【先行技術文献】
【特許文献】
【0004】
実公昭57-19460号公報
【発明の概要】
【発明が解決しようとする課題】
【0005】
上記特許文献1の構造では、安全レバー5が開閉キャップ4の側面側に配置されていることから、使用中にランヤードや部材等が安全レバー5に引っ掛かってしまった場合に、安全レバー5の開閉キャップ4への嵌入が外れてしまうことが考えられる。
安全レバー5はフック本体3に枢着6され、開閉キャップ4の側面に設けられた嵌入部8に嵌め込むことで開閉キャップ4の回動を阻止しているが、ばねなどで付勢されているわけではないため、一度外れると自動ではロック状態に戻ることができない。この場合、絶えず開閉キャップ4が回動できてしまう状態にあるので、安全性能が十分に確保されているとはいえない。
【0006】
また、上記特許文献1とは別の構造を有するフックでは、安全レバーが開閉キャップの下側に配置されていることから、開閉キャップの周辺に部品が集中してしまうことや、ロック状態を解除する際の可動スペースを確保する必要があるため、フック形状が大型化し、重量も重くなる問題を生じる。
【0007】
本発明の目的は、安全性が高く、かつ、フック全体の小型化、軽量化を図ることが可能な連結フックを提供することにある。
【課題を解決するための手段】
【0008】
本発明の連結フックは、先端側に鈎部が設けられたフック本体と、前記フック本体の鈎部が開口する側に回動自在に取り付けられた外れ止め装置と、前記外れ止め装置をロック状態或いは非ロック状態に操作する安全装置とを備え、前記フック本体の中央部にはスライド孔が形成され、前記スライド孔内に配置されたスライドピンの他端が前記フック本体の背面側に配置された前記安全装置に連結されることで前記安全装置が前記フック本体に対してスライド可能に構成され、前記フック本体の中央部の鈎部が開口する側であって、前記外れ止め装置の内側に付勢手段の一端が接続され、前記スライドピンの一端に前記付勢手段の他端が接続されることで前記安全装置が前記スライドピンを介して前記付勢手段により付勢されたことを特徴とする。
【0009】
本発明の連結フックでは、前記外れ止め装置の先端部には、前記外れ止め装置を開状態の方向に回動させたときに前記スライドピンとの接触を回避する回避溝が形成されたことが好ましい。
本発明の連結フックでは、前記外れ止め装置には、前記フック本体の幅よりも外方に突出した外れ止め装置側突出片が設けられ、前記安全装置には、前記フック本体の幅よりも外方に突出した安全装置側突出片が設けられたことが好ましい。
本発明の連結フックでは、前記安全装置と前記スライドピンとが一体化された部材で形成されていることが好ましい。
【発明の効果】
【0010】
本発明に係る連結フックでは、安全装置をフック本体の背面側に配置している。この構造では、側面配置の構造に比べて、安全装置がランヤードや部材等に引っ掛かることがなくなり、安全装置が外れて外れ止め装置が自由に操作できてしまう問題を生じない。従って、安全性が高いフックを提供できる。また、外れ止め装置の下側配置の構造に比べて、外れ止め装置の周辺に部品が集中することもなく、またロック状態を解除する際の可動スペースも確保できるため、フック全体の小型化、軽量化を達成できる。
更に、この安全装置に対して付勢力を付与し、フック本体鈎部側に配置した付勢手段の付勢力をスライドピンを介してフック本体背面側の安全装置に伝達させる構造を採用した。このように、付勢手段を外れ止め装置の内側に配置する構成としたので、付勢手段を保護する部材を別途設ける必要がなく、小型化、軽量化を図ることができる。
【図面の簡単な説明】
(【0011】以降は省略されています)
この特許をJ-PlatPat(特許庁公式サイト)で参照する
関連特許
個人
階段避難用滑り板
10か月前
個人
階段上り下り滑り板
8か月前
藤井電工株式会社
連結フック
6か月前
個人
高層ビルからの救助装置
7日前
個人
大地震の火災消火システム
1か月前
藤井電工株式会社
安全帯取付具
1か月前
能美防災株式会社
消火設備
11か月前
能美防災株式会社
消火装置
10か月前
能美防災株式会社
消火設備
11か月前
株式会社高儀
胴当てベルト
2か月前
個人
高層階の降下型避難装置
5か月前
ホーチキ株式会社
消火栓装置
11か月前
株式会社キッツ
流水検知装置
3か月前
能美防災株式会社
消火栓装置
10か月前
深田工業株式会社
発泡ノズル
10か月前
能美防災株式会社
デフレクタ
11か月前
帝国繊維株式会社
防災用車両
2か月前
個人
消火用ノズルヘッド
11か月前
ホーチキ株式会社
防災システム
10か月前
中国電力株式会社
長尺工具保持具
9か月前
ホーチキ株式会社
消火栓装置
9か月前
ホーチキ株式会社
消火栓装置
1か月前
ホーチキ株式会社
消火栓装置
9か月前
ホーチキ株式会社
消火栓装置
11か月前
ホーチキ株式会社
消火栓装置
11か月前
ホーチキ株式会社
消火栓装置
5か月前
ホーチキ株式会社
消火栓装置
4か月前
ホーチキ株式会社
消火栓装置
4か月前
ホーチキ株式会社
消火栓装置
3か月前
株式会社立売堀製作所
流水検知装置
3か月前
藤井電工株式会社
ストラップの保護カバー
7か月前
沖電気工業株式会社
筐体
6か月前
帝国繊維株式会社
保形ホース点検装置
5か月前
日本ドライケミカル株式会社
消火薬剤
3か月前
Ronk株式会社
作業者安全確認装置
11か月前
能美防災株式会社
消火設備
1日前
続きを見る
他の特許を見る