TOP
|
特許
|
意匠
|
商標
特許ウォッチ
Twitter
他の特許を見る
公開番号
2025088187
公報種別
公開特許公報(A)
公開日
2025-06-11
出願番号
2023202726
出願日
2023-11-30
発明の名称
流水検知装置
出願人
株式会社キッツ
代理人
個人
主分類
A62C
35/68 20060101AFI20250604BHJP(人命救助;消防)
要約
【課題】簡易な装置構造で、メンテナンス作業性を向上すること、および、メンテナンス作業のミスを低減することができる流水検知装置を提供すること。
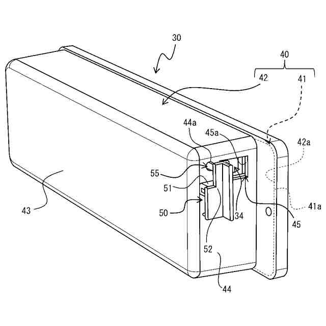
【解決手段】流水検知装置1は、逆止弁機構の弁体の弁開状態を検知する検知部から報知部への検知信号の出力を可能にするオン位置及び前記検知信号の出力を遮断するオフ位置に切替操作するためのスイッチ34が筐体40内に設けられ、筐体40には、スイッチ34を筐体40の外部から操作自在なスイッチ操作用開口部45が形成され、スイッチ操作用開口部45に脱着自在に設け、かつ、スイッチ操作用開口部45に装着すると、オフ位置のスイッチ34に当接してスイッチ34をオン位置に変位させる凸状スイッチ操作部51と、スイッチ操作用開口部45から離脱した状態であっても筐体40との連結状態を保持する連結部55とを備えたスイッチカバー50を有する。
【選択図】図3
特許請求の範囲
【請求項1】
逆止弁機構の弁体と該弁体の弁開状態を検知する検知部とを備え、該検知部から報知部への検知信号の出力を可能にするオン位置及び前記検知信号の出力を遮断するオフ位置に切替操作するためのスイッチが筐体内に設けられた流水検知装置であって、
前記筐体には、前記スイッチを前記筐体の外部から操作自在なスイッチ操作用開口部が形成され、
前記スイッチ操作用開口部に脱着自在に設け、かつ、前記スイッチ操作用開口部に装着すると、前記オフ位置の前記スイッチに当接して該スイッチを前記オン位置に変位させる凸状スイッチ操作部と、前記スイッチ操作用開口部から離脱した状態であっても前記筐体との連結状態を保持する連結部とを備えたスイッチカバーを有することを特徴とする流水検知装置。
続きを表示(約 610 文字)
【請求項2】
前記スイッチは、オン操作面及びオフ操作面が直線上に並んで配置されたロッカースイッチであり、
前記スイッチカバーは、前記凸状スイッチ操作部の基端部から前記オフ操作面に対向する側に前記直線の方向に延設した延設部を有し、かつ、前記凸状スイッチ操作部の一端面から前記延設部の延在端面までの幅を同方向での前記スイッチ操作開口部の開口幅に略等しくして凸状スイッチ操作部が前記オン操作面を押圧する位置に位置決め配置されるように前記スイッチ操作開口部に篏合される嵌合部を設けた請求項1に記載の流水検知装置。
【請求項3】
前記スイッチカバーの前記延設部の延在端面が、前記スイッチ操作用開口部への装着方向奥側に向けて外側に反った形状である請求項2に記載の流水検知装置。
【請求項4】
前記連結部は、前記筐体に形成された挿通孔に挿通される棒状部と、前記挿通孔より直径が大きい部分を含んで前記棒状部の先端に設けた抜け止め部とを有し、
前記棒状部は、前記スイッチカバーを前記スイッチ操作用開口部に装着する際、前記凸状スイッチ操作部が前記オフ操作面に対向する姿勢で前記嵌合部を前記スイッチ操作用開口部に篏合できない長さに設定されている請求項2又は3に記載の流水検知装置。
【請求項5】
前記スイッチカバーは、弾性材からなる請求項1乃至3に記載の流水検知装置。
発明の詳細な説明
【技術分野】
【0001】
本発明は、流水検知装置に関し、特に、消火設備の配水管系統の一部として設けられる流水検知装置に関する。
続きを表示(約 2,100 文字)
【背景技術】
【0002】
従来、スプリンクラー設備等の消火設備には、配水管内を流れる水を検知する検知部を備えて、配水管内に水が流れた場合に、その検知信号を検知部から報知部に出力する流水検知装置が配水管系統の一部として設けられている。
流水検知装置は、例えば、スプリンクラーの作動による配水管内の水の流れを検知部によって検知すると、その検知信号を検知部から警報装置等の報知部に出力する。これにより、報知部が消火設備周辺の人に対して火災の発生を警報として報知し、早急な避難を促すことができるようになっている。
【0003】
このような流水検知装置は、逆止弁機構の弁体と、この弁体の弁開状態を検知する検知部とを備え、検知部と報知部とが電気的に接続されることによって検知部から報知部に信号が出力されるようになっている。
【0004】
そして、流水検知装置には、メンテナンス作業を行う際、誤って報知部によって警報が報知されないように、メンテナンス作業の開始前には、検知部から報知部への検知信号の出力を遮断したオフ位置とし、メンテナンス作業の終了後には、検知信号の出力を可能にするオン位置とする切替操作が可能なスイッチが設けられている。
【0005】
このようなスイッチによると、メンテナンス作業時に誤って警報が報知されることを防ぐことができる。しかしながら、メンテナンス作業の終了後に、作業者がスイッチをオン位置に戻し忘れてしまうおそれがあるため、オフ位置にしたスイッチをメンテナンス作業終了後には確実にオン位置に戻すことができる技術が提案されている。
【0006】
例えば、特許文献1には、配管内の流水を検知して信号出力手段により出力される信号を外部に送信させない信号出力停止手段をターミナルボックス内に収納し、点検時において、信号出力停止状態を確実なものとするために信号出力停止手段がリミットスイッチとリミットスイッチ押圧手段の間の所定の位置に確実に設置され、点検終了後に信号出力停止手段の解除を確実にするため、信号出力停止手段を施した状態ではターミナルボックスの蓋が閉まらない構造の流水検知装置が記載されている。
【0007】
また、特許文献2には、筺体の内部にリミットスイッチ、スイッチ、および出力装置が設置され、スイッチが、リミットスイッチと端子台の間の電路を開閉可能であり、通常時は電路が閉じられた「定位」の状態にあり、リミットスイッチの信号は端子台を介して受信機に送ることができる。スイッチの操作により電路が開いた「信号停止」状態になるとリミットスイッチが作動してもその信号は受信機に送られないようにした流水検知装置が記載されている。
この特許文献2に記載の流水検知装置は、点検終了後に信号停止状態の解除を確実にするため、スイッチが「信号停止」の状態にあるとき、音や点灯・点滅等の表示で作業者に注意を促すようになっている。
【0008】
このような流水検知装置は、流水検知装置自体のメンテナンス作業以外に、スプリンクラー設備等の流水検知装置の取り付け対象設備のメンテナンス作業を行う際にも、スイッチをオフ位置にしておく必要がある。
また、上述のスイッチは、流水検知装置の管理者以外の者が操作することを防ぐため、検知部が収容された筐体の内部に配置されている。
【先行技術文献】
【特許文献】
【0009】
特開2009‐297585号公報
特開2017‐104148号公報
【発明の概要】
【発明が解決しようとする課題】
【0010】
しかしながら、特許文献1に記載の流水検知装置では、流水検知装置自体のメンテナンス作業ではなく、スプリンクラー設備等の取り付け対象設備のメンテナンス作業についても、スイッチ操作のためにターミナルボックスの蓋を開ける必要があり、しかも、信号出力停止手段をリミットスイッチとリミットスイッチ押圧手段の間の所定の位置に設置しなければならないため、メンテナンス作業が煩雑になるという問題があった。
そして、特許文献1に記載の流水検知装置では、筐体には紛失防止手段としての信号出力停止手段の収納部を設け、さらには、信号出力停止状態を確実なものとするために信号出力停止手段がリミットスイッチとリミットスイッチ押圧手段の間の所定の位置に確実に設置されるようにリミットスイッチ等の近傍に信号出力停止手段のガイド部を設ける必要があるため、装置構成が複雑になる問題があった。
また、特許文献2に記載の流水検知装置についても、スプリンクラー設備等の取り付け対象設備のメンテナンス作業では、スイッチ操作のために筐体の蓋を開ける必要がある。
そして、特許文献2に記載の流水検知装置では、スイッチが「信号停止」の状態にあるとき、音や点灯・点滅等の表示で作業者に注意を促すようにしているため、装置構成が複雑になる問題があった。
(【0011】以降は省略されています)
この特許をJ-PlatPat(特許庁公式サイト)で参照する
関連特許
株式会社キッツ
回転弁のグランド回転規制プレート構造とボールバルブ
21日前
個人
階段避難用滑り板
10か月前
個人
階段上り下り滑り板
8か月前
藤井電工株式会社
連結フック
6か月前
個人
高層ビルからの救助装置
6日前
個人
大地震の火災消火システム
1か月前
藤井電工株式会社
安全帯取付具
1か月前
能美防災株式会社
消火設備
11か月前
能美防災株式会社
消火装置
10か月前
能美防災株式会社
消火設備
11か月前
株式会社高儀
胴当てベルト
2か月前
個人
高層階の降下型避難装置
5か月前
ホーチキ株式会社
消火栓装置
11か月前
株式会社キッツ
流水検知装置
3か月前
能美防災株式会社
消火栓装置
10か月前
深田工業株式会社
発泡ノズル
9か月前
能美防災株式会社
デフレクタ
11か月前
帝国繊維株式会社
防災用車両
2か月前
個人
消火用ノズルヘッド
11か月前
ホーチキ株式会社
防災システム
10か月前
中国電力株式会社
長尺工具保持具
9か月前
ホーチキ株式会社
消火栓装置
9か月前
ホーチキ株式会社
消火栓装置
1か月前
ホーチキ株式会社
消火栓装置
9か月前
ホーチキ株式会社
消火栓装置
10か月前
ホーチキ株式会社
消火栓装置
11か月前
ホーチキ株式会社
消火栓装置
5か月前
ホーチキ株式会社
消火栓装置
4か月前
ホーチキ株式会社
消火栓装置
4か月前
ホーチキ株式会社
消火栓装置
3か月前
株式会社立売堀製作所
流水検知装置
3か月前
藤井電工株式会社
ストラップの保護カバー
7か月前
沖電気工業株式会社
筐体
6か月前
帝国繊維株式会社
保形ホース点検装置
5か月前
日本ドライケミカル株式会社
消火薬剤
3か月前
Ronk株式会社
作業者安全確認装置
11か月前
続きを見る
他の特許を見る