TOP
|
特許
|
意匠
|
商標
特許ウォッチ
Twitter
他の特許を見る
10個以上の画像は省略されています。
公開番号
2025075203
公報種別
公開特許公報(A)
公開日
2025-05-15
出願番号
2023186198
出願日
2023-10-31
発明の名称
半田付け方法
出願人
株式会社アンド
代理人
個人
主分類
B23K
3/02 20060101AFI20250508BHJP(工作機械;他に分類されない金属加工)
要約
【課題】半田孔内に供給された半田片を加熱溶融して、ピン端子とランドとを確実に半田付けする。
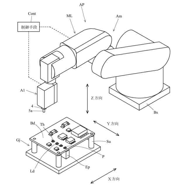
【解決手段】半田付け方法は、略筒形状で軸方向に貫通した半田孔51aを有し加熱可能な鏝先5aを、スルーホールThの他方側から突出したピン端子Pの外周面が半田孔51aの内周面に接触する半田付け位置に、プリント基板Bdに対して相対的に移動させる第1工程と、第1工程後に半田片Whを半田孔51a内へ供給する第2工程と、半田孔51a内に供給された半田片Whを加熱溶融させる第3工程と、第3工程の後に、鏝先5aを半田付け位置からプリント基板Bdから離間した位置に相対的に移動させる第4工程とを有する。
【選択図】図6
特許請求の範囲
【請求項1】
電子部品の部品本体から外方に突出したピン端子を、プリント基板に形成されたスルーホールの一方側から他方側に挿通して、前記スルーホールの他方側から突出した前記ピン端子と、前記スルーホールの他方側開口の外周縁に形成されたランドとを半田付けする半田付け方法であって、
略筒形状で軸方向に貫通した半田孔を有し加熱可能な鏝先を、前記スルーホールの他方側から突出した前記ピン端子の外周面が前記半田孔の内周面に接触する半田付け位置に、前記プリント基板に対して相対的に移動させる第1工程と、
第1工程後に半田片を前記半田孔内へ供給する第2工程と、
前記半田孔内に供給された前記半田片を加熱溶融させる第3工程と、
第3工程の後に、前記鏝先を前記半田付け位置から前記プリント基板から離間した位置に相対的に移動させる第4工程と
を有することを特徴とする半田付け方法。
続きを表示(約 340 文字)
【請求項2】
前記半田孔は、前記半田片の供給方向下流端に、半径方向外方に拡大した拡大部を有し、
前記拡大部の、前記半田片の供給方向下流端からの軸方向長さが、前記ピン端子の前記スルーホールの他方側からの突出長さ以上である請求項1記載の半田付け方法。
【請求項3】
前記拡大部は、前記半田孔の軸方向から見て、前記半田孔の中心軸を中心とした同心円状である請求項2記載の半田付け方法。
【請求項4】
前記拡大部は、前記半田孔の軸方向から見て円状であって、その中心は前記半田孔の中心軸と異なる請求項2記載の半田付け方法。
【請求項5】
前記拡大部が前記半田孔の外周の一部が半径方向外方に拡大したものである請求項2記載の半田付け方法。
発明の詳細な説明
【技術分野】
【0001】
本発明は半田付け方法に関し、より詳細には、電子部品の部品本体から外方に突出したピン端子と、プリント基板に形成されたスルーホールの外周縁に形成されたランドとを半田付けする半田付け方法に関するものである。
続きを表示(約 1,900 文字)
【背景技術】
【0002】
近年、各種機器のほとんどには電子部品を実装したプリント回路基板が搭載されている。このプリント回路基板の作製過程において、各種の電子部品をプリント配線板の配線パターン(ランド)に接合する処理等のため半田付け作業がなされる。また半田付け作業を機械的に実現させるため半田付け装置が各種提案されすでに使用されているものもある。
【0003】
例えば半田付け装置の一つとして、半田片(半田層内部にフラックスの層が設けられた糸半田を切断したもの)を、円筒状の鏝先の軸方向に貫通した半田孔内に供給し、半田孔内で半田片を立てた姿勢で加熱して、溶融した半田を下方へ供給して半田付けを行うものがある。
【先行技術文献】
【特許文献】
【0004】
特開平09-108826号公報
特開2011-056581号公報
特開2009-195938号公報
【発明の概要】
【発明が解決しようとする課題】
【0005】
上記のように半田片を半田孔内に立てた姿勢で加熱すると、半田片の外周面と半田孔の内壁とが接触して半田片が加熱され、比較的融点の低いフラックスが半田片の内部から流出し始める。このフラックスが半田片の上端或いは側面から適切に流出すれば、半田孔の内壁と半田片の間には濡れ性に優れたフラックスが適切に介在することになり、半田孔の内壁と半田片との接触性が向上して鏝先から半田片へ十分に熱が伝わり半田片が適切に加熱溶融される。
【0006】
一方で、図21(a)に示すように、半田孔55内に供給された半田片Whが電子部品Epのピン端子P上に半田孔55の内壁に接触することなく自立する現象が発生率は低いものの発生することがあった。このように半田片Whがピン端子P上に自立すると、鏝先5gからの半田片Whへ直接熱が伝わらず半田片Whの昇温に通常よりも時間がかかる。また半田片WhがフラックスFLの溶融温度(おおよそ100℃)に達すると、同図(b)に示すように、半田片Whの外周部の溶融温度の高い半田材(錫合金)が溶融する以前に溶融温度の低いフラックスが溶融を開始し、半田片Whの下端からフラックスFLが流出し、流出したフラックスFLはピン端子Pを伝って流下してしまい半田孔55の内壁と半田片Whの間にフラックスFLが介在しなくなり、フラックスFLによる半田片Whの表面の酸化膜の除去ができず、また半田孔55と半田片Whとの熱伝達量が極めて少なくなる。さらにランドLdへもフラックスFLは流れ広がらない。
【0007】
その結果、所定時間内に半田片Whが十分に溶融加熱されずに、同図(c)に示すように、ピン端子P上に溶融変形した半田が球状で留まることがあった。あるいはまた、半田片Whが加熱溶融しても、同図(d)に示すように、溶融した半田がピン端子Pを伝って流れ落ちてしまい、溶融半田がランドLdに流れ広がらないことがあった。
【0008】
また、ピン端子Pは、鏝先5gから基板Bdを介した伝熱、鏝先5gからの輻射熱および半田孔55内の対流によって加熱されるため、ピン端子Pの温度が半田の溶融温度に達するまで時間がかかり半田付け効率の向上の支障となっていた。
【0009】
本発明はこのような従来問題に鑑みなされたものであり、その目的は、半田孔内に供給された半田片がより確実に加熱溶融され、ピン端子とランドとを確実に半田付けることができ、半田付けの効率が向上できる方法を提供することにある。
【課題を解決するための手段】
【0010】
前記目的を達成する本発明の一実施態様に係る半田付け方法は、電子部品の部品本体から外方に突出したピン端子を、プリント基板に形成されたスルーホールの一方側から他方側に挿通して、前記スルーホールの他方側から突出した前記ピン端子と、前記スルーホールの他方側開口の外周縁に形成されたランドとを半田付けする半田付け方法であって、略筒形状で軸方向に貫通した半田孔を有し加熱可能な鏝先を、前記スルーホールの他方側から突出した前記ピン端子の外周面が前記半田孔の内周面に接触する半田付け位置に、前記プリント基板に対して相対的に移動させる第1工程と、第1工程後に半田片を前記半田孔内へ供給する第2工程と、前記半田孔内に供給された前記半田片を加熱溶融させる第3工程と、第3工程の後に、前記半田付け位置にある前記鏝先を前記プリント基板に対して離間する方向に相対的に移動させる第4工程とを有することを特徴とする。
(【0011】以降は省略されています)
この特許をJ-PlatPat(特許庁公式サイト)で参照する
関連特許
株式会社アンドパッド
情報処理方法、情報処理プログラム及び情報処理装置
5日前
個人
フライス盤
1か月前
麗豊実業股フン有限公司
ラクトバチルス・パラカセイNB23菌株及びそれを筋肉量の増加や抗メタボリック症候群に用いる用途
4か月前
日東精工株式会社
ねじ締め機
6日前
株式会社北川鉄工所
回転装置
4か月前
株式会社不二越
ドリル
5か月前
日東精工株式会社
ねじ締め機
4か月前
日東精工株式会社
ねじ締め機
1か月前
日東精工株式会社
ねじ締め機
1か月前
日東精工株式会社
ねじ締め装置
26日前
日東精工株式会社
ねじ締め装置
3か月前
株式会社ダイヘン
溶接電源装置
2か月前
株式会社ダイヘン
溶接電源装置
2か月前
株式会社ダイヘン
溶接電源装置
2か月前
個人
切削油供給装置
1か月前
株式会社FUJI
工作機械
3か月前
株式会社FUJI
工作機械
5日前
株式会社FUJI
工作機械
12日前
株式会社FUJI
工作機械
3か月前
キヤノン電子株式会社
加工システム
2か月前
株式会社アンド
半田付け方法
5か月前
個人
型枠製造装置のフレーム
16日前
株式会社アンド
半田付け方法
5か月前
株式会社アンド
半田付け方法
1か月前
株式会社トヨコー
被膜除去方法
4か月前
大見工業株式会社
ドリル
2か月前
株式会社ツガミ
工作機械
1か月前
村田機械株式会社
レーザ加工機
4か月前
村田機械株式会社
レーザ加工機
4か月前
ビアメカニクス株式会社
レーザ加工装置
6日前
株式会社不二越
ブローチ盤
26日前
ビアメカニクス株式会社
レーザ加工装置
6日前
トヨタ自動車株式会社
溶接マスク
3か月前
ビアメカニクス株式会社
レーザ加工装置
6日前
トヨタ自動車株式会社
溶接ヘッド
4か月前
株式会社ダイヘン
溶接装置
3か月前
続きを見る
他の特許を見る