TOP
|
特許
|
意匠
|
商標
特許ウォッチ
Twitter
他の特許を見る
公開番号
2025081877
公報種別
公開特許公報(A)
公開日
2025-05-28
出願番号
2023194935
出願日
2023-11-16
発明の名称
レーザ加工機
出願人
村田機械株式会社
代理人
個人
主分類
B23K
26/00 20140101AFI20250521BHJP(工作機械;他に分類されない金属加工)
要約
【課題】加工品質のモニタリング精度を向上させることができるレーザ加工機を提供する。
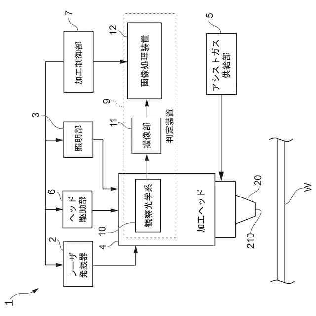
【解決手段】レーザ光を発生するレーザ発振器2と、レーザ発振器2からのレーザ光L1をワークWに照射する加工ヘッド4と、レーザ光L1が照射されたワークWを、加工ヘッド4を介して撮像する撮像部11と、を備え、加工ヘッド4は、水平方向を移動可能であり、水平方向の第1方向D1と第1方向D1に対して垂直である第2方向D2とを加工する際の加工ヘッド4の移動方向を基準加工方向とし、加工ヘッド4の基準加工方向への移動に伴い撮像部11が取得する画像Gにおける加工ヘッド4の基準加工方向と、撮像部11の画素PIXの並び方向と、が一致するように撮像部11が配置される。
【選択図】図1
特許請求の範囲
【請求項1】
ワークと加工ヘッドとを相対的に移動させて前記加工ヘッドから出射するレーザ光により前記ワークを切断して製品を形成するレーザ加工機において、
前記レーザ光を発生するレーザ発振器と、
前記レーザ発振器からの前記レーザ光をワークに照射する前記加工ヘッドと、
前記レーザ光が照射された前記ワークを、前記加工ヘッドを介して撮像する撮像部と、を備え、
前記加工ヘッドは、水平方向を移動可能であり、前記水平方向の第1方向と前記第1方向に対して垂直である第2方向とを加工する際の前記加工ヘッドの移動方向を基準加工方向とし、
前記加工ヘッドの前記基準加工方向への移動に伴い前記撮像部が取得する画像における前記加工ヘッドの前記基準加工方向と、前記撮像部の画素の並び方向と、が一致するように前記撮像部が配置される、レーザ加工機。
続きを表示(約 140 文字)
【請求項2】
前記撮像部は、前記加工ヘッドの前記加工方向への移動に伴い前記撮像部が取得する画像における前記加工ヘッドの前記基準加工方向と、前記撮像部の画素の並び方向と、画像を解析する際の方向となる基準方向と、が一致するように配置される、
請求項1に記載のレーザ加工機。
発明の詳細な説明
【技術分野】
【0001】
本発明は、レーザ加工機に関する。
続きを表示(約 1,600 文字)
【背景技術】
【0002】
ワークに対してレーザ光を照射することでワークの切断などのレーザ加工を予め設定された加工方向に沿って行うレーザ加工機が知られている(例えば、特許文献1参照)。特許文献1に記載のレーザ加工機は、レーザ光が照射されたワークを撮像する撮像部を有し、撮像部が撮像した撮像画像に対して画像処理を行うことで加工品質をモニタリングしている。例えば、レーザ加工機は、撮像画像に対して画像処理を行うことで、加工品質としてレーザ加工によって切断された切断幅(カーフ幅)をモニタリングしている。
【先行技術文献】
【特許文献】
【0003】
特開2019-104064号公報
【発明の概要】
【発明が解決しようとする課題】
【0004】
加工品質をモニタリングするにあたって、レーザ加工の加工方向と撮像部の画素方向との関係によって加工品質のモニタリング精度が低下する場合がある。
【0005】
本発明は、加工品質のモニタリング精度を向上させることができるレーザ加工機を提供することを目的とする。
【課題を解決するための手段】
【0006】
本発明の態様に係るレーザ加工機は、ワークと加工ヘッドとを相対的に移動させて加工ヘッドから出射するレーザ光によりワークを切断して製品を形成するレーザ加工機において、レーザ光を発生するレーザ発振器と、レーザ発振器からのレーザ光をワークに照射する加工ヘッドと、レーザ光が照射されたワークを、加工ヘッドを介して撮像する撮像部と、を備え、加工ヘッドは、水平方向を移動可能であり、水平方向の第1方向と第1方向に対して垂直である第2方向とを加工する際の加工ヘッドの移動方向を基準加工方向とし、加工ヘッドの基準加工方向への移動に伴い撮像部が取得する画像における加工ヘッドの基準加工方向と、撮像部の画素の並び方向と、が一致するように撮像部が配置される。
【発明の効果】
【0007】
上記態様に係るレーザ加工機によれば、撮像部が取得した画像における加工ヘッドの移動方向と画素の並びが一致しているため、加工品質のモニタリング精度を向上させることができる。
【0008】
また、上記態様のレーザ加工機において、撮像部は、加工ヘッドの加工方向への移動に伴い撮像部が取得する画像における加工ヘッドの基準加工方向と、撮像部の画素の並び方向と、画像を解析する際の方向となる基準方向と、が一致するように配置されてもよい。このような構成によれば、画像解析する際の基準方向が基準加工方向及び画素の並び方向に一致するため、画像解析に伴う処理負荷を低減させることができる。
【図面の簡単な説明】
【0009】
本実施形態に係るレーザ加工機の概略構成図である。
本実施形態に係る加工ヘッドの構成の一例を示す図である。
本実施形態に係る画像処理装置の機能部の一例を示す図である。
本実施形態に係るカーフ幅を説明する図である。
本実施形態に係る撮像素子の画素を模式的に示す図である。
本実施形態に係る切断溝が形成されたワークの画像の一例を示す図である。
本実施形態に係る切断溝が形成されたワークの画像の一例を示す図である。
【発明を実施するための形態】
【0010】
以下、実施形態を通じて本発明を説明するが、以下の実施形態は特許請求の範囲にかかる発明を限定されない。また、実施形態の中で説明されている特徴の組み合わせの全てが発明の解決手段に必須であるとは限らない。なお、図面において、同一又は類似の部分には同一の符号を付して、重複する説明を省く場合がある。また、図面における要素の形状及び大きさなどはより明確な説明のために誇張されるなど、実際の製品とは、形状、寸法が異なる場合がある。
(【0011】以降は省略されています)
この特許をJ-PlatPat(特許庁公式サイト)で参照する
関連特許
村田機械株式会社
自動倉庫
14日前
村田機械株式会社
ボビン解舒装置
2日前
村田機械株式会社
有軌道台車システム
1日前
個人
タップ
5か月前
個人
フライス盤
1か月前
個人
加工機
5か月前
麗豊実業股フン有限公司
ラクトバチルス・パラカセイNB23菌株及びそれを筋肉量の増加や抗メタボリック症候群に用いる用途
5か月前
日東精工株式会社
ねじ締め機
4か月前
株式会社北川鉄工所
回転装置
4か月前
株式会社不二越
ドリル
5か月前
日東精工株式会社
ねじ締め機
1か月前
日東精工株式会社
ねじ締め機
2か月前
日東精工株式会社
ねじ締め機
14日前
株式会社ダイヘン
溶接電源装置
3か月前
株式会社ダイヘン
溶接電源装置
2か月前
日東精工株式会社
ねじ締め装置
3か月前
株式会社ダイヘン
溶接電源装置
3か月前
日東精工株式会社
ねじ締め装置
1か月前
株式会社FUJI
工作機械
13日前
株式会社FUJI
工作機械
3か月前
株式会社FUJI
工作機械
20日前
個人
切削油供給装置
1か月前
株式会社FUJI
工作機械
3か月前
中国電力株式会社
養生シート
7日前
キヤノン電子株式会社
加工システム
2か月前
株式会社アンド
半田付け方法
5か月前
株式会社アンド
半田付け方法
5か月前
個人
型枠製造装置のフレーム
24日前
株式会社アンド
半田付け方法
1か月前
株式会社トヨコー
被膜除去方法
4か月前
大見工業株式会社
ドリル
2か月前
村田機械株式会社
レーザ加工機
4か月前
村田機械株式会社
レーザ加工機
4か月前
株式会社ツガミ
工作機械
1か月前
株式会社ダイヘン
溶接装置
3か月前
株式会社ダイヘン
溶接装置
3か月前
続きを見る
他の特許を見る