TOP
|
特許
|
意匠
|
商標
特許ウォッチ
Twitter
他の特許を見る
公開番号
2025088386
公報種別
公開特許公報(A)
公開日
2025-06-11
出願番号
2023203064
出願日
2023-11-30
発明の名称
回転装置
出願人
株式会社北川鉄工所
代理人
主分類
B23B
19/02 20060101AFI20250604BHJP(工作機械;他に分類されない金属加工)
要約
【課題】高速化に対応した主軸を冷却する流体がモータ領域に侵入しないように、より確実に流体を密封することが可能な回転装置を提供する。
【解決手段】筐体と筐体内で回転可能に設けられた中空状のスピンドルとスピンドル内に設けられたロータリジョイントとを備え、ロータリジョイントは、回転シャフトと固定スリーブとで構成される、回転装置において、スピンドルを冷却する冷却手段を備え、冷却手段は、回転シャフトとスピンドルとの境界部を冷却可能に構成され、回転シャフトは、スピンドルと一体に回転可能に固定され、回転シャフトの外周面とスピンドルの内周面との間には、シール材が軸方向両側に設けられる、回転装置。
【選択図】図2
特許請求の範囲
【請求項1】
筐体と、
前記筐体内で回転可能に設けられた中空状のスピンドルと、
該スピンドル内に設けられたロータリジョイントと、を備え、
前記ロータリジョイントは、回転シャフトと固定スリーブと、
で構成される、回転装置において、
前記スピンドルを冷却する冷却手段を備え、
該冷却手段は、前記回転シャフトと前記スピンドルとの境界部を冷却可能に構成され、
前記回転シャフトは、前記スピンドルと一体に回転可能に固定され、
前記回転シャフトの外周面と前記スピンドルの内周面との間には、シール材が軸方向両側に設けられる、
回転装置。
続きを表示(約 630 文字)
【請求項2】
請求項1に記載の回転装置であって、
前記冷却手段は、前記ロータリジョイント内の供給経路及び回収経路に連通する溝部を備え、
該溝部は、前記シール材間内で設けられている、
回転装置。
【請求項3】
請求項2に記載の回転装置であって、
前記溝部は、軸方向に沿って延在し、周方向に少なくとも2以上形成され、各々が連通された溝である、
回転装置。
【請求項4】
請求項2に記載の回転装置であって、
前記溝部は、周方向に連続して形成された円形状の溝である、
回転装置。
【請求項5】
請求項2に記載の回転装置であって、
前記溝部は、螺旋状に設けられた溝である、
回転装置。
【請求項6】
請求項3-5の何れか1項に記載の回転装置であって、
前記回転シャフトは、他端が前記筐体から後方に延在し、
前記他端に前記固定スリーブが嵌合されている、
回転装置。
【請求項7】
請求項6に記載の回転装置であって、
前記他端は、別部材から構成される、
回転装置。
【請求項8】
請求項1に記載の回転装置であって、
前記回転シャフトは外周面から突出するフランジ部を有し、
該フランジ部を介して、前記スピンドルに固定される、
回転装置。
発明の詳細な説明
【技術分野】
【0001】
本発明は、回転装置に関する。
続きを表示(約 1,300 文字)
【背景技術】
【0002】
従来、発熱の多いテーブル回転軸を冷却する技術が種々開示されている。
特許文献1には、軸受により回転自在に支持された中空状の回転シャフトと、前記回転シャフトの内側に挿入される固定シャフトと、前記回転シャフトと前記固定シャフトとの間に形成された第1冷媒流路と、を有する回転電機が開示されている。
また、特許文献2には、シャフト部に設けられて一端が冷却通路及びスリーブ隙間G2を経由してシャフト部とテーブル主軸のシャフト隙間G1に通じるとともに他端が装置本体の外部に通じる第1通路と、を有するロータリテーブル装置が開示されている。
【先行技術文献】
【特許文献】
【0003】
特開2015-104214号公報
特開2019-176551号公報
【発明の概要】
【発明が解決しようとする課題】
【0004】
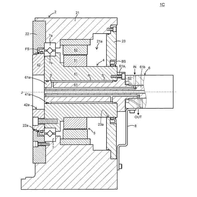
特許文献1は、回転シャフト7と固定シャフト8との間に、回転接触シール14が軸方向両側に設けられ、この回転接触シール14により、第1冷媒流路9を流れる冷媒を密封している。また、特許文献2は、テーブル主軸12の後端部外周面とフレーム後端部材23の内周面との間に環状のシール材23fが介在し、それによって、シャフト隙間G1を封止している。すなわち、特許文献1,2とも、回転体と非回転体との間にシールが設けられており、このシールにより、経路を流れる冷媒を密封することを可能としているが、回転によりシールは摩耗するおそれがある。また、摩耗によって冷媒がモータ領域に侵入し、モータにダメージを与えるおそれもある。
【0005】
本発明は、かかる事情を鑑みてなされたものであり、高速化に対応した主軸を冷却する流体がモータ領域に侵入しないように、より確実に流体を密封することが可能な回転装置を提供することを目的とする。
【課題を解決するための手段】
【0006】
開示する技術は、回転装置に関する。当該回転装置は、筐体と筐体内で回転可能に設けられた中空状のスピンドルとスピンドル内に設けられたロータリジョイントとを備え、ロータリジョイントは、回転シャフトと固定スリーブとで構成される、回転装置において、スピンドルを冷却する冷却手段を備え、冷却手段は、回転シャフトとスピンドルとの境界部を冷却可能に構成され、回転シャフトは、スピンドルと一体に回転可能に固定され、回転シャフトの外周面とスピンドルの内周面との間には、シール材が軸方向両側に設けられる。
【0007】
好ましくは、冷却手段は、ロータリジョイント内の供給経路及び回収経路に連通する溝部を備え、溝部は、シール材間内で設けられている、回転装置。
【0008】
好ましくは、溝部は、軸方向に沿って延在し、周方向に少なくとも2以上形成され、各々が連通された溝である、回転装置。
【0009】
好ましくは、溝部は、周方向に連続して形成された円形状の溝である、回転装置。
【0010】
好ましくは、溝部は、螺旋状に設けられた溝である、回転装置。
(【0011】以降は省略されています)
この特許をJ-PlatPat(特許庁公式サイト)で参照する
関連特許
株式会社北川鉄工所
炭酸化装置
2か月前
個人
タップ
5か月前
個人
フライス盤
1か月前
個人
加工機
5か月前
麗豊実業股フン有限公司
ラクトバチルス・パラカセイNB23菌株及びそれを筋肉量の増加や抗メタボリック症候群に用いる用途
5か月前
日東精工株式会社
ねじ締め機
2か月前
日東精工株式会社
ねじ締め機
1か月前
日東精工株式会社
ねじ締め機
22日前
株式会社不二越
ドリル
5か月前
株式会社北川鉄工所
回転装置
4か月前
日東精工株式会社
ねじ締め機
5か月前
日東精工株式会社
ねじ締め装置
4か月前
株式会社ダイヘン
溶接電源装置
3か月前
日東精工株式会社
ねじ締め装置
1か月前
株式会社ダイヘン
溶接電源装置
3か月前
株式会社ダイヘン
溶接電源装置
2か月前
株式会社FUJI
工作機械
28日前
株式会社FUJI
工作機械
3か月前
株式会社FUJI
工作機械
4か月前
株式会社FUJI
工作機械
21日前
個人
切削油供給装置
2か月前
日進工具株式会社
エンドミル
6か月前
株式会社富田製作所
支持構造
1日前
株式会社ダイヘン
多層盛り溶接方法
6か月前
個人
型枠製造装置のフレーム
1か月前
株式会社アンド
半田付け方法
1か月前
エフ・ピー・ツール株式会社
リーマ
6か月前
中国電力株式会社
養生シート
15日前
キヤノン電子株式会社
加工システム
2か月前
株式会社アンド
半田付け方法
5か月前
株式会社アンド
半田付け方法
5か月前
株式会社トヨコー
被膜除去方法
5か月前
大見工業株式会社
ドリル
3か月前
株式会社ツガミ
工作機械
1か月前
村田機械株式会社
レーザ加工機
5か月前
村田機械株式会社
レーザ加工機
5か月前
続きを見る
他の特許を見る