TOP
|
特許
|
意匠
|
商標
特許ウォッチ
Twitter
他の特許を見る
公開番号
2025083237
公報種別
公開特許公報(A)
公開日
2025-05-30
出願番号
2023197025
出願日
2023-11-20
発明の名称
散茶装置
出願人
株式会社寺田製作所
代理人
個人
主分類
A23F
3/06 20060101AFI20250523BHJP(食品または食料品;他のクラスに包含されないそれらの処理)
要約
【課題】籠を構成する金網等の目詰まりに着目し、籠内部の掃除を容易に行うことができる工夫がなされた散茶装置を提供する。
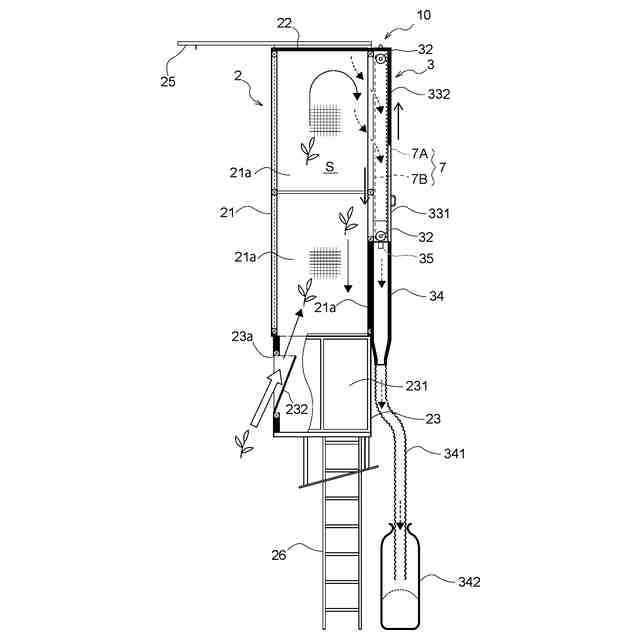
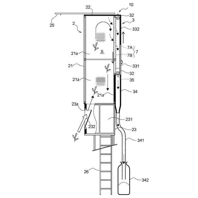
【解決手段】送風手段によって吹き込み投入された茶葉を吹き上げる吹上空間Sを画定する籠2を備えた散茶装置10において、籠2は、角筒状の通気性を有する側面部と、側面部の上端に配置された天井部22と、を有するものであり、側面部は、少なくとも1つの面に、網ユニット3が設けられたものであり、網ユニット3は、一対のチェーン31と、一対のチェーン31に対して幅方向にかけ渡された所定の開き目の網体7と、一対のチェーン31を循環走行させる走行機構と、を有するものであり、網体7は、一対のチェーン31が循環走行することによって吹上空間Sに面する位置と、籠2の外側に露出する位置とを循環移動可能なものである。
【選択図】図4
特許請求の範囲
【請求項1】
碾茶炉等に用いられ、送風手段によって吹き込み投入された茶葉を吹き上げる吹上空間を画定する籠を備えた散茶装置において、
前記籠は、角筒状の通気性を有する側面部と、該側面部の上端に配置された天井部と、を有するものであり、
前記側面部は、少なくとも1つの面に、網ユニットが設けられたものであり、
前記網ユニットは、
それぞれが無端状に構成され、幅方向の両側にそれぞれ配置された一対の無端状部材と、
前記一対の無端状部材に対して幅方向にかけ渡された所定の開き目の網体と、
前記一対の無端状部材を循環走行させる走行機構と、を有するものであり、
前記網体は、前記一対の無端状部材が循環走行することによって前記吹上空間に面する位置と、前記籠の外側に露出する位置とを循環移動可能なものであることを特徴とする散茶装置。
続きを表示(約 590 文字)
【請求項2】
前記網ユニットは、循環移動方向に配置された、前記開き目が異なる複数の前記網体を有するものであることを特徴とする請求項1記載の散茶装置。
【請求項3】
前記網ユニットは、第1の網体と、該第1の網体よりも前記開き目が大きい第2の網体と、を有するものであり、
前記第1の網体と前記第2の網体は、循環移動方向において間隔をあけて配置されたものであることを特徴とする請求項2記載の散茶装置。
【請求項4】
前記網ユニットは、
前記網体が循環移動する軌道の外側に着脱自在に設けられ、該網体からの通気を阻止する閉塞部材と、
前記吹上空間に面する位置の前記網体を通過した微粉を回収する回収手段と、を有するものであることを特徴とする請求項1~3のうちいずれか1項記載の散茶装置。
【請求項5】
前記送風手段は、前記吹上空間に向けて斜め上方に吹き込むことで茶葉を投入するものであり、
前記網ユニットは、前記送風手段が吹き込む方向と対向する面に設けられたものであることを特徴とする請求項1又は2記載の散茶装置。
【請求項6】
前記網ユニットは、前記網体が循環移動する経路に設けられ、該網体の目に詰まった茶埃等を除去する除去部材を有するものであることを特徴とする請求項1又は2記載の散茶装置。
発明の詳細な説明
【技術分野】
【0001】
本発明は、冷却するとともに、開葉された状態で茶葉を碾茶炉等に投入する散茶装置に関するものである。
続きを表示(約 2,200 文字)
【背景技術】
【0002】
碾茶とは、被覆した茶葉を蒸した後、揉まずに乾燥したものであり、抹茶の原料となる。形状は葉が展開して透き通るように薄く、色沢は鮮緑色、香味は独特の炉の香りがある。この碾茶は、蒸熱、散茶冷却、乾燥、分離、仕上げ乾燥の各工程を実施することで製造される。乾燥は、コンベア等の搬送手段によって搬送される茶葉を、放射伝熱と自然対流伝熱によって乾燥させる碾茶炉や、熱風を強制通風させて乾燥させる碾茶炉(連続対流伝熱式乾燥機)等で実施され、この碾茶炉の前には、碾茶炉に茶葉を投入する散茶装置を配置する(例えば、特許文献1や特許文献2等参照)。
【0003】
散茶装置は、冷却、開葉(茶葉の表面水分による茶葉同士の付着や折れ等をほぐして広げる)、投入を目的としたものである。具体的には、通気性を有する、例えば金網等で構成された角筒状の側面部と、側面部の上端に配置された天井部とからなる籠を備えたものである。この籠に茶葉を投入しつつブロア等の送風手段で上方に吹き上げ、自然落下した茶葉を碾茶装置のコンベア等に投入する。なお、散茶装置の前には、袋状のネットを高さ数mほどのタワー状の枠に吊す、いわゆる「行灯」といわれる吹上げかやを、1~数本設けることが一般的である。これらの吹上げかやに順に茶葉を投入しつつブロア等の送風手段で上方に吹き上げ、最後の吹上げかやを通った茶葉が、散茶装置から碾茶炉に投入される。
【0004】
ここで、散茶装置から茶葉どうしが付着した状態で碾茶炉に投入されると、付着した茶葉と茶葉の間に存在する茶葉の表面水分が乾燥の初期工程で乾ききらず、それ以外の乾燥が進んだ茶葉との乾燥差(乾燥ムラ)が生じる。また、1枚ずつの茶葉を投入するときも、先に投入した茶葉の上に重なって投入すると、上記同様に乾燥ムラが生じる。いずれも、茶葉が重なったまま乾燥工程に移行すると、乾燥ムラが茶葉表面の退色の原因になる。重なった部分は黒ずみ、製品がくすんだ色となり、鮮やかな緑の抹茶の弊害となる。重なった部分が多いと茶葉が乾きにくく、重なった部分を乾かすために碾茶炉の乾燥室内の温度を高くして、乾燥を行うことになる。その場合、重ならずに乾燥が進んでいる部分が過乾燥となり、この過乾燥も退色又は香気を損失する原因となる。
【0005】
このため、碾茶炉内の幅いっぱい、すなわち碾茶炉のコンベア等の幅いっぱいに、茶葉を一葉一葉はなして投入することが理想とされ、特許文献1記載の散茶装置のように、それを実現するための提案が様々なされている。具体的には、特許文献1記載の散茶装置では、コンベア等の幅方向に対する送風分布を調整可能な送風手段を採用し、茶葉の吹き上げ分布を略均等にして、コンベア等に対して茶層を均一にしようと試みている。
【0006】
また、散茶装置の金網等で構成された側面部を空気が通過する際に、いわゆる茶埃等で目が詰まりやすく、頻繁に掃除を行わないと金網等の通気性が損なわれ、茶葉の吹き上げにも問題が生じてしまう虞がある。このため、特許文献2や特許文献3記載の散茶装置のように、清掃性の向上等の他の観点に着目した提案もなされている。
【0007】
具体的には、特許文献2記載の散茶装置は、内胴と、この内胴の外側に配置される外胴とによって籠を構成し、内胴と外胴との境界面を、他の面よりも網目の粗い通気網によって形成している。そして、内胴と外胴とを着脱自在とすることによって、これらの境界面を容易に露出させることができるように構成している。これにより、境界面に引っかかった茶葉の除去や掃除等のメンテナンス性の向上を図っている。
【0008】
また、特許文献3記載の散茶装置は、籠の側面を、撓んで振るい落とし動作可能なほどに弾性を有する素材で形成されたネットで構成している。これにより、ネットを揺らしたり、叩くことによって、側面に張り付いてしまった茶葉を落下させるようにして、側面に張り付いた蒸葉等を取り除く作業等を省くことができるように試みている。
【先行技術文献】
【特許文献】
【0009】
特開2021-114951号
特開2018-161096号
特開平07-241166号
【発明の概要】
【発明が解決しようとする課題】
【0010】
しかしながら、特許文献2記載の散茶装置のように、内胴から外胴を取り外し、適切な場所に置いて掃除等を行い、再び内胴に外胴を取り付ける作業は、籠の高さが5~7m程度と大型のものであることからも非常に煩雑となる。また、フレームや天井等に内胴や外胴を吊り下げた状態で掃除等を行う場合であっても、高所まで設置されているため、時に危険な作業となる場合がある。特に、取り外し等ができない一般的な籠では、籠内部の掃除は容易ではない。また、特許文献3記載の散茶装置では、側面を構成する金網等に張り付いた茶葉はある程度除去できるものの、茶埃等の目詰まりを除去することは難しい。このため、金網等の通気性を確保するために、煩雑で時に危険となる籠内部の掃除が依然として必要になる。
(【0011】以降は省略されています)
この特許をJ-PlatPat(特許庁公式サイト)で参照する
関連特許
個人
ペットフード
6か月前
個人
健康促進霊芝茶
1か月前
個人
古代食品塩梅醤
5か月前
個人
血圧降下用組成物
6か月前
個人
焼き魚の製造方法
7か月前
個人
ジャム
4か月前
不二製油株式会社
グミ類
1か月前
不二製油株式会社
組成物
14日前
個人
具入り餅食品
5か月前
ライソン株式会社
焙煎機
4か月前
不二製油株式会社
油性食品
25日前
不二製油株式会社
加工食品
1か月前
個人
ヨーグルト等の発酵器
1か月前
不二製油株式会社
卵代替素材
5か月前
株式会社東洋新薬
飲料
15日前
池田食研株式会社
微粉状食品
4か月前
第一工業製薬株式会社
組成物
6か月前
不二製油株式会社
油脂組成物
1か月前
株式会社東洋新薬
経口組成物
今日
第一工業製薬株式会社
組成物
6か月前
株式会社東洋新薬
経口組成物
2か月前
株式会社ソディック
計量装置
4か月前
株式会社東洋新薬
経口組成物
4か月前
不二製油株式会社
油脂組成物
2か月前
株式会社ソディック
計量装置
4か月前
不二製油株式会社
光照射油脂
14日前
池田食研株式会社
風味改善剤
3か月前
奥野製薬工業株式会社
処理方法
17日前
不二製油株式会社
チーズ様食品
4か月前
有限会社丸繁商店
メカブ
6か月前
東ソー株式会社
食品品質保持剤
2か月前
有限会社丸繁商店
メカブ
6か月前
日澱化學株式会社
チーズ様食品
7か月前
アサヒ飲料株式会社
飲料
4か月前
不二製油株式会社
異風味抑制剤
5か月前
第一工業製薬株式会社
固形食品
7か月前
続きを見る
他の特許を見る