TOP
|
特許
|
意匠
|
商標
特許ウォッチ
Twitter
他の特許を見る
10個以上の画像は省略されています。
公開番号
2025086033
公報種別
公開特許公報(A)
公開日
2025-06-06
出願番号
2023199812
出願日
2023-11-27
発明の名称
計量装置
出願人
株式会社ソディック
代理人
主分類
A23L
7/109 20160101AFI20250530BHJP(食品または食料品;他のクラスに包含されないそれらの処理)
要約
【課題】計量部に過剰に紐状食品が供給されることを防止し、高精度の計量を実現した計量装置を提供する。
【解決手段】所定の投入位置から供給された紐状食品を水とともに貯留するとともに、タンク出口から排出するメインタンク2と、タンク出口に接続され、紐状食品を下方に排出する排出部4と、排出部4から排出された紐状食品Sを所定量計量する計量部5と、紐状食品Sを水とともに貯留するバッファタンク3と、メインタンク2からバッファタンク3へと紐状食品を移送可能に構成されたバッファ配管35と、バッファタンク3からメインタンク2へと紐状食品を移送可能に構成された返送配管36と、を備える、計量装置1が提供される。
【選択図】図1
特許請求の範囲
【請求項1】
所定の投入位置から供給された紐状食品を水とともに貯留するとともに、タンク出口から排出するメインタンクと、
前記タンク出口に接続され、前記紐状食品を下方に排出する排出部と、
前記排出部から排出された前記紐状食品を所定量計量する計量部と、
前記紐状食品を水とともに貯留するバッファタンクと、
前記メインタンクから前記バッファタンクへと前記紐状食品を移送可能に構成されたバッファ配管と、
前記バッファタンクから前記メインタンクへと前記紐状食品を移送可能に構成された返送配管と、を備える、計量装置。
続きを表示(約 660 文字)
【請求項2】
前記バッファ配管は、前記メインタンクに回動自在に接続されるとともに、頂部が前記メインタンクの水面よりも上に位置する断水位置と、前記頂部が前記メインタンクの水面よりも下に位置する通水位置と、の間で回動可能に構成され、
前記バッファ配管を回動可能に構成されたバッファ配管駆動装置をさらに備える、請求項1に記載の計量装置。
【請求項3】
前記頂部に接続された空気導入弁をさらに備える、請求項2に記載の計量装置。
【請求項4】
前記バッファタンクに設けられ、前記返送配管の開口に向かう流体の噴流を形成する返送ノズルをさらに備える、請求項1に記載の計量装置。
【請求項5】
前記流体は水からなる、請求項4に記載の計量装置。
【請求項6】
前記メインタンク内の前記紐状食品の量を測定する測定センサをさらに備える、請求項1に記載の計量装置。
【請求項7】
前記測定センサは、所定領域内において前記紐状食品が占める面積を測定する画像センサである、請求項6に記載の計量装置。
【請求項8】
前記メインタンクは、前記投入位置側から前記タンク出口に向かって下方に傾斜している傾斜板を含んで構成される、請求項1に記載の計量装置。
【請求項9】
前記紐状食品は、茹麺である、請求項1に記載の計量装置。
【請求項10】
前記紐状食品の比重は、1より大きい、請求項1に記載の計量装置。
発明の詳細な説明
【技術分野】
【0001】
本発明は、計量装置に関する。特に、紐状食品の容積計量装置に関する。
続きを表示(約 1,600 文字)
【背景技術】
【0002】
紐状食品を貯留するタンクと、タンク出口に接続され紐状食品を下方に排出する排出部と、排出部から排出された紐状食品を容積計量する計量部と、を備える計量装置が公知である。このような計量装置においては、排出部や計量部に多くの紐状食品が蓄積すると、計量誤差が大きくなることが分かっている。紐状食品の蓄積により、下方の紐状食品が上方の紐状食品によって圧され、隙間が減少して紐状食品の密度が上昇することが原因であると推測される。
【0003】
計量の安定化のため、紐状食品は少しずつ計量部へ供給されることが好ましい。特許文献1は、ホッパー内に旋回水流を形成して麺線の供給量を制限する計量装置を開示している。
【先行技術文献】
【特許文献】
【0004】
実特3145906号公報
【発明の概要】
【発明が解決しようとする課題】
【0005】
より高精度の計量を実現させる上で、紐状食品の計量部への供給量を安定的に制限することが好ましい。本発明はこのような事情に鑑みてなされたものであり、計量部に過剰に紐状食品が供給されることを防止し、高精度の計量を実現した計量装置を提供することを目的とする。
【課題を解決するための手段】
【0006】
本発明によれば、所定の投入位置から供給された紐状食品を水とともに貯留するとともに、タンク出口から排出するメインタンクと、タンク出口に接続され、紐状食品を下方に排出する排出部と、排出部から排出された紐状食品を所定量計量する計量部と、紐状食品を水とともに貯留するバッファタンクと、メインタンクからバッファタンクへと紐状食品を移送可能に構成されたバッファ配管と、バッファタンクからメインタンクへと紐状食品を移送可能に構成された返送配管と、を備える、計量装置が提供される。
【発明の効果】
【0007】
本発明の計量装置は、メインタンクとバッファタンクを備え、メインタンクとバッファタンク間で紐状食品を移送することにより、メインタンク内の紐状食品の量をある程度一定に保つことができるよう構成される。これにより、メインタンクから排出部を介して計量部に送られる紐状食品の量を抑制できるので、より安定して計量を行う事ができる。
【図面の簡単な説明】
【0008】
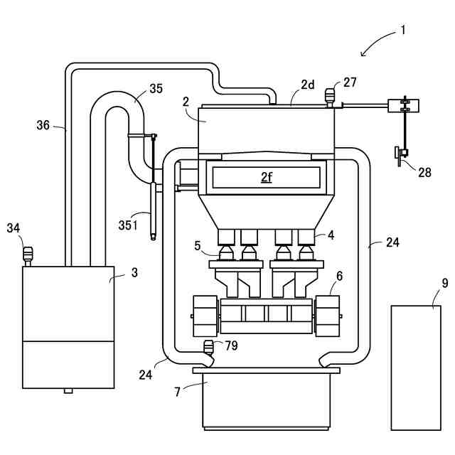
本実施形態の計量装置の概略構成図である。
メインタンク、排出部、計量部、搬送部および貯水槽の概略構成図である。
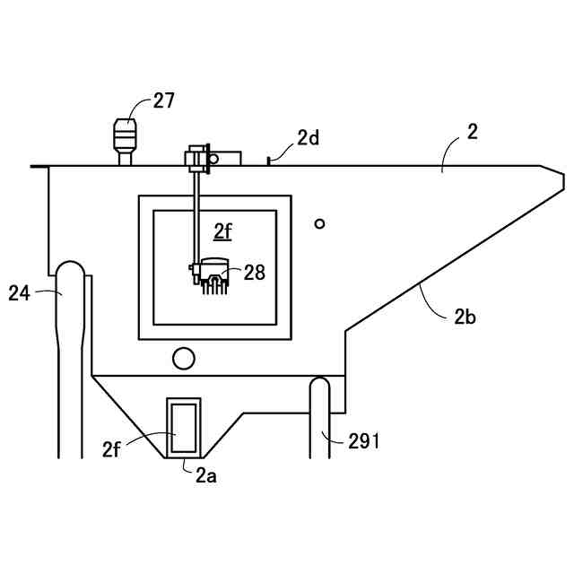
メインタンクの上面図である。
メインタンクの側面図である。
供給量制限ノズル周辺の拡大図である。
バッファタンクの概略構成図である。
バッファ配管が断水位置にある状態を示す。
バッファ配管が通水位置にある状態を示す。
返送ノズル周辺の拡大図である。
排出部および計量部の拡大図である。
排出部および計量部の拡大図である。
本実施形態の配管系統図である。
【発明を実施するための形態】
【0009】
以下、図面を用いて本発明の実施形態について説明する。以下に説明される各種変形例は、それぞれ任意に組み合わせて実施することができる。図面においては、視認性を考慮し、一部の構成要素が省略、変形、または簡略化して示されていることがある。
【0010】
本実施形態の計量装置1は、紐状食品Sの容積計量を行う装置である。紐状食品Sは、典型的には、うどん、そば、中華麺、ロングパスタ等の麺類、特に茹麺であるが、紐状の形状を有するその他の食品であってもよい。また、紐状食品Sを水によって移送するにあたり、紐状食品Sは自然に水に沈むものが好ましい。換言すれば、紐状食品Sの比重は、1より大きいことが好ましい。
(【0011】以降は省略されています)
この特許をJ-PlatPat(特許庁公式サイト)で参照する
関連特許
株式会社ソディック
三次元造形物の製造方法
1日前
個人
古代食品塩梅醤
5か月前
個人
健康促進霊芝茶
1か月前
不二製油株式会社
グミ類
1か月前
個人
ジャム
5か月前
不二製油株式会社
組成物
15日前
ライソン株式会社
焙煎機
4か月前
不二製油株式会社
加工食品
1か月前
不二製油株式会社
油性食品
26日前
個人
ヨーグルト等の発酵器
1か月前
株式会社東洋新薬
経口組成物
2か月前
池田食研株式会社
微粉状食品
4か月前
不二製油株式会社
卵代替素材
5か月前
株式会社ソディック
計量装置
4か月前
株式会社東洋新薬
飲料
16日前
不二製油株式会社
油脂組成物
1か月前
株式会社ソディック
計量装置
4か月前
株式会社東洋新薬
経口組成物
4か月前
不二製油株式会社
光照射油脂
15日前
株式会社東洋新薬
経口組成物
1日前
不二製油株式会社
油脂組成物
2か月前
池田食研株式会社
風味改善剤
3か月前
アサヒ飲料株式会社
飲料
4か月前
東ソー株式会社
食品品質保持剤
2か月前
不二製油株式会社
チーズ様食品
4か月前
奥野製薬工業株式会社
処理方法
18日前
SoPros株式会社
経口養毛剤
5か月前
株式会社エポック社
絞出具
18日前
東洋ライス株式会社
搗精米
1か月前
日本メナード化粧品株式会社
飲料
1か月前
不二製油株式会社
被覆用油性食品
17日前
株式会社ソディック
食品搬送装置
2か月前
個人
発酵あんこの製造方法
9日前
株式会社寺田製作所
散茶装置
4か月前
不二製油株式会社
カカオ含有飲食物
16日前
個人
廃棄食品の資源化法とその装置
2か月前
続きを見る
他の特許を見る