TOP
|
特許
|
意匠
|
商標
特許ウォッチ
Twitter
他の特許を見る
公開番号
2025084292
公報種別
公開特許公報(A)
公開日
2025-06-03
出願番号
2023198077
出願日
2023-11-22
発明の名称
溶射用ランス
出願人
黒崎播磨株式会社
代理人
弁理士法人英和特許事務所
主分類
C23C
4/12 20160101AFI20250527BHJP(金属質材料への被覆;金属質材料による材料への被覆;化学的表面処理;金属質材料の拡散処理;真空蒸着,スパッタリング,イオン注入法,または化学蒸着による被覆一般;金属質材料の防食または鉱皮の抑制一般)
要約
【課題】分割型のランスにおいて先端側ランスを単独で先に挿入する場合に、その先端側ランスをガス冷却することのできる溶射用ランスを提供する。
【解決手段】耐火性粉体及び可燃性粉体を含む原料粉体と、支燃性のキャリアガスとを混合した混合物Cを噴射し燃焼させて耐火組成物を形成する溶射装置に用いられる溶射用ランスAである。溶射用ランスAは混合物Cを噴射する噴射部11を先端側に有する先端側ランス1と、この先端側ランス1の基端部に取り外し自在に接続される基端側ランス2とを含む。先端側ランス1は、混合物Cを流すための内管12と、この内管12の外側に位置する外管13とを含む。この構成において先端側ランス1の基端部又はその近傍から、当該先端側ランス1を冷却するためのガスGを内管12と外管13との間の隙間14に導入する。
【選択図】図1
特許請求の範囲
【請求項1】
耐火性粉体及び可燃性粉体を含む原料粉体と、支燃性のキャリアガスとを混合した混合物を噴射し燃焼させて耐火組成物を形成する溶射装置に用いられる溶射用ランスであって、
前記混合物を噴射する噴射部を先端側に有する先端側ランスと、この先端側ランスの基端部に取り外し自在に接続される基端側ランスとを含み、
前記先端側ランスは、前記混合物を流すための内管と、この内管の外側に位置する外管とを含み、
前記先端側ランスの基端部又はその近傍から、当該先端側ランスを冷却するためのガスを前記内管と前記外管との間の隙間に導入することを特徴とする溶射用ランス。
続きを表示(約 160 文字)
【請求項2】
前記基端側ランスの肉厚が、前記先端側ランスの内管の肉厚の1倍以上9倍以下である、請求項1に記載の溶射用ランス。
【請求項3】
前記基端側ランスの長さが0.5m以上5m以下であり、前記先端側ランスを接続したときの全長が5m超11m以下である、請求項1又は2に記載の溶射用ランス。
発明の詳細な説明
【技術分野】
【0001】
本発明は、耐火性粉体及び可燃性粉体を含む原料粉体と、支燃性のキャリアガスとを混合した混合物を噴射し燃焼させて耐火組成物を形成する溶射装置に用いられる溶射用ランスに関する。なお、本明細書では「溶射用ランス」を単に「ランス」ともいう。
続きを表示(約 2,000 文字)
【背景技術】
【0002】
かかる溶射装置は、コークス炉等の窯炉の炉壁補修に広く使用されている。ところで、例えばコークス炉の炭化室の炉壁補修において、窯口から奥側(炭化室中央部)の補修を行う際は、窯口から炭化室中央部までの距離(例えば6~10m)に見合う長尺のランスを用いる必要がある。しかし、このような長尺のランスを用いて、窯口から炭化室中央部の補修を行う場合、ランスの大部分がコークス炉の炭化室内に挿入され、特にランスの先端側が炭化室中央部の炉熱により加熱される。ランスの先端側が異常に加熱されると、逆火(混合物の搬送方向と逆方向へ発火が進む現象)を生じる危険性が高くなる。そのため、特にコークス炉補修用のランスにおいてはガス冷却式のものが使用されることが多い。
【0003】
従来、ガス冷却式のランスとしては、混合物を流すための内管と、この内管の外側に位置する外管とを含む二重管構造を有し、この二重管の基端部から冷却用のガスを内管と外管との間の隙間に導入するものが知られており、特許文献1には一本の二重管(一本物)で構成したランスが開示されている。また特許文献2には、一本物のランスでは補修箇所であるコークス炉までの持ち運びや不使用時の保管に不便があるとの問題認識から、ランスを長手方向に二分割し、溶射作業をする際に再接続する分割型のランスが開示されている。
【0004】
しかし、特許文献2に開示されている分割型のランスは、その基端部から冷却用のガスを導入する構成であることから、二分割したランスのうち先端側のランスを単独で先に挿入する場合に、その先端側ランスをガス冷却することができないという問題がある。すなわち、特許文献2の分割型のランスでは、二分割したランス(先端側ランスと基端側ランス)を再接続した後でなければ先端側ランスをガス冷却することができない。そのため、先端側のランスを単独で先に挿入する場合に、その先端側ランスが異常に加熱されて逆火を生じるおそれがある。
【先行技術文献】
【特許文献】
【0005】
特開2012-12535号公報
特許第6621339号公報
【発明の概要】
【発明が解決しようとする課題】
【0006】
本発明が解決しようとする課題は、分割型のランスにおいて先端側ランスを単独で先に挿入する場合に、その先端側ランスをガス冷却することのできる溶射用ランスを提供することにある。
【課題を解決するための手段】
【0007】
本発明の一観点によれば、次の溶射用ランスが提供される。
耐火性粉体及び可燃性粉体を含む原料粉体と、支燃性のキャリアガスとを混合した混合物を噴射し燃焼させて耐火組成物を形成する溶射装置に用いられる溶射用ランスであって、
前記混合物を噴射する噴射部を先端側に有する先端側ランスと、この先端側ランスの基端部に取り外し自在に接続される基端側ランスとを含み、
前記先端側ランスは、前記混合物を流すための内管と、この内管の外側に位置する外管とを含み、
前記先端側ランスの基端部又はその近傍から、当該先端側ランスを冷却するためのガスを前記内管と前記外管との間の隙間に導入することを特徴とする溶射用ランス。
【発明の効果】
【0008】
本発明によれば、先端側ランスの基端部又はその近傍から、当該先端側ランスを冷却するためのガスを導入することから、先端側ランスを単独で先に挿入する場合にその先端側ランスをガス冷却することができる。
【図面の簡単な説明】
【0009】
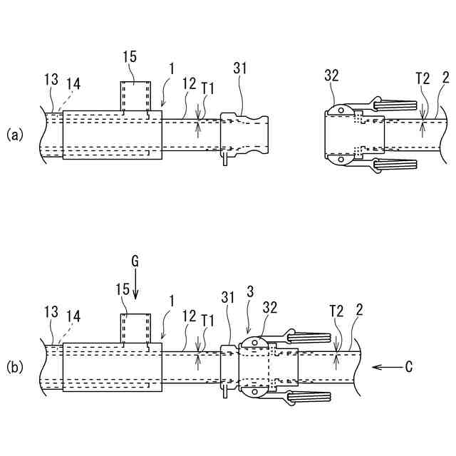
本発明の一実施形態である溶射用ランスの使用状態を概念的に示す説明図。
先端側ランスと基端側ランスとの接続部の構成例を示し、(a)は接続前、(b)は接続後の状態を示す図。
【発明を実施するための形態】
【0010】
図1に、本発明の一実施形態である溶射用ランスの使用状態を概念的に示している。同図に示す溶射用ランスAは、コース炉の炭化室Bの炉壁補修用の溶射装置に使用されるもので、先端側ランス1と、先端側ランス1の基端部に取り外し自在に接続される基端側ランス2とを含む。基端側ランス2の基端部には、耐火性粉体及び可燃性粉体(例えば金属粉末)を含む原料粉体と、支燃性のキャリアガス(酸素ガス)とを混合した混合物Cを供給するための混合物供給ホースDが接続される。また、先端側ランス1は、混合物Cを噴射する噴射部11を先端側に有する。そして、噴射部11から噴射された混合物Cが燃焼し溶融することにより、炭化室Bの炉壁に付着して耐火組成物が形成される。
(【0011】以降は省略されています)
この特許をJ-PlatPat(特許庁公式サイト)で参照する
関連特許
黒崎播磨株式会社
溶射装置
1か月前
黒崎播磨株式会社
目地材のシール性評価方法
28日前
黒崎播磨株式会社
プレートれんがの製造方法
28日前
黒崎播磨株式会社
高炉出銑孔充填用マッド材
29日前
黒崎播磨株式会社
高炉出銑孔充填用マッド材
2か月前
黒崎播磨株式会社
シリカ質キャスタブル耐火物
1か月前
黒崎播磨株式会社
連続鋳造用ストッパーの製造方法
1か月前
黒崎播磨株式会社
真空脱ガス炉用マグネシアカーボンれんがの製造方法
2か月前
個人
フッ素樹脂塗装鋼板の保管方法
3か月前
株式会社京都マテリアルズ
めっき部材
1か月前
株式会社カネカ
製膜装置
1か月前
株式会社カネカ
製膜装置
1か月前
トヨタ自動車株式会社
治具
9日前
株式会社KSマテリアル
防錆組成物
4か月前
株式会社三愛工業所
アルミニウム材
5か月前
株式会社オプトラン
蒸着装置
6か月前
エドワーズ株式会社
真空排気システム
28日前
日本化学産業株式会社
複合めっき皮膜
3か月前
台灣晶技股ふん有限公司
無電解めっき法
2か月前
東京エレクトロン株式会社
成膜方法
1か月前
日東電工株式会社
積層体の製造方法
5か月前
JFEスチール株式会社
鋼部品
3か月前
株式会社カネカ
気化装置及び製膜装置
29日前
株式会社内村
防食具、防食具の設置方法
1か月前
株式会社アルバック
マスクユニット
29日前
TOTO株式会社
構造部材
29日前
住友重機械工業株式会社
成膜装置
5か月前
住友重機械工業株式会社
成膜装置
4か月前
東京エレクトロン株式会社
基板処理装置
6か月前
DOWAサーモテック株式会社
浸炭方法
6か月前
信越半導体株式会社
真空蒸着方法
5か月前
東京エレクトロン株式会社
基板処理装置
7か月前
東京エレクトロン株式会社
基板処理装置
5か月前
株式会社アルバック
基板ステージ装置
1か月前
黒崎播磨株式会社
溶射装置
1か月前
日本コーティングセンター株式会社
炭化ホウ素被膜
29日前
続きを見る
他の特許を見る