TOP
|
特許
|
意匠
|
商標
特許ウォッチ
Twitter
他の特許を見る
公開番号
2025144187
公報種別
公開特許公報(A)
公開日
2025-10-02
出願番号
2024043849
出願日
2024-03-19
発明の名称
基板ステージ装置
出願人
株式会社アルバック
代理人
弁理士法人青莪
主分類
C23C
14/50 20060101AFI20250925BHJP(金属質材料への被覆;金属質材料による材料への被覆;化学的表面処理;金属質材料の拡散処理;真空蒸着,スパッタリング,イオン注入法,または化学蒸着による被覆一般;金属質材料の防食または鉱皮の抑制一般)
要約
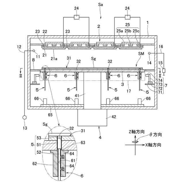
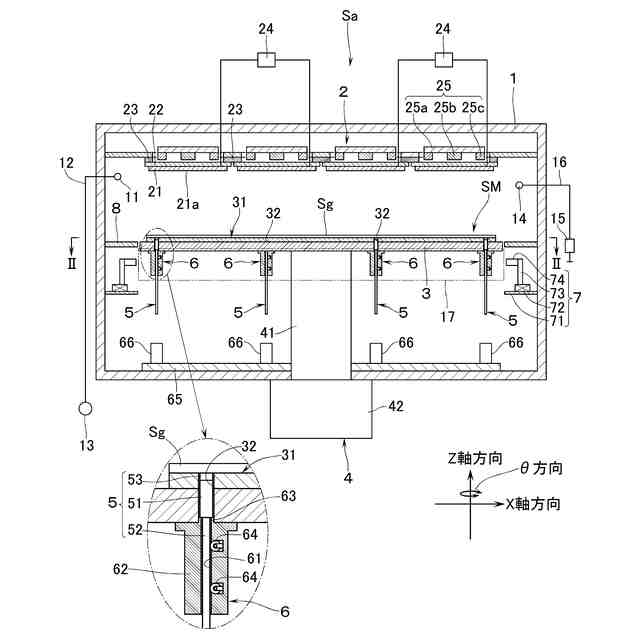
【課題】真空チャンバ内に配置されて基板を位置決め支持する基板ステージ装置を、そのステージ本体の正規位置に基板を常時設置できるように構成する。
【解決手段】上面に基板Sgが設置されるステージ本体3と、ステージ本体に形成した上下方向の貫通孔32に夫々挿設される支持ロッド5と、基板受渡位置と基板処理位置との間で支持ロッドに対してステージ本体を上下方向に相対移動させる移動手段4とを備える。上下方向にて基板受渡位置と基板処理位置との間のアライメント位置にて基板の外側面複数箇所を夫々押圧することで、XY平面内での移動とθ方向への回転との少なくとも一方でステージ本体に対する基板位置を修正する位置修正手段7を備える。基板処理位置にて位置修正手段がステージ本体の下方に位置するように構成する。
【選択図】図1
特許請求の範囲
【請求項1】
真空チャンバ内に配置されて基板を位置決め支持する基板ステージ装置において、
上面に基板が設置されるステージ本体と、ステージ本体に形成した上下方向にのびる複数個の貫通孔に夫々挿設される支持ロッドと、各支持ロッドの上端部がステージ本体から突出する基板受渡位置と各支持ロッドの上端部が貫通孔に没入する基板処理位置との間で支持ロッドに対してステージ本体を上下方向に相対移動させる移動手段とを備え、
基板受渡位置にて各支持ロッドで基板を支持した状態からステージ本体を上方に相対移動させたときに基板の中央部がステージ本体の上面に接する前の位置をアライメント位置とし、基板平面をXY平面並びにXY平面に直交する軸線回りの回転方向をθ方向として、アライメント位置にて基板の外側面複数箇所を押圧することで、XY平面内での移動とθ方向への回転との少なくとも一方でステージ本体に対する基板位置を修正する位置修正手段を更に備え、基板処理位置にて位置修正手段がステージ本体の下方に位置するように構成したことを特徴とする基板ステージ装置。
続きを表示(約 360 文字)
【請求項2】
前記貫通孔の下端縁を囲うようにして前記ステージ本体の下面に垂設され、内部を挿通する前記支持ロッドの相対移動を案内するガイド部材を更に備え、ガイド部材が、前記基板受渡位置から前記基板処理位置にステージ本体を上方に相対移動させたときに貫通孔からの支持ロッドの脱落を防止するストッパ部材を備えることを特徴とする請求項1記載の基板ステージ装置。
【請求項3】
前記支持ロッドの上端面は、上方に凸状の形状であることを特徴とする請求項1または請求項2記載の基板ステージ装置。
【請求項4】
前記支持ロッドの上端に、前記支持ロッドと異種材料製のキャップ体が前記支持ロッドに対して回り止めされた状態で取り付けられることを特徴とする請求項1または請求項2記載の基板ステージ装置。
発明の詳細な説明
【技術分野】
【0001】
本発明は、真空チャンバ内に配置されて基板を位置決め支持する基板ステージ装置に関する。
続きを表示(約 2,900 文字)
【背景技術】
【0002】
フラットパネルディスプレイの製造工程においては、ガラス基板(以下、「基板」という)の表面に各種の薄膜を成膜する工程があり、このような成膜工程には、例えばスパッタリング装置が従来から用いられている(例えば、特許文献1,2参照)。一方、成膜対象としての基板は、世代が進むにつれて大型化し(例えば、G8.7世代では2300mm×2700mm)、その板厚も薄い(例えば、0.5mm)ものが用いられる。このような基板に対して所謂デポダウン方式で成膜する場合、搬送ロボットで搬送されてくる基板を、真空チャンバ内に配置される基板ステージ装置のステージ本体に受け渡して設置する必要がある。このような場合、例えば、ステージ本体に上下方向にのびる複数個の貫通孔を形成し、各貫通孔に所定長さの支持ロッドを夫々挿設する。そして、各支持ロッドに対してステージ本体を下方への相対移動させることで各支持ロッドの上端部をステージ本体から突出させ(基板受渡位置)、各支持ロッドの上端面で基板が支持されるように搬送ロボットから基板を一旦受け取る。この状態からステージ本体を上方に相対移動させることで基板がステージ本体の上面に設置される(基板処理位置)。
【0003】
ところで、ステージ本体には、基板を吸着保持する静電チャック機構が組み付けられ、また、成膜時に基板を加熱または冷却する機構が組み付けられる場合がある。このとき、ステージ本体に形成する貫通孔の孔径を大きくすると、加熱または冷却時に基板面内に温度むらが生じる等の不具合が生じるので、貫通孔の孔径を可及的に小さくせざるを得ず(例えば、6mm以下)、それに応じて支持ロッドの径も然程大きくできない。そのため、基板受渡位置にて各支持ロッドの上端面で基板を支持した際に、各支持ロッドが座屈してステージ本体に対して基板が位置ずれを起こし、これに起因してステージ本体の正規位置に基板を設置できないという問題がある。このような場合、例えば、ステージ本体の上方に成膜範囲を規制するマスクプレートを予め設置し、基板に対してマスクプレート越しに成膜するような場合、成膜範囲がずれて良好な成膜が阻害されてしまう。
【先行技術文献】
【特許文献】
【0004】
特開2017-133065号公報
特開2023-57218号公報
【発明の概要】
【発明が解決しようとする課題】
【0005】
本発明は、以上の点に鑑み、ステージ本体の正規位置に基板を常時設置できるようにした基板ステージ装置を提供することをその課題とするものである。
【課題を解決するための手段】
【0006】
上記課題を解決するために、真空チャンバ内に配置されて基板を位置決め支持する本発明の基板ステージ装置は、上面に基板が設置されるステージ本体と、ステージ本体に形成した上下方向にのびる複数個の貫通孔に夫々挿設される支持ロッドと、各支持ロッドの上端部がステージ本体から突出する基板受渡位置と各支持ロッドの上端部が貫通孔に没入する基板処理位置との間で支持ロッドに対してステージ本体を上下方向に相対移動させる移動手段とを備え、基板受渡位置にて各支持ロッドで基板を支持した状態からステージ本体を上方に相対移動させたときに基板の中央部がステージ本体の上面に接する前の位置をアライメント位置とし、基板平面をXY平面並びにXY平面に直交する軸線回りの回転方向をθ方向として、アライメント位置にて基板の外側面複数箇所を夫々押圧することで、XY平面内での移動とθ方向への回転との少なくとも一方でステージ本体に対する基板位置を修正する位置修正手段を更に備え、基板処理位置にて位置修正手段がステージ本体の下方に位置するように構成したことを特徴とする。
【0007】
本発明によれば、搬送ロボットで搬送されてくる基板をステージ本体に設置する場合、基板受渡位置にて、各支持ロッドの上端面で基板が支持されるように搬送ロボットから基板を一旦受け取る。このとき、基板の自重による撓み等を考慮して、ステージ本体の中央からその外縁側に向かうに従い、ステージ本体からの各支持ロッドの突出量が次第に大きくなるようにしてもよい。この状態では、各支持ロッドに生ずる座屈等によりXY平面にてステージ本体に対して基板が位置ずれを起こす場合がある。そして、各支持ロッドに対してステージ本体を上方に相対移動させ、基板の中央部がステージ本体の上面に接する前(直前)のアライメント位置に到達すると、相対移動を一旦停止する。
【0008】
アライメント位置では、基板の外側面複数箇所を適宜押圧することで、各支持ロッドの上端面を摺動させてステージ本体に対する基板位置が修正される(位置合わせされる)。このとき、基板のXY平面における移動量やθ方向への回転角は予め実験的に求めておくことができる。他方、真空チャンバ内にCCDカメラなどの撮像手段を設け、アライメント位置にある基板を撮像し、そのときの撮像データを基に基板の移動量や回転角をその都度決定することもできる。基板位置が修正されると、ステージ本体を上方に更に相対移動させる。すると、各支持ロッドの上端部が貫通孔に没入した基板処理位置に到達し、ステージ本体上面の正規位置に基板が設置される。
【0009】
本発明にいう「基板処理位置」は、各支持ロッドの上端部が貫通孔に完全に没入した状態だけをいうのではなく、各支持ロッドの上端を貫通孔から僅かに突出させてステージ本体の上面と基板の下面との間に隙間がある状態で各支持ロッドの上端面で基板を支持している状態も含む。このように本発明では、基板受渡位置にて各支持ロッドの上端面で基板を一旦支持したときに基板が位置ずれを起こしたとしても、基板受渡位置と基板処理位置との間のアライメント位置にて基板位置が修正されるため、ステージ本体の正規位置に基板を常時設置できる。しかも、基板処理位置では、位置修正手段がステージ本体の下方に位置するため、基板処理位置にあるステージ本体の周囲に防着板を配置しておけば、真空チャンバ内での成膜処理時に位置修正手段が成膜材料で汚染されるといった不具合が生じない。
【0010】
本発明においては、前記貫通孔の下端縁を囲うようにして前記ステージ本体の下面に垂設され、内部を挿通する前記支持ロッドの相対移動を案内するガイド部材を更に備え、ガイド部材が、前記基板受渡位置から前記基板処理位置にステージ本体を上方に相対移動させたときに貫通孔からの支持ロッドの脱落を防止するストッパ部材を備える構成を採用することができる。これによれば、基板受渡位置にて基板を支持したときに貫通孔内での各支持ロッドの傾きなどを可及的に抑制することができる。しかも、ストッパ部材の位置を変えれば、基板処理位置における支持ロッドの上端部のステージ本体からの突出量を簡単に変更でき、有利である。
(【0011】以降は省略されています)
この特許をJ-PlatPat(特許庁公式サイト)で参照する
関連特許
個人
フッ素樹脂塗装鋼板の保管方法
2か月前
株式会社京都マテリアルズ
めっき部材
6日前
株式会社カネカ
製膜装置
2日前
株式会社カネカ
製膜装置
2日前
株式会社KSマテリアル
防錆組成物
2か月前
株式会社オプトラン
蒸着装置
5か月前
株式会社三愛工業所
アルミニウム材
4か月前
日本化学産業株式会社
複合めっき皮膜
1か月前
台灣晶技股ふん有限公司
無電解めっき法
1か月前
中外炉工業株式会社
真空浸炭装置
6か月前
中外炉工業株式会社
真空浸炭装置
6か月前
日東電工株式会社
積層体の製造方法
4か月前
東京エレクトロン株式会社
成膜方法
24日前
JFEスチール株式会社
鋼部品
2か月前
東京エレクトロン株式会社
基板処理装置
6か月前
住友重機械工業株式会社
成膜装置
3か月前
東京エレクトロン株式会社
基板処理装置
4か月前
住友重機械工業株式会社
成膜装置
2か月前
株式会社内村
防食具、防食具の設置方法
26日前
DOWAサーモテック株式会社
浸炭方法
4か月前
信越半導体株式会社
真空蒸着方法
4か月前
東京エレクトロン株式会社
基板処理装置
5か月前
株式会社アルバック
基板ステージ装置
3日前
黒崎播磨株式会社
溶射装置
10日前
国立大学法人千葉大学
成膜装置及び成膜方法
1か月前
株式会社デンソー
接合体
16日前
日本製鉄株式会社
スナウト装置
6か月前
フジタ技研株式会社
被覆部材、及び、表面被覆金型
4日前
川崎重工業株式会社
水素遮蔽膜
1か月前
株式会社アルバック
成膜装置、および搬送方法
2か月前
黒崎播磨株式会社
溶射用ランス
4か月前
ケニックス株式会社
蒸発源装置
1か月前
東京エレクトロン株式会社
成膜方法及び成膜装置
24日前
株式会社オプトラン
光学薄膜形成装置および方法
5か月前
株式会社スリーボンド
洗浄剤組成物
6か月前
株式会社神戸製鋼所
成膜方法
5か月前
続きを見る
他の特許を見る