TOP
|
特許
|
意匠
|
商標
特許ウォッチ
Twitter
他の特許を見る
公開番号
2025103450
公報種別
公開特許公報(A)
公開日
2025-07-09
出願番号
2023220850
出願日
2023-12-27
発明の名称
成膜装置
出願人
住友重機械工業株式会社
代理人
個人
,
個人
,
個人
主分類
C23C
14/56 20060101AFI20250702BHJP(金属質材料への被覆;金属質材料による材料への被覆;化学的表面処理;金属質材料の拡散処理;真空蒸着,スパッタリング,イオン注入法,または化学蒸着による被覆一般;金属質材料の防食または鉱皮の抑制一般)
要約
【課題】対象物を移動させながら成膜をおこなうときに、移動方向における膜厚分布のばらつきを抑制できる成膜装置を提供する。
【解決手段】移動機構3の成膜移動機構3Bは、基板11の端部11aと支持部41A,41Bとの相対位置を維持した状態にて、基板11を移動させる。このように、基板11の端部11aと支持部41A,41Bが共に移動方向Aへ移動することで、移動中において、基板の端部11aと支持部41A,41Bとが衝突することなどを抑制できる。その結果、移動機構3は、対象物を安定した状態で移動させることができる。以上より、対象物を移動させながら成膜をおこなうときに、移動方向における膜厚分布のばらつきを抑制できる。また、当該構造によれば、支持部41A,41Bが基板11を支持する部分をローラよりも小さくすることができる。よって、基板11の成膜可能な面積を広げることもできる。
【選択図】図2
特許請求の範囲
【請求項1】
対象物に成膜材料を付着させることで成膜を行う成膜装置であって、
前記対象物の端部を前記対象物の移動方向に互いに離間して設けた異なる複数の第1支持部で支持し、前記対象物の前記端部と前記複数の第1支持部との相対位置を維持した状態にて該複数の第1支持部を移動させることで前記対象物を移動させる第1移動機構と、
前記第1移動機構に対して前記移動方向における少なくとも一方側に設けられ、前記対象物を前記移動方向に移動させる第2移動機構と、
前記第1移動機構によって移動する前記対象物に前記成膜材料を供給する供給部と、
を備え、
前記第1移動機構と前記第2移動機構との間で前記対象物の受け渡しを行う、成膜装置。
続きを表示(約 720 文字)
【請求項2】
前記第1移動機構に対して、前記移動方向と交差する方向に離間して設けられ、前記移動方向に互いに離間して設けた異なる複数の第2支持部で支持し、前記対象物の前記端部と前記複数の第2支持部との相対位置を維持した状態にて該複数の第2支持部を移動させることで前記対象物を移動させる第2移動機構を更に備える、請求項1に記載の成膜装置。
【請求項3】
前記第1移動機構は、
前記移動方向に互いに離間して配置される複数の回転体と、
前記複数の回転体に架け渡されると共に、前記複数の回転体の回転によって旋回する前記複数の第1支持部が設けられた送り部材と、を有する、請求項1に記載の成膜装置。
【請求項4】
複数の前記第1支持部は、移動速度が略同一である、請求項1又は2に記載の成膜装置。
【請求項5】
前記供給部は、上側に配置された前記対象物に対して、下側から前記成膜材料を供給する、請求項1又は2に記載の成膜装置。
【請求項6】
前記回転体に架け渡された前記送り部材は、前記第1支持部を前記対象物の移動方向へ直線移動させる直線移動部と、前記第1支持部を前記回転体まわりに旋回させる回転移動部と、を有する、請求項3に記載の成膜装置。
【請求項7】
複数の前記第1支持部は、前記移動方向に沿って並ぶように前記送り部材に設けられる、請求項3に記載の成膜装置。
【請求項8】
前記移動方向から見て、前記対象物が広がる方向であって前記対象物の外周側を基準として、前記回転体の中心軸は、45°~135°をなす、請求項3に記載の成膜装置。
発明の詳細な説明
【技術分野】
【0001】
本発明は、成膜装置に関する。
続きを表示(約 1,800 文字)
【背景技術】
【0002】
成膜装置として、特許文献1に記載されているように、移動する対象物に成膜材料を供給して成膜する成膜装置が知られている。この成膜装置は、プラズマガンを用いてチャンバー内でプラズマを生成し、チャンバー内で成膜材料を昇華させている。移動する基板に成膜材料が付着し、続けて堆積することにより、当該基板上に膜が成長し、形成される。
【先行技術文献】
【特許文献】
【0003】
特開平11-279751号公報
【発明の概要】
【発明が解決しようとする課題】
【0004】
ここで、上述の成膜装置では、成膜時において、対象物をローラなどの機構によって移動させている。この場合、対象物の端部がローラに衝突するなどにより、対象物の移動方向への移動が不安定になる場合がある。このとき、対象物の膜厚の分布がばらつくという問題が生じる。
【0005】
そこで本発明は、対象物を移動させながら成膜をおこなうときに、移動方向における膜厚分布のばらつきを抑制できる成膜装置を提供することを課題とする。
【課題を解決するための手段】
【0006】
本発明に係る成膜装置は、対象物に成膜材料を付着させることで成膜を行う成膜装置であって、対象物の端部を対象物の移動方向に互いに離間して設けた異なる複数の第1支持部で支持し、対象物の端部と複数の第1支持部との相対位置を維持した状態にて該複数の第1支持部を移動させることで対象物を移動させる第1移動機構と、第1移動機構に対して移動方向における少なくとも一方側に設けられ、対象物を移動方向に移動させる第2移動機構と、第1移動機構によって移動する対象物に成膜材料を供給する供給部と、を備え、第1移動機構と第2移動機構との間で対象物の受け渡しを行う。
【0007】
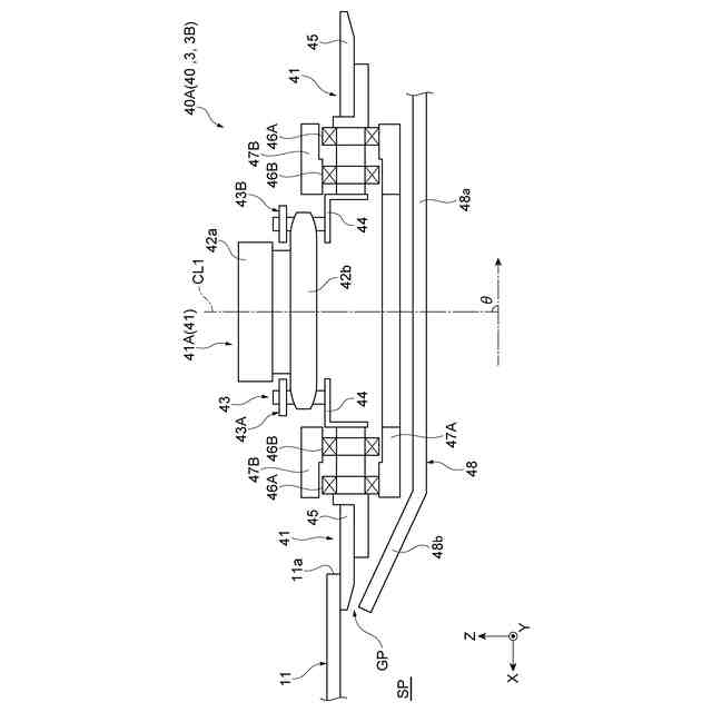
本発明に係る成膜装置は、対象物の端部を第1支持部で支持した状態にて、対象物を移動させる第1移動機構を備える。これにより、供給部は、第1移動機構で対象物を移動させながら、対象物へ成膜材料を供給することができる。ここで、第1移動機構は、対象物の端部と支持部との相対位置を維持した状態にて、対象物を移動させる。このように、対象物の端部と第1支持部が共に移動方向へ移動することで、移動中において、対象物の端部と第1支持部とが衝突することなどを抑制できる。その結果、第1移動機構は、対象物を安定した状態で移動させることができる。また、第1移動機構は、対象物の端部を複数の第1支持部で支持する。これにより、第1移動機構は、複数の第1支持部によって対象物の端部を安定した状態で支持できる。また、対象物において第1支持部と第1支持部との間に成膜することも可能となる。以上より、対象物を移動させながら成膜をおこなうときに、移動方向における膜厚分布のばらつきを抑制できる。
【0008】
成膜装置は、第1移動機構に対して、移動方向と交差する方向に離間して設けられ、移動方向に互いに離間して設けた異なる複数の第2支持部で支持し、対象物の端部と複数の第2支持部との相対位置を維持した状態にて該複数の第2支持部を移動させることで対象物を移動させる第2移動機構を更に備えてよい。対象物が、第1支持部及び第2支持部によって移動方向と交差する方向の両側にて、相対位置を維持した状態で支持されながら移動する。例えば、移動機構が片持ちで対象物を支持する場合に比して、対象物を安定した状態で移動させることができる。これにより、対象物の両側にて移動方向における膜厚分布のばらつきを抑制できる。
【0009】
第1移動機構は、移動方向に互いに離間して配置される複数の回転体と、複数の回転体に架け渡されると共に、複数の回転体の回転によって旋回する複数の第1支持部が設けられた送り部材と、を有してよい。この場合、回転体が回転して送り部材を駆動することにより、第1支持部を対象物と共に移動させることができる。このように、回転体と送り部材を用いた簡便な機構にて、対象物の端部と第1支持部との相対位置を維持した状態にて、対象物を移動させることが可能となる。
【0010】
複数の第1支持部は、移動速度が略同一であってよい。これにより、各第1支持部において、対象物との相対位置を維持した状態で、対象物を支持できる。
(【0011】以降は省略されています)
この特許をJ-PlatPat(特許庁公式サイト)で参照する
関連特許
個人
フッ素樹脂塗装鋼板の保管方法
2か月前
株式会社京都マテリアルズ
めっき部材
12日前
株式会社カネカ
製膜装置
8日前
株式会社カネカ
製膜装置
8日前
株式会社オプトラン
蒸着装置
5か月前
株式会社三愛工業所
アルミニウム材
5か月前
株式会社KSマテリアル
防錆組成物
3か月前
エドワーズ株式会社
真空排気システム
1日前
日本化学産業株式会社
複合めっき皮膜
2か月前
台灣晶技股ふん有限公司
無電解めっき法
1か月前
日東電工株式会社
積層体の製造方法
4か月前
東京エレクトロン株式会社
成膜方法
1か月前
株式会社カネカ
気化装置及び製膜装置
2日前
JFEスチール株式会社
鋼部品
2か月前
TOTO株式会社
構造部材
2日前
株式会社アルバック
マスクユニット
2日前
信越半導体株式会社
真空蒸着方法
5か月前
東京エレクトロン株式会社
基板処理装置
5か月前
株式会社内村
防食具、防食具の設置方法
1か月前
東京エレクトロン株式会社
基板処理装置
6か月前
住友重機械工業株式会社
成膜装置
3か月前
DOWAサーモテック株式会社
浸炭方法
5か月前
東京エレクトロン株式会社
基板処理装置
4か月前
住友重機械工業株式会社
成膜装置
4か月前
株式会社アルバック
基板ステージ装置
9日前
黒崎播磨株式会社
溶射装置
16日前
フジタ技研株式会社
被覆部材、及び、表面被覆金型
10日前
国立大学法人千葉大学
成膜装置及び成膜方法
1か月前
日本コーティングセンター株式会社
炭化ホウ素被膜
2日前
株式会社デンソー
接合体
22日前
ケニックス株式会社
蒸発源装置
1か月前
株式会社アルバック
成膜装置、および搬送方法
2か月前
川崎重工業株式会社
水素遮蔽膜
2か月前
黒崎播磨株式会社
溶射用ランス
4か月前
キヤノントッキ株式会社
成膜装置
5か月前
東京エレクトロン株式会社
成膜方法及び成膜装置
1か月前
続きを見る
他の特許を見る