TOP
|
特許
|
意匠
|
商標
特許ウォッチ
Twitter
他の特許を見る
10個以上の画像は省略されています。
公開番号
2025146100
公報種別
公開特許公報(A)
公開日
2025-10-03
出願番号
2024046704
出願日
2024-03-22
発明の名称
製膜装置
出願人
株式会社カネカ
代理人
個人
,
個人
主分類
C23C
16/455 20060101AFI20250926BHJP(金属質材料への被覆;金属質材料による材料への被覆;化学的表面処理;金属質材料の拡散処理;真空蒸着,スパッタリング,イオン注入法,または化学蒸着による被覆一般;金属質材料の防食または鉱皮の抑制一般)
要約
【課題】本発明は、ガス放出部内で材料ガスを十分に混合できる製膜装置を提供する。
【解決手段】第1ガス供給系統と、第2ガス供給系統と、ガス放出部と、製膜室を有し、第1ガス供給系統は、第1材料ガスをガス放出部に供給可能であり、第2ガス供給系統は、第2材料ガスをガス放出部に供給可能であり、ガス放出部は、製膜室内に配されており、ガス放出部は、一又は複数のガス放出口を有し、ガス放出口から基材に対して製膜ガスを放出可能であり、ガス放出部は、内部空間と、第1ガス供給系統から供給された第1材料ガスを内部空間に分散する第1ガス分散部と、第2ガス供給系統から供給された第2材料ガスを内部空間に分散する第2ガス分散部を有し、第1ガス分散部は、第2ガス分散部からガス放出口への第2材料ガスの流れ方向の下流側に位置し、かつ第2材料ガスの一部を遮るように設けられている構成とする。
【選択図】図11
特許請求の範囲
【請求項1】
基材に対して薄膜を製膜する製膜装置であって、
第1ガス供給系統と、第2ガス供給系統と、ガス放出部と、製膜室を有し、
前記第1ガス供給系統は、第1材料ガスを前記ガス放出部に供給可能であり、
前記第2ガス供給系統は、第2材料ガスを前記ガス放出部に供給可能であり、
前記ガス放出部は、前記製膜室内に配されており、
前記ガス放出部は、一又は複数のガス放出口を有し、前記ガス放出口から前記基材に対して製膜ガスを放出可能であり、
前記ガス放出部は、内部空間と、前記第1ガス供給系統から供給された第1材料ガスを前記内部空間に分散する第1ガス分散部と、前記第2ガス供給系統から供給された第2材料ガスを前記内部空間に分散する第2ガス分散部を有し、
前記第1ガス分散部は、前記第2ガス分散部から前記ガス放出口への第2材料ガスの流れ方向の下流側に位置し、かつ第2材料ガスの一部を遮るように設けられている、製膜装置。
続きを表示(約 660 文字)
【請求項2】
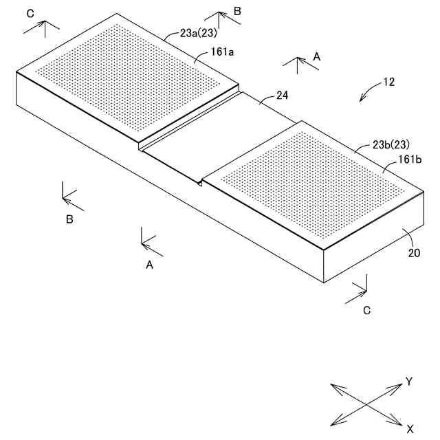
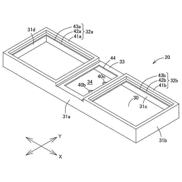
前記ガス放出口を有するガス放出部材を有し、
前記第1ガス分散部は、前記第2ガス分散部と前記ガス放出部材との間に配されており、
前記第1ガス分散部は、平面視したときに、面積が前記第2ガス分散部の面積よりも大きく、かつ前記第2ガス分散部の全体と重なっている、請求項1に記載の製膜装置。
【請求項3】
前記第1ガス分散部は、平面視したときに、面積が前記第2ガス分散部の面積の1.5倍以上である、請求項2に記載の製膜装置。
【請求項4】
前記第1ガス分散部は、円柱状又は回転対称体状の第1筐体部と、前記第1筐体部の内部から前記内部空間に第1材料ガスを導入する第1ガス導入部を有しており、
前記第2ガス分散部は、円柱状又は回転対称体状の第2筐体部と、前記第2筐体部の内部から前記内部空間に第2材料ガスを導入する第2ガス導入部を有しており、
前記第1筐体部の中心軸は、前記第2筐体部の中心軸と同軸である、請求項1~3のいずれか1項に記載の製膜装置。
【請求項5】
前記第1ガス導入部は、円柱状又は回転対称体状であって、前記第1筐体部から突出しており、
前記第2ガス導入部は、導入する第2材料ガスが前記第1ガス導入部の外周面を沿うように第2材料ガスを導入する、請求項4に記載の製膜装置。
【請求項6】
前記第1材料ガスは、前記第2材料ガスよりも気化温度が高い、請求項1~3のいずれか1項に記載の製膜装置。
発明の詳細な説明
【技術分野】
【0001】
本発明は、基材に薄膜を製膜する製膜装置に関する。
続きを表示(約 1,700 文字)
【背景技術】
【0002】
従来から、有機EL装置の各層の製膜には、真空蒸着装置が使用されている(例えば、特許文献1)。
特許文献1の蒸着装置は、いわゆる、ガスキャリア方式の蒸着装置であり、固体状(主に粉体状)の薄膜形成材料を高温のキャリアガスで気化室内に導入するとともに、気化室内で薄膜形成材料を加熱し、気化させて薄膜材料ガスを生成し、キャリアガスで薄膜材料ガスを製膜室まで圧送し、製膜室内においてガス放出部からキャリアガスと薄膜材料ガスの混合ガスを基材に対して吹き付ける構造となっている。
【先行技術文献】
【特許文献】
【0003】
特開2022-135270号公報
【発明の概要】
【発明が解決しようとする課題】
【0004】
ところで、有機EL装置の有機発光層は、ホスト材料にドーパント材料(発光材料)を添加して製膜される。
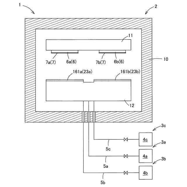
特許文献1の蒸着装置において有機発光層を共蒸着する場合、ホスト材料を供給するガス供給系統とドーパント材料を供給するガス供給系統のそれぞれから、薄膜材料ガスを製膜室内のガス放出部に導入し、それぞれの薄膜材料ガスをガス放出部で混合して製膜ガスとして基材に対して吹き付ける。
このとき、ガス放出部内での薄膜材料ガスの分散が不十分な場合、基材上で膜厚分布が生じてしまい、基材上に均一な薄膜を製膜できないおそれがあった。
【0005】
そこで、本発明は、ガス放出部内で材料ガスを十分に混合できる製膜装置を提供することを課題とする。
【課題を解決するための手段】
【0006】
上記した課題を解決するための本発明の一つの様相は、基材に対して薄膜を製膜する製膜装置であって、第1ガス供給系統と、第2ガス供給系統と、ガス放出部と、製膜室を有し、前記第1ガス供給系統は、第1材料ガスを前記ガス放出部に供給可能であり、前記第2ガス供給系統は、第2材料ガスを前記ガス放出部に供給可能であり、前記ガス放出部は、前記製膜室内に配されており、前記ガス放出部は、一又は複数のガス放出口を有し、前記ガス放出口から前記基材に対して製膜ガスを放出可能であり、前記ガス放出部は、内部空間と、前記第1ガス供給系統から供給された第1材料ガスを前記内部空間に分散する第1ガス分散部と、前記第2ガス供給系統から供給された第2材料ガスを前記内部空間に分散する第2ガス分散部を有し、前記第1ガス分散部は、前記第2ガス分散部から前記ガス放出口への第2材料ガスの流れ方向の下流側に位置し、かつ第2材料ガスの一部を遮るように設けられている、製膜装置である。
【0007】
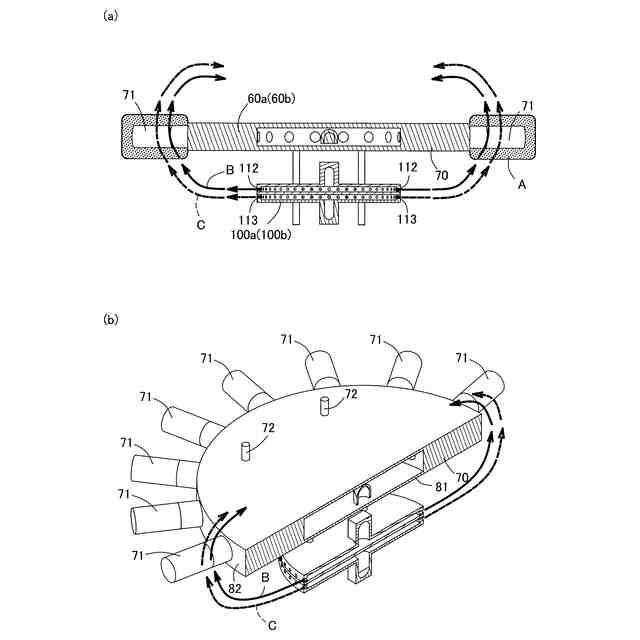
本様相によれば、第1ガス分散部が第2ガス分散部から供給される第2材料ガスを遮るので、第2材料ガスが第1ガス分散部を迂回するように拡散してガス放出口側に流れる。そのため、ガス放出部内の内部空間で第2材料ガスを十分に分散でき、第1材料ガスと十分に混合できる。
【0008】
好ましい様相は、前記ガス放出口を有するガス放出部材を有し、前記第1ガス分散部は、前記第2ガス分散部と前記ガス放出部材との間に配されており、前記第1ガス分散部は、平面視したときに、面積が前記第2ガス分散部の面積よりも大きく、かつ前記第2ガス分散部の全体と重なっている。
【0009】
好ましい様相は、前記第1ガス分散部は、平面視したときに、面積が前記第2ガス分散部の面積の1.5倍以上である。
【0010】
好ましい様相は、前記第1ガス分散部は、円柱状又は回転対称体状の第1筐体部と、前記第1筐体部の内部から前記内部空間に第1材料ガスを導入する第1ガス導入部を有しており、前記第2ガス分散部は、円柱状又は回転対称体状の第2筐体部と、前記第2筐体部の内部から前記内部空間に第2材料ガスを導入する第2ガス導入部を有しており、前記第1筐体部の中心軸は、前記第2筐体部の中心軸と同軸である。
(【0011】以降は省略されています)
この特許をJ-PlatPat(特許庁公式サイト)で参照する
関連特許
株式会社カネカ
抗菌剤
7日前
株式会社カネカ
積層装置
4日前
株式会社カネカ
製膜装置
今日
株式会社カネカ
塗布装置
4日前
株式会社カネカ
電解装置
1か月前
株式会社カネカ
製膜装置
今日
株式会社カネカ
医療用具
今日
株式会社カネカ
二次電池
1か月前
株式会社カネカ
カテーテル
今日
株式会社カネカ
カテーテル
今日
株式会社カネカ
ヘルメット
24日前
株式会社カネカ
正極活物質
4日前
株式会社カネカ
汎用かつら
15日前
株式会社カネカ
カテーテル
今日
株式会社カネカ
生体内留置具
1か月前
株式会社カネカ
硬化性組成物
14日前
株式会社カネカ
硬化性組成物
1か月前
株式会社カネカ
樹脂チューブ
14日前
株式会社カネカ
保護キャップ
1か月前
株式会社カネカ
製造システム
1か月前
株式会社カネカ
光学フィルム
1か月前
株式会社カネカ
生体内留置具
今日
株式会社カネカ
濃縮システム
1か月前
株式会社カネカ
蓄冷材組成物
1か月前
株式会社カネカ
製造システム
28日前
株式会社カネカ
硬化性組成物
1か月前
株式会社カネカ
延長カテーテル
16日前
株式会社カネカ
油脂の製造方法
2日前
株式会社カネカ
顆粒の製造方法
4日前
株式会社カネカ
ブラッシング装置
16日前
株式会社カネカ
ブラッシング装置
16日前
株式会社カネカ
ブラッシング装置
16日前
株式会社カネカ
フィルム延伸装置
4日前
株式会社カネカ
ブラッシング装置
16日前
株式会社カネカ
フィルム延伸装置
2日前
株式会社カネカ
固体撮像装置用基板
1か月前
続きを見る
他の特許を見る