TOP
|
特許
|
意匠
|
商標
特許ウォッチ
Twitter
他の特許を見る
公開番号
2025111962
公報種別
公開特許公報(A)
公開日
2025-07-31
出願番号
2024005922
出願日
2024-01-18
発明の名称
識別リング
出願人
株式会社オンダ製作所
代理人
主分類
F16L
11/12 20060101AFI20250724BHJP(機械要素または単位;機械または装置の効果的機能を生じ維持するための一般的手段)
要約
【課題】蛇腹状の管体に取り付けた状態においても通管作業を円滑に行うことができる新規な識別リングを提供する。
【解決手段】識別リング10は、山部93と谷部94とが軸線方向Yに交互に設けられた蛇腹状の管体90の外面に取り付けられる。識別リング10は、周方向の一部が離間された円筒状の本体20と、本体20の内面21に突設され、谷部94内に配置可能な突条30とを備える。突条30が谷部94内に配置されたとき、本体20の軸線方向Yの第1端縁25及び第2端縁26が山部93にそれぞれ位置するように、突条30から第1端縁25までの軸線方向Yの長さL3と、突条30から第2端縁26までの軸線方向Yの長さL3とが設定されている。
【選択図】 図6
特許請求の範囲
【請求項1】
山部と谷部とが軸線方向に交互に設けられた蛇腹状の管体の外面に取り付けられる識別リングであって、
周方向の一部が離間された円筒状の本体と、
前記本体の内面に突設され、前記谷部内に配置可能な突条とを備え、
前記突条が前記谷部内に配置されたとき、前記本体の前記軸線方向の第1端縁及び第2端縁が前記山部にそれぞれ位置するように、前記突条から前記第1端縁までの前記軸線方向の長さと、前記突条から前記第2端縁までの前記軸線方向の長さとが設定されている識別リング。
続きを表示(約 130 文字)
【請求項2】
前記本体の外面において、前記軸線方向の両端部には、それぞれ前記第1端縁及び前記第2端縁に向かうほど前記管体の外面に近づくように、前記管体の軸線に対して4°~16°の角度で傾斜するテーパ面が形成されている請求項1に記載の識別リング。
発明の詳細な説明
【技術分野】
【0001】
本発明は、管体に取り付けられる識別リングに関する。
続きを表示(約 1,700 文字)
【背景技術】
【0002】
管体の配管先などを表示するために管体に取り付けられる表示体が例えば特許文献1に開示されている。特許文献1の図16に示す表示体は、敷設済みの蛇腹状の鞘管に取り付けられる。表示体は、周方向の一部が離間した円筒状をなし、その内面には突条が設けられている。突条が鞘管外面の谷部に配置されて軸線方向にずれることを抑制している。
【先行技術文献】
【特許文献】
【0003】
特開2011-127751号公報
【発明の概要】
【発明が解決しようとする課題】
【0004】
敷設前の管体、例えば、蛇腹状のコルゲート管に湯水を識別するための表示体を取り付けた状態で、床下や天井裏を通管させたい場合がある。その際、上記のような表示体を蛇腹状のコルゲート管に取り付けると、コルゲート管外面の谷部と表示体との間に隙間が生じやすく、通管時に表示体が床下や天井裏にある構造物に引っかかるなどして、通管が困難となるおそれがある。
【0005】
本発明の目的は、蛇腹状の管体に取り付けた状態においても通管作業を円滑に行うことができる新規な識別リングを提供することにある。
【課題を解決するための手段】
【0006】
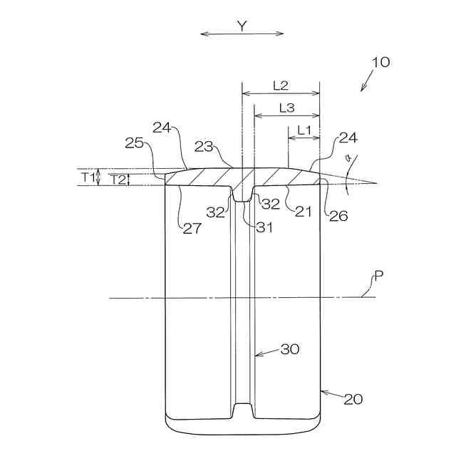
上記課題を解決する識別リングは、山部と谷部とが軸線方向に交互に設けられた蛇腹状の管体の外面に取り付けられる識別リングであって、周方向の一部が離間された円筒状の本体と、前記本体の内面に突設され、前記谷部内に配置可能な突条とを備え、前記突条が前記谷部内に配置されたとき、前記本体の前記軸線方向の第1端縁及び第2端縁が前記山部にそれぞれ位置するように、前記突条から前記第1端縁までの前記軸線方向の長さと、前記突条から前記第2端縁までの前記軸線方向の長さとが設定されている。
【0007】
上記識別リングにおいて、前記本体の外面において、前記軸線方向の両端部には、それぞれ前記第1端縁及び前記第2端縁に向かうほど前記管体の外面に近づくように、前記管体の軸線に対して4°~16°の角度で傾斜するテーパ面が形成されている。
【図面の簡単な説明】
【0008】
識別リングを管体に取り付けた状態を示す平面図。
識別リングの正面、平面及び右側面を示す斜視図。
識別リングを示す正面図。
識別リングを示す平面図。
識別リングを示すAーA拡大断面図。
識別リングを管体に取り付けた状態において、識別リングを断面で示す説明図。
識別リングを管体に取り付けた状態において、管体を断面で示す説明図。
識別リングを大径の管体に取り付けた状態において、管体を断面で示す説明図。
【発明を実施するための形態】
【0009】
[一実施形態]
以下、蛇腹状の管体に取り付けられる識別リングに具体化した一実施形態について説明する。
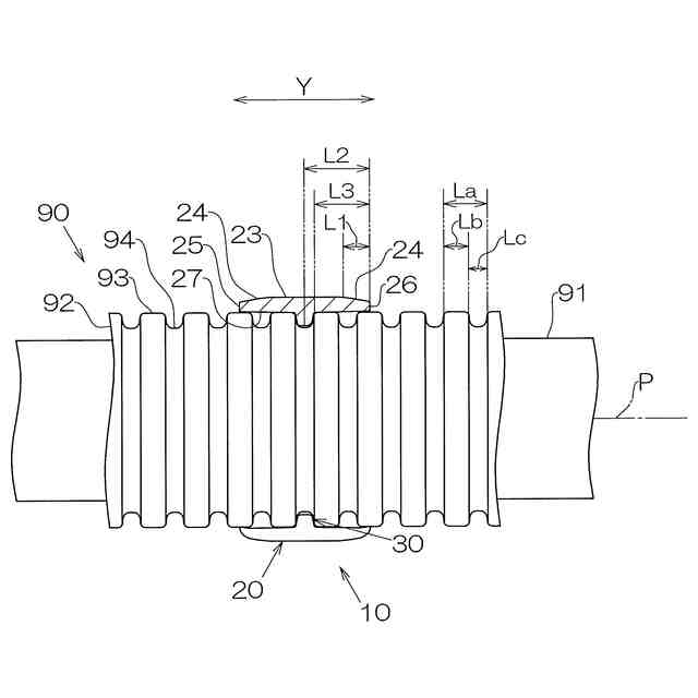
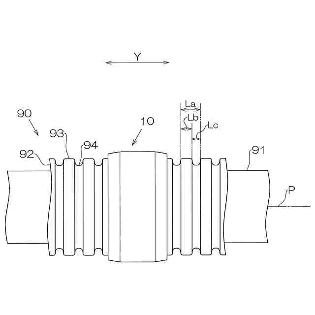
図1に示すように、識別リング10は蛇腹状の管体90の外面に取り付けられる。管体90は、給水給湯用のパイプ91と、パイプ91を覆い、保護するコルゲート管92とを有する。コルゲート管92は、山部93と谷部94とが軸線方向Yに交互に設けられた蛇腹状の管である。コルゲート管92は全体が白色となっている。なお、パイプ91とコルゲート管92は、軸線Pが共通し、軸線方向Yも共通するため、以下、管体90の軸線P又は軸線方向Yとして説明する。軸線方向Yにおいて、コルゲート管92の山部93と谷部94との合計の長さ(以下、「単位長さ」という)をLaとし、山部93の長さをLbとし、谷部94の長さをLcとする。
【0010】
識別リング10は、管体90(パイプ91)に水と湯のどちらが流れるかを示すために全体に色が付けられている。例えば、水が流れることを示す識別リング10は青色とし、湯が流れることを示す識別リング10は赤色としている。識別リング10は、ポリエチレン、ポリプロピレン等の樹脂を用いて、射出成形等により一体成形されている。
(【0011】以降は省略されています)
この特許をJ-PlatPat(特許庁公式サイト)で参照する
関連特許
個人
流路体
8か月前
個人
鍋虫ねじ
1か月前
個人
紛体用仕切弁
1か月前
個人
ホース保持具
5か月前
個人
回転伝達機構
1か月前
個人
トーションバー
6か月前
個人
差動歯車用歯形
3か月前
個人
ジョイント
13日前
個人
地震の揺れ回避装置
2か月前
株式会社不二工機
電磁弁
3か月前
個人
ボルトナットセット
6か月前
個人
ナット
14日前
個人
固着具と成形品部材
8か月前
個人
回転式配管用支持具
7か月前
株式会社不二工機
電磁弁
4か月前
株式会社アイシン
駆動装置
8か月前
個人
吐出量監視装置
1か月前
株式会社オンダ製作所
継手
7か月前
株式会社ミクニ
弁装置
7か月前
カヤバ株式会社
ダンパ
3か月前
株式会社三協丸筒
枠体
6か月前
柿沼金属精機株式会社
分岐管
1か月前
カヤバ株式会社
緩衝器
6か月前
個人
ベルトテンショナ
7か月前
株式会社ミクニ
弁装置
7か月前
カヤバ株式会社
緩衝器
2か月前
カヤバ株式会社
緩衝器
2か月前
カヤバ株式会社
ダンパ
3か月前
株式会社ナジコ
自在継手
8か月前
個人
固着具と固着具の固定方法
5か月前
株式会社不二工機
逆止弁
8か月前
カヤバ株式会社
緩衝装置
7か月前
個人
角型菅の連結構造及び工法
7か月前
株式会社ノーリツ
分配弁
4か月前
株式会社不二工機
電磁弁
1か月前
株式会社奥村組
制振機構
3日前
続きを見る
他の特許を見る