TOP
|
特許
|
意匠
|
商標
特許ウォッチ
Twitter
他の特許を見る
10個以上の画像は省略されています。
公開番号
2025117664
公報種別
公開特許公報(A)
公開日
2025-08-13
出願番号
2024012514
出願日
2024-01-31
発明の名称
水噴射式エンジン
出願人
マツダ株式会社
代理人
弁理士法人三協国際特許事務所
主分類
F02D
19/12 20060101AFI20250805BHJP(燃焼機関;熱ガスまたは燃焼生成物を利用する機関設備)
要約
【課題】オイル希釈を抑制しつつ水による燃焼室の温度低下効果を高めることが可能な水噴射式エンジンを提供する。
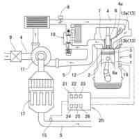
【解決手段】吸気ポート6内に水を噴射する水噴射弁40と、水噴射弁40による水の噴射圧を変更する噴射圧変更手段55とを設け、吸気弁8の開弁開始時に水噴射弁40に水を噴射させるとともに、水噴射弁40から噴射された水が、吸気ポート6のうちの燃焼室10側の開口端から上方に延びる第1部分62の排気側の内周面65に衝突するように、エンジン回転数とエンジン負荷の少なくとも一方に応じて噴射圧変更手段55に噴射圧を調整させる。
【選択図】図1
特許請求の範囲
【請求項1】
シリンダ軸線を中心とする筒状の燃焼室と、当該燃焼室の天井面に開口する吸気ポートと、を含むエンジン本体と、
前記吸気ポートの前記燃焼室側の開口端である下流側開口端を開閉する吸気弁と、
前記吸気ポート内に水を噴射する水噴射弁と、
前記水噴射弁による水の噴射圧を変更する噴射圧変更手段と、
前記水噴射弁および前記噴射圧変更手段を制御する制御手段とを備え、
前記シリンダ軸線と直交するエンジン幅方向について、前記吸気ポートが形成されている側を吸気側、その反対側を排気側としたとき、前記吸気ポートは、前記下流側開口端から上方に延びる第1部分と、当該第1部分の上端から前記吸気側に延びる第2部分と、を含み、
前記水噴射弁は、前記第2部分に配置され、
前記制御手段は、
前記吸気弁の開弁開始時に前記水噴射弁に水を噴射させるとともに、
前記水噴射弁から噴射された水が、前記第1部分の前記排気側の内周面に衝突するように、エンジン回転数とエンジン負荷の少なくとも一方に応じて前記噴射圧変更手段に前記噴射圧を調整させる、ことを特徴とする水噴射式エンジン。
続きを表示(約 1,200 文字)
【請求項2】
請求項1に記載の水噴射式エンジンにおいて、
前記第1部分は、吸気下流側に位置する下流部と、当該下流部の上端から前記吸気側に湾曲する湾曲部とを有し、
前記制御手段は、前記水噴射弁から噴射された水が前記湾曲部の前記排気側の内周面に衝突するように、前記噴射圧変更手段に前記噴射圧を調整させる、ことを特徴とする水噴射式エンジン。
【請求項3】
請求項1に記載の水噴射式エンジンにおいて、
前記水噴射弁は、その先端に水の出口である噴孔を有し、当該噴孔が前記第2部分の下面を指向する姿勢で取り付けられている、ことを特徴とする水噴射式エンジン。
【請求項4】
請求項1に記載の水噴射式エンジンにおいて、
前記制御手段は、エンジンの回転数が高いときの方が低いときよりも前記噴射圧が高くなるように前記噴射圧変更手段を制御する、ことを特徴とする水噴射式エンジン。
【請求項5】
請求項1に記載の水噴射式エンジンにおいて、
前記制御手段は、前記吸気ポートを流れる吸気の流速と前記水噴射弁により噴射される水の噴霧速度との比がエンジンの運転状態に関わらず一定になるように、前記噴射圧変更手段に前記噴射圧を変更させる、ことを特徴とする水噴射式エンジン。
【請求項6】
請求項1に記載の水噴射式エンジンにおいて、
前記制御手段は、エンジン負荷が所定の判定負荷よりも高いときにのみ前記水噴射弁に水を噴射させる、ことを特徴とする水噴射式エンジン。
【請求項7】
請求項1に記載の水噴射式エンジンにおいて、
前記制御手段は、エンジン負荷が高いときの方が低いときよりも前記噴射圧が高くなるように前記噴射圧変更手段を制御する、ことを特徴とする水噴射式エンジン。
【請求項8】
請求項1~7のいずれか1項に記載の水噴射式エンジンにおいて、
前記制御手段は、エンジン回転数に応じて前記水噴射弁から噴射される水の量である水噴射量が変更されるように前記水噴射弁を制御する、ことを特徴とする水噴射式エンジン。
【請求項9】
請求項8に記載の水噴射式エンジンにおいて、
前記制御手段は、
エンジン回転数が所定の第1回転数未満の低速領域でエンジンが運転されているときは、エンジン回転数が前記第1回転数よりも大きい第2回転数以上の高速領域でエンジンが運転されているときよりも前記水噴射量が多くなるように前記水噴射弁を制御するとともに、
エンジン回転数が前記第1回転数以上且つ前記第2回転数未満の中速領域でエンジンが運転されているときは、前記高速領域でエンジンが運転されているときよりも前記水噴射量が少なくなるように、前記水噴射弁を制御する、ことを特徴とする水噴射式エンジン。
発明の詳細な説明
【技術分野】
【0001】
本発明は、水噴射弁を備える水噴射式エンジンに関する。
続きを表示(約 2,100 文字)
【背景技術】
【0002】
従来より、車両に搭載されるエンジン等において、燃焼室内の温度が過度に高くなるのを防止するために、燃焼室内に水を供給することが検討されている。例えば、特許文献1には、水噴射弁を備えるエンジンであって、水噴射弁の噴射口が吸気ポートを臨むように配設されて、水噴射弁から吸気ポート内に水が噴射されるように構成されたエンジンが開示されている。
【先行技術文献】
【特許文献】
【0003】
特開2019-78248号公報
【発明の概要】
【発明が解決しようとする課題】
【0004】
特許文献1のように吸気ポートに水を噴射する構成では、燃焼室内に直接水を噴射する構成に比べてオイル希釈が抑制されやすい。具体的に、燃焼室内に直接水が噴射される構成では、燃焼室において水が勢いよく拡散することで、ピストン冠面に水が付着して当該水がピストンを潤滑するオイルに混入しやすくなる。これに対して、吸気ポートに水を噴射すれば、ピストン冠面への水の付着が抑えられる。
【0005】
しかしながら、吸気ポートに水を噴射する構成においても、吸気ポートの壁面をつたって気筒の内周面に水が付着するという問題がある。また、単に吸気ポート内に水を噴射する構成では、噴射された水が吸気ポートの壁面等から熱を受けて昇温するおそれがある。燃焼室に導入される前に水の温度が上昇すると、水による燃焼室の温度低下効果は小さくなる。このように、特許文献1の構成では、オイル希釈の点および燃焼室の温度低下効果を得る点で改良の余地がある。
【0006】
本発明は、前記のような事情に鑑みてなされたものであり、オイル希釈を抑制しつつ水による燃焼室の温度低下効果を高めることが可能な水噴射式エンジンを提供することを目的とする。
【課題を解決するための手段】
【0007】
前記課題を解決するためのものとして、本発明は、シリンダ軸線を中心とする筒状の燃焼室と、当該燃焼室の天井面に開口する吸気ポートと、を含むエンジン本体と、前記吸気ポートの前記燃焼室側の開口端である下流側開口端を開閉する吸気弁と、前記吸気ポート内に水を噴射する水噴射弁と、前記水噴射弁による水の噴射圧を変更する噴射圧変更手段と、前記水噴射弁および前記噴射圧変更手段を制御する制御手段とを備え、前記シリンダ軸線と直交するエンジン幅方向について、前記吸気ポートが形成されている側を吸気側、その反対側を排気側としたとき、前記吸気ポートは、前記下流側開口端から上方に延びる第1部分と、当該第1部分の上端から前記吸気側に延びる第2部分と、を含み、前記水噴射弁は、前記第2部分に配置され、前記制御手段は、前記吸気弁の開弁開始時に前記水噴射弁に水を噴射させるとともに、前記水噴射弁から噴射された水が、前記第1部分の前記排気側の内周面に衝突するように、エンジン回転数とエンジン負荷の少なくとも一方に応じて前記噴射圧変更手段に前記噴射圧を調整させる、ことを特徴とする。
【0008】
本発明では、吸気ポートに水が噴射される。そのため、燃焼室内に直接水が噴射される構成に比べて、ピストン冠面への水の付着を抑制できる。また、本発明では、吸気弁の開弁時に水が噴射される。そのため、水の吸気ポート内における滞留時間を短くして、水の吸気ポートの壁面からの受熱時間を短くできる。
【0009】
しかも、本発明では、エンジン回転数とエンジン負荷の少なくとも一方に応じて噴射圧が変更されて、第1部分の排気側の内周面に水が衝突するように水噴射圧変更手段が制御される。そのため、エンジン回転数あるいはエンジン負荷の変化に伴って吸気の流速が変化して吸気が水噴霧の方向に及ぼす影響が変わっても、この変化に関わらず水を上記の第1部分の排気側の内周面に衝突させることができる。そして、水を衝突させる位置である水衝突目標位置が、第2部分よりも燃焼室に近い第1部分の排気側の内周面であって第1部分の内周面のうちシリンダ軸線に近く燃焼室の中心付近から上方に延びる面に設定されている。そのため、水が燃焼室に到達する時間を確実に短くしてより低温の状態で水を燃焼室に導入できるとともに、上記の面をつたって水を燃焼室に流入させることで水が気筒の内周面に付着するのを抑制できる。従って、本発明によれば、ピストン冠面および気筒の内周面への水の付着に伴って生じるオイル希釈を抑制できるとともに、水による燃焼室の温度低下効果を高めることができる。
【0010】
好ましくは、前記第1部分は、吸気下流側に位置する下流部と、当該下流部の上端から吸気上流側に湾曲する湾曲部とを有し、前記制御手段は、前記水噴射弁から噴射された水が前記湾曲部の前記排気側の内周面に衝突するように、前記噴射圧変更手段に前記噴射圧を調整させる(請求項2)。
(【0011】以降は省略されています)
この特許をJ-PlatPat(特許庁公式サイト)で参照する
関連特許
本田技研工業株式会社
車両
2日前
本田技研工業株式会社
車両
2日前
株式会社クボタ
作業車両
3日前
本田技研工業株式会社
内燃機関
3日前
本田技研工業株式会社
内燃機関
2日前
本田技研工業株式会社
始動制御装置
2日前
本田技研工業株式会社
始動制御装置
2日前
本田技研工業株式会社
可変ファンネル装置
2日前
大阪瓦斯株式会社
エンジンシステム
2日前
本田技研工業株式会社
内燃機関の吸気構造
3日前
マツダ株式会社
エンジン
3日前
本田技研工業株式会社
内燃機関の制御装置
3日前
本田技研工業株式会社
内燃機関の制御装置
3日前
愛三工業株式会社
燃料供給装置
3日前
マツダ株式会社
エンジンの制御装置
3日前
三菱自動車工業株式会社
内燃機関
3日前
三菱自動車工業株式会社
内燃機関
3日前
三菱自動車工業株式会社
内燃機関
3日前
本田技研工業株式会社
エンジン
3日前
株式会社SUBARU
燃料タンク処理装置
5日前
マツダ株式会社
エンジンの燃焼室構造
3日前
マツダ株式会社
エンジンの燃焼室構造
3日前
本田技研工業株式会社
V型エンジン
3日前
スズキ株式会社
エンジンの排気ポート構造
2日前
三菱自動車工業株式会社
内燃機関システム
3日前
三菱自動車工業株式会社
内燃機関システム
3日前
三菱自動車工業株式会社
内燃機関システム
3日前
三菱自動車工業株式会社
内燃機関の制御装置
2日前
三菱自動車工業株式会社
副室式内燃機関
3日前
三菱自動車工業株式会社
副室式内燃機関
3日前
三菱自動車工業株式会社
内燃機関の吸気通路構造
2日前
三菱自動車工業株式会社
副室式内燃機関の制御システム
3日前
三菱自動車工業株式会社
副室式内燃機関の制御システム
3日前
大阪瓦斯株式会社
エンジンシステム、及びそれを備えたコージェネレーション設備
2日前
REイニシアチブ株式会社
液化水素を使用せず水を利用したエネルギーにより、安全な社会を営む為の回路技術。
5日前
田辺三菱製薬株式会社
ヒト抗IL-33モノクローナル抗体含有医薬用組成物
5日前
他の特許を見る