TOP
|
特許
|
意匠
|
商標
特許ウォッチ
Twitter
他の特許を見る
公開番号
2025154943
公報種別
公開特許公報(A)
公開日
2025-10-10
出願番号
2024058251
出願日
2024-03-29
発明の名称
可変ファンネル装置
出願人
本田技研工業株式会社
代理人
個人
,
個人
主分類
F02B
27/02 20060101AFI20251002BHJP(燃焼機関;熱ガスまたは燃焼生成物を利用する機関設備)
要約
【課題】可動ファンネルの駆動機構の工夫により、小型軽量化を図ることができる可変ファンネル装置を提供する。
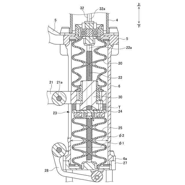
【解決手段】スロットルボディ(13)の上流側に配設される可動ファンネル(8)を、吸気空気の流路方向に沿って往復動可能に支持する可変ファンネル装置(1)において、前記可動ファンネル(8)を、ボールねじ(22)を用いた駆動機構(M)によって駆動する。前記可動ファンネル(8)に対して吸入空気の上流側に配設される固定ファンネル(10)と、該固定ファンネル(10)の上流側から燃料を噴射するインジェクタ(11)とを備え、前記固定ファンネル(10)および前記インジェクタ(11)が、前記駆動機構(M)によって支持される。
【選択図】図2
特許請求の範囲
【請求項1】
スロットルボディ(13)の上流側に配設される可動ファンネル(8)を、吸気空気の流路方向に沿って往復動可能に支持する可変ファンネル装置(1)において、
前記可動ファンネル(8)を、ボールねじ(22)を用いた駆動機構(M)によって駆動することを特徴とする可変ファンネル装置。
続きを表示(約 1,200 文字)
【請求項2】
前記可動ファンネル(8)に対して吸入空気の上流側に配設される固定ファンネル(10)と、該固定ファンネル(10)の上流側から燃料を噴射するインジェクタ(11)とを備え、
前記固定ファンネル(10)および前記インジェクタ(11)が、前記駆動機構(M)によって支持されることを特徴とする請求項1に記載の可変ファンネル装置。
【請求項3】
前記駆動機構(M)は、前記ボールねじ(22)と、該ボールねじ(22)の回転に伴って往復動するファンネル支持アーム(21)と、前記ボールねじ(22)および前記ファンネル支持アーム(21)を収納する筒部材(6)とを有し、
前記ボールねじ(22)の外周部にブーツ部材(20,25)が被せられており、
前記ブーツ部材(20,25)の外径寸法(φ1)が、前記筒部材(6)の内径寸法(φ2)の4分の3以上とされることを特徴とする請求項1または2に記載の可変ファンネル装置。
【請求項4】
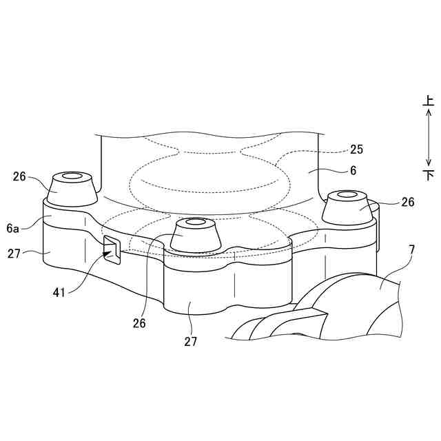
前記筒部材(6)の下方寄りの位置に、前記筒部材(6)の内外をつなぐ排出孔(40,41)が設けられていることを特徴とする請求項1または2に記載の可変ファンネル装置。
【請求項5】
前記排出孔(40,41)は複数設けられ、そのうちの少なくとも1つは、前記筒部材(6)の下端部に設けられていることを特徴とする請求項4に記載の可変ファンネル装置。
【請求項6】
前記筒部材(6)の上部に、前記ボールねじ(22)を回転させるアクチュエータ(4)が取り付けられており、
前記アクチュエータ(4)の回転軸(32)の中心(32a)と、前記ボールねじ(22)の中心(22a)とが一直線上に並ぶことを特徴とする請求項3に記載の可変ファンネル装置。
【請求項7】
前記ファンネル支持アーム(21)は、前記筒部材(6)の径方向外側に延びる形状とされると共に、前記筒部材(6)に形成された切り欠き(23)に沿って往復動することを特徴とする請求項3に記載の可変ファンネル装置。
【請求項8】
前記ブーツ部材(20,25)が、蛇腹形状とされていることを特徴とする請求項3に記載の可変ファンネル装置。
【請求項9】
前記ファンネル支持アーム(21)は、前記ボールねじ(22)に螺号するナット(30)に固定されており、
前記ブーツ部材(20,25)が、前記ナット(30)の上側に位置する上側ブーツ部材(20)と、前記ナット(30)の下側に位置する下側ブーツ部材(25)とからなることを特徴とする請求項3に記載の可変ファンネル機構。
【請求項10】
前記上側ブーツ部材(20)の内部と前記下側ブーツ部材(25)の内部とを連通する連通路(T)が設けられていることを特徴とする請求項9に記載の可変ファンネル機構。
発明の詳細な説明
【技術分野】
【0001】
本発明は、可変ファンネル装置に係り、特に、内燃機関のスロットルボディの上流側に配設される吸気ファンネルを往復動可能とした可変ファンネル装置に関する。
続きを表示(約 1,100 文字)
【背景技術】
【0002】
従来から、内燃機関の吸気装置であるスロットルボディの上流側に配設される可動式の吸気ファンネルを、吸入空気の流路方向に沿って往復動させることで、内燃機関の出力特性の調整を可能とする可変ファンネル装置が知られている。
【0003】
特許文献1には、アクチュエータで駆動される揺動レバーによって可動ファンネルを往復動させるようにした可変ファンネル装置が開示されている。
【先行技術文献】
【特許文献】
【0004】
特開2008-128154号公報
【発明の概要】
【発明が解決しようとする課題】
【0005】
しかし、特許文献1の構成では、揺動レバーが揺動する範囲を空きスペースとして確保しておく必要があると共に、可動ファンネルの動作範囲を増やすと揺動レバーが長くなって可変ファンネル装置が大型化しやすいという課題があった。
【0006】
本発明の目的は、上記従来技術の課題を解決し、可動ファンネルの駆動機構の工夫により、小型軽量化を図ることができる可変ファンネル装置を提供することにある。
【課題を解決するための手段】
【0007】
前記目的を達成するために、本発明は、スロットルボディ(13)の上流側に配設される可動ファンネル(8)を、吸気空気の流路方向に沿って往復動可能に支持する可変ファンネル装置(1)において、前記可動ファンネル(8)を、ボールねじ(22)を用いた駆動機構(M)によって駆動する点に第1の特徴がある。
【0008】
また、前記可動ファンネル(8)に対して吸入空気の上流側に配設される固定ファンネル(10)と、該固定ファンネル(10)の上流側から燃料を噴射するインジェクタ(11)とを備え、前記固定ファンネル(10)および前記インジェクタ(11)が、前記駆動機構(M)によって支持される点に第2の特徴がある。
【0009】
また、前記駆動機構(M)は、前記ボールねじ(22)と、該ボールねじ(22)の回転に伴って往復動するファンネル支持アーム(21)と、前記ボールねじ(22)および前記ファンネル支持アーム(21)を収納する筒部材(6)とを有し、前記ボールねじ(22)の外周部にブーツ部材(20,25)が被せられており、前記ブーツ部材(20,25)の外径寸法(φ1)が、前記筒部材(6)の内径寸法(φ2)の4分の3以上とされる点に第3の特徴がある。
【0010】
また、前記筒部材(6)の下方寄りの位置に、前記筒部材(6)の内外をつなぐ排出孔(40,41)が設けられている点に第4の特徴がある。
(【0011】以降は省略されています)
この特許をJ-PlatPat(特許庁公式サイト)で参照する
関連特許
本田技研工業株式会社
車両
1日前
本田技研工業株式会社
車両
1日前
本田技研工業株式会社
内燃機関
2日前
株式会社クボタ
作業車両
2日前
本田技研工業株式会社
内燃機関
1日前
本田技研工業株式会社
始動制御装置
1日前
本田技研工業株式会社
始動制御装置
1日前
朝日電装株式会社
スロットルグリップ装置
12日前
個人
流体式推力方向制御装置
12日前
トヨタ自動車株式会社
閾値の設定装置
12日前
トヨタ自動車株式会社
エンジン制御装置
8日前
日産自動車株式会社
内燃機関
8日前
株式会社デンソートリム
エンジン制御装置
8日前
本田技研工業株式会社
可変ファンネル装置
1日前
日産自動車株式会社
内燃機関
8日前
本田技研工業株式会社
内燃機関の吸気構造
2日前
大阪瓦斯株式会社
エンジンシステム
1日前
マツダ株式会社
エンジン
2日前
本田技研工業株式会社
EGRバルブ制御装置
12日前
トヨタ自動車株式会社
エンジン制御装置
12日前
トヨタ自動車株式会社
インジェクタの制御装置
10日前
トヨタ自動車株式会社
内燃機関の燃料供給装置
12日前
トヨタ自動車株式会社
内燃機関の燃料供給装置
8日前
ヤンマーホールディングス株式会社
エンジン装置
10日前
ヤンマーホールディングス株式会社
エンジン装置
10日前
ヤンマーホールディングス株式会社
エンジン装置
10日前
本田技研工業株式会社
内燃機関の制御装置
2日前
ヤンマーホールディングス株式会社
エンジン装置
10日前
大阪瓦斯株式会社
発電設備、及び発電方法
10日前
ヤンマーホールディングス株式会社
エンジン装置
10日前
ヤンマーホールディングス株式会社
エンジン装置
10日前
ヤンマーホールディングス株式会社
エンジン装置
10日前
本田技研工業株式会社
内燃機関の制御装置
2日前
愛三工業株式会社
燃料供給装置
2日前
マツダ株式会社
エンジンの制御装置
2日前
トヨタ自動車株式会社
内燃機関の燃料噴射制御装置
10日前
続きを見る
他の特許を見る