TOP
|
特許
|
意匠
|
商標
特許ウォッチ
Twitter
他の特許を見る
10個以上の画像は省略されています。
公開番号
2025150822
公報種別
公開特許公報(A)
公開日
2025-10-09
出願番号
2024051941
出願日
2024-03-27
発明の名称
作業車両
出願人
株式会社クボタ
代理人
個人
,
個人
,
個人
主分類
F02M
37/00 20060101AFI20251002BHJP(燃焼機関;熱ガスまたは燃焼生成物を利用する機関設備)
要約
【課題】給油口と補給口の識別がしやすく、且つ、補給口を配置するスペースをコンパクト化することができる。
【解決手段】作業車両は、車体フレームと、一対の走行装置と、タンクとを備える。一対の走行装置は、幅方向に対向するように車体フレームによって支持され、それぞれが前後方向に車体フレームを駆動するように構成される。タンクは、車体フレームに支持される。タンクは、タンク本体と、補給口と、フィルタとを備える。タンク本体は、液体を貯留する。補給口は、タンク本体から幅方向と前後方向とに垂直で、地面から車体フレームに向かう上方向にタンク本体から突出する。フィルタは、タンク本体の内部において補給口に接続され、補給口から侵入する異物を捕捉するように構成される。フィルタは、中心軸を中心とする円筒形状を有し、中心軸に沿う貫通孔を有する。中心軸は、上方向から幅方向のうちの一方の第1側方に傾いている。
【選択図】図10
特許請求の範囲
【請求項1】
車体フレームと、
幅方向に対向するように前記車体フレームによって支持され、それぞれが前後方向に前記車体フレームを駆動するように構成される一対の走行装置と、
前記車体フレームに支持されるタンクと、
を備え、
前記タンクは、
液体を貯留するように構成されるタンク本体と、
前記タンク本体から前記幅方向と前記前後方向とに垂直で、地面から前記車体フレームに向かう上方向に前記タンク本体から突出する補給口と、
前記タンク本体の内部において前記補給口に接続され、前記補給口から侵入する異物を捕捉するように構成されるフィルタと、
を備え、
前記フィルタは、中心軸線を中心とする円筒形状を有し、前記中心軸線に沿う貫通孔を有し、
前記中心軸線は、前記上方向から前記幅方向のうちの一方の第1側方に傾いている、
作業車両。
続きを表示(約 1,500 文字)
【請求項2】
前記補給口と係合可能な第1突起を含む栓をさらに備え、
前記補給口は、前記第1突起と係合可能な第2突起を含む、
請求項1に記載の作業車両。
【請求項3】
前記フィルタは、前記円筒形状の側面から前記中心軸線に対する径方向に延出したフランジを有し、
前記補給口は、前記フランジを支持するように構成された受け部を有する、
請求項1に記載の作業車両。
【請求項4】
前記フィルタは、前記円筒形状の側面から前記中心軸線に対する径方向に延出したフランジを有し、
前記補給口は、前記フランジを支持するように構成された受け部を有する、
請求項2に記載の作業車両。
【請求項5】
前記補給口の内径は、前記フィルタを前記中心軸線に沿うように移動させたときに前記フランジが前記補給口の内壁に接触しない程度の大きさを有する、
請求項3に記載の作業車両。
【請求項6】
前記補給口の内径は、前記フィルタを前記中心軸線に沿うように移動させたときに前記フランジが前記補給口の内壁に接触しない程度の大きさを有する、
請求項4に記載の作業車両。
【請求項7】
前記受け部は、
前記フランジを前記中心軸線に沿う軸方向から支持する支持面と、
前記フィルタの前記側面を取り囲むように構成される規制面と、
を備え、
前記フィルタは、前記側面から前記中心軸線に対する径方向に突出する隆起を有し、
前記受け部は、前記規制面によって定義される開口部の内側に向けて前記規制面から突出する第2隆起を備え、
前記隆起は、前記第2隆起と係合可能である、
請求項3に記載の作業車両。
【請求項8】
前記受け部は、
前記フランジを前記中心軸線に沿う軸方向から支持する支持面と、
前記フィルタの前記側面を取り囲むように構成される規制面と、
を備え、
前記フィルタは、前記側面から前記中心軸線に対する径方向に突出する第1隆起を有し、
前記受け部は、前記規制面によって定義される開口部の内側に向けて前記規制面から突出する第2隆起を備え、
前記第1隆起は、前記第2隆起と係合可能である、
請求項4に記載の作業車両。
【請求項9】
前記受け部は、
前記フランジを前記中心軸線に沿う軸方向から支持する支持面と、
前記フィルタの前記側面を取り囲むように構成される規制面と、
を備え、
前記フィルタは、前記側面から前記中心軸線に対する径方向に突出する隆起を有し、
前記受け部は、前記規制面によって定義される開口部の内側に向けて前記規制面から突出する第2隆起を備え、
前記隆起は、前記第2隆起と係合可能である、
請求項5に記載の作業車両。
【請求項10】
前記受け部は、
前記フランジを前記中心軸線に沿う軸方向から支持する支持面と、
前記フィルタの前記側面を取り囲むように構成される規制面と、
を備え、
前記フィルタは、前記側面から前記中心軸線に対する径方向に突出する隆起を有し、
前記受け部は、前記規制面によって定義される開口部の内側に向けて前記規制面から突出する第2隆起を備え、
前記隆起は、前記第2隆起と係合可能である、
請求項6に記載の作業車両。
(【請求項11】以降は省略されています)
発明の詳細な説明
【技術分野】
【0001】
本発明は、作業車両に関する。
続きを表示(約 2,500 文字)
【背景技術】
【0002】
特許文献1は、燃料タンクと還元剤タンクの両方を有する作業車両を記述している。この作業車両では、給油口が車体の左右の一方且つ上方に傾けて設けられ、還元剤の補給口が車体の左右の他方且つ上方に傾けて設けられている。特許文献2は、タンクから斜め上方に突出した筒状部の中に、筒状部に対してチルト可能な内側筒状要素を有するタンクを記述している。この内側筒状要素は、ノズル先端に対して相補的な形状を有しており、内側筒状要素の内部にフィルタを含むこともある。
【先行技術文献】
【特許文献】
【0003】
特許第5336646号
特許第6314230号
【発明の概要】
【発明が解決しようとする課題】
【0004】
本願に開示される技術の課題は、尿素水または燃料を入れたポリタンクから蛇腹状のノズルで補給する場合であっても、ガソリンの給油ノズルのように先端が折れ曲がったノズルで尿素水または燃料を補給する場合であっても、容易に尿素水または燃料を補給することが可能な作業車両を提供することにある。
【課題を解決するための手段】
【0005】
本開示の第1態様に係る作業車両は、車体フレームと、一対の走行装置と、タンクとを備える。一対の走行装置は、幅方向に対向するように車体フレームによって支持され、それぞれが前後方向に車体フレームを駆動するように構成される。タンクは、車体フレームに支持される。タンクは、タンク本体と、補給口と、フィルタとを備える。タンク本体は、液体を貯留するように構成される。補給口は、タンク本体から幅方向と前後方向とに垂直で、地面から車体フレームに向かう上方向にタンク本体から突出する。フィルタは、タンク本体の内部において補給口に接続され、補給口から侵入する異物を捕捉するように構成される。フィルタは、中心軸線を中心とする円筒形状を有し、中心軸線に沿う貫通孔を有する。中心軸線は、上方向から幅方向のうちの一方の第1側方に傾いている。
【0006】
本開示の第2態様に係る作業車両は、車体フレームと、一対の走行装置と、第1タンクと、第2タンクとを備える。一対の走行装置は、幅方向に対向するように車体フレームによって支持され、それぞれが前後方向に車体フレームを駆動するように構成される。第1タンクは、車体フレームの幅方向の中央から幅方向のうちの一方の第1側方にずれた位置において車体フレームに支持される。第2タンクは、車体フレームの中央から幅方向のうちの他方の第2側方にずれた位置において車体フレームに支持される。第1タンクは、第1タンク本体と、第1補給口とを備える。第1タンク本体は、第1液体を貯留するように構成される。第1補給口は、第1タンク本体から幅方向と前後方向とに垂直で、地面から車体フレームに向かう上方向に第1タンク本体から突出する。第2タンクは、第2タンク本体と、第2補給口とを備える。第2タンク本体は、第2液体を貯留するように構成される。第2補給口は、第2タンク本体から上方向から第2側方に傾いた方向に第2タンク本体から突出する。
【発明の効果】
【0007】
本願に開示される技術によれば、尿素水または燃料を入れたポリタンクから蛇腹状のノズルで補給する場合であっても、ガソリンの給油ノズルのように先端が折れ曲がったノズルで尿素水または燃料を補給する場合であっても、容易に尿素水または燃料を補給することが可能な作業車両を提供することができる。
【図面の簡単な説明】
【0008】
図1は、作業車両の左側面図である。
図2は、作業車両の右側面図である。
図3は、作業車両の上面図である。
図4は、第1タンク周辺の拡大図である。
図5は、第1タンクの上面図である。
図6は、第1タンクの正面図である。
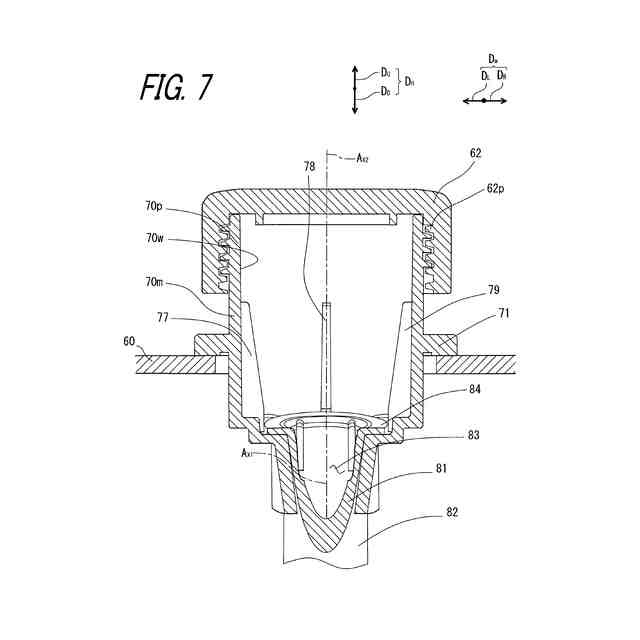
図7は、図5の切断面線VII-VII'による断面図である。
図8は、フィルタの斜視図である。
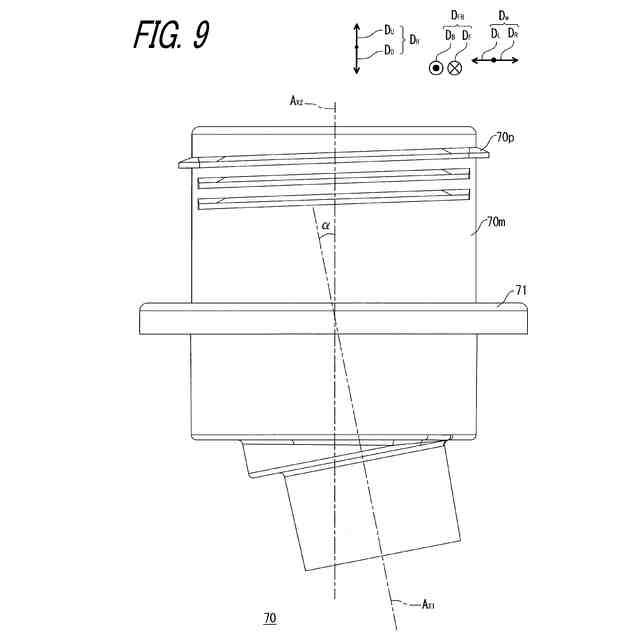
図9は、第1補給口の側面図である。
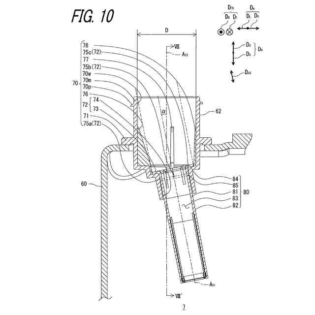
図10は、図6の切断面線X-X'による断面図である。
図11は、第1補給口の上面図である。
図12は、第2タンク周辺の作業車両の部分拡大図である。
図13は、ノズルが第1補給口に挿入されたときの参考図である。
【発明を実施するための形態】
【0009】
以下、添付図面を参照して本発明の実施形態について説明する。類似の符号は、各図中において対応、または同一の構成を示している。
<第1実施形態>
【0010】
図1~図3を参照すると、作業車両1は、車体フレーム2と、一対の走行装置3と、作業装置4と、キャビン5とを備えている。車体フレーム2は、一対の走行装置3、作業装置4、及び、キャビン5を支持する。一対の走行装置3は、車体フレーム2に回動可能に支持され、それぞれが車体フレーム2を前後方向に駆動するように構成される。図示の実施形態では、一対の走行装置3は、履帯式の走行装置である。このため、一対の走行装置3は、それぞれ、駆動輪31、従動輪32、33、及び、転輪34を含む。ただし、一対の走行装置3は、履帯式走行装置に限定されない。走行装置3は、例えば、前輪/後輪走行装置であってもよいし、前輪と後部クローラとを有する走行装置であってもよい。作業装置4は、作業装置4の末端(distal end)に器具(work equipment)(バケット)41を含む。作業装置4の基端(proximal end)は、車体フレーム2に取り付けられている。作業装置4は、バケットピボット軸43を介してバケット41を回転可能に支持するための一対のアーム組立体(arm assembly)42を含む。一対のアーム組立体42のそれぞれは、リフトリンク44とアーム45を含む。
(【0011】以降は省略されています)
この特許をJ-PlatPat(特許庁公式サイト)で参照する
関連特許
株式会社クボタ
作業車
1か月前
株式会社クボタ
作業車
1か月前
株式会社クボタ
作業車
6日前
株式会社クボタ
作業車
6日前
株式会社クボタ
作業車
13日前
株式会社クボタ
作業機
25日前
株式会社クボタ
作業車
1か月前
株式会社クボタ
作業機
1か月前
株式会社クボタ
作業車
15日前
株式会社クボタ
田植機
1か月前
株式会社クボタ
田植機
1か月前
株式会社クボタ
作業車
5日前
株式会社クボタ
作業車
5日前
株式会社クボタ
作業車
13日前
株式会社クボタ
作業車
5日前
株式会社クボタ
田植機
1か月前
株式会社クボタ
作業車
1か月前
株式会社クボタ
作業車両
15日前
株式会社クボタ
作業車両
15日前
株式会社クボタ
作業車両
15日前
株式会社クボタ
作業車両
15日前
株式会社クボタ
作業車両
15日前
株式会社クボタ
作業車両
15日前
株式会社クボタ
作業車両
15日前
株式会社クボタ
作業車両
15日前
株式会社クボタ
作業車両
5日前
株式会社クボタ
作業車両
5日前
株式会社クボタ
作業車両
15日前
株式会社クボタ
多目的車両
6日前
株式会社クボタ
多目的車両
6日前
株式会社クボタ
圃場作業車
1か月前
株式会社クボタ
多目的車両
6日前
株式会社クボタ
多目的車両
6日前
株式会社クボタ
多目的車両
6日前
株式会社クボタ
コンバイン
6日前
株式会社クボタ
多目的車両
6日前
続きを見る
他の特許を見る