TOP
|
特許
|
意匠
|
商標
特許ウォッチ
Twitter
他の特許を見る
公開番号
2025151816
公報種別
公開特許公報(A)
公開日
2025-10-09
出願番号
2024053407
出願日
2024-03-28
発明の名称
内燃機関の制御装置
出願人
本田技研工業株式会社
代理人
個人
,
個人
,
個人
主分類
F02D
45/00 20060101AFI20251002BHJP(燃焼機関;熱ガスまたは燃焼生成物を利用する機関設備)
要約
【課題】アルコールを含有する燃料を気筒内に直接噴射する火花点火内燃機関において、運転時に発生するダイリューション量を抑制できる内燃機関の制御装置を提供する。
【解決手段】アルコールを含有する燃料を気筒内に直接噴射する火花点火内燃機関の制御装置であって、燃料噴射装置から前記気筒内に前記燃料を噴射する噴射タイミングを制御する制御手段と、前記燃料中に含まれるアルコール含有量を検出するアルコール濃度検出手段と、クランクシャフトの回転を検出し、クランク角度信号および上死点信号を出力するクランク角度検出手段と、を有し、前記制御手段は、前記燃料中のアルコール濃度が所定値以上である場合に、前記燃料噴射装置から前記気筒内に、吸気行程と圧縮行程とに分割して前記燃料を噴射する分割噴射を実行する、内燃機関の制御装置とする。
【選択図】図1
特許請求の範囲
【請求項1】
アルコールを含有する燃料を気筒内に直接噴射する火花点火内燃機関の制御装置であって、
燃料噴射装置から前記気筒内に前記燃料を噴射する噴射タイミングを制御する制御手段と、
前記燃料中に含まれるアルコール含有量を検出するアルコール濃度検出手段と、
クランクシャフトの回転を検出し、クランク角度信号および上死点信号を出力するクランク角度検出手段と、を有し、
前記制御手段は、前記燃料中のアルコール濃度が所定値以上である場合に、前記燃料噴射装置から前記気筒内に、吸気行程と圧縮行程とに分割して前記燃料を噴射する分割噴射を実行する、内燃機関の制御装置。
続きを表示(約 720 文字)
【請求項2】
前記制御手段は、前記燃料中のアルコール濃度が、90体積%以上である場合に、前記分割噴射を実行する、請求項1に記載の内燃機関の制御装置。
【請求項3】
環境温度を検出する環境温度検出手段を有し、
前記制御手段は、前記環境温度が所定値以下である場合に、前記分割噴射を実行する、請求項1に記載の内燃機関の制御装置。
【請求項4】
前記環境温度検出手段が、前記気筒に吸入される外気の温度を検出する外気温検出手段と、
エンジン水の温度を検出するエンジン水温検出手段と、を有し、
前記制御手段は、前記外気および/または前記エンジン水の温度が所定値以下である場合に、前記分割噴射を実行する、請求項3に記載の内燃機関の制御装置。
【請求項5】
前記制御手段は、前記外気および/または前記エンジン水の温度が、5℃~-40℃の範囲内である場合に、前記分割噴射を実行する、請求項4に記載の内燃機関の制御装置。
【請求項6】
前記吸気行程における前記燃料の噴射の終了が、クランク角度-300deg.ATDC~-270deg.ATDCの範囲内であり、
前記圧縮行程における前記燃料の噴射の終了が、クランク角度-90deg.ATDC~-30deg.ATDCの範囲内である、請求項1に記載の内燃機関の制御装置。
【請求項7】
エンジン水の温度を検出するエンジン水温検出手段を有し、
前記制御手段は、前記分割噴射を実行した後の前記エンジン水の温度が所定値以下である場合に、再度、前記分割噴射を実行する、請求項1に記載の内燃機関の制御装置。
発明の詳細な説明
【技術分野】
【0001】
本発明は、内燃機関の制御装置に関する。
続きを表示(約 1,700 文字)
【背景技術】
【0002】
従来、気候変動の緩和または影響軽減を目的とした取り組みが継続され、この実現に向けて二酸化炭素の排出量低減に関する研究開発が行われている。
近年、燃料を気筒内に直接噴射する火花点火内燃機関(SI機関)において、ガソリンの代替燃料として、アルコールを含む燃料を使用することが試みられている。
【0003】
特許文献1には、燃焼室に直接燃料を噴射する筒内直接噴射式の内燃機関が記載されている。特許文献1に記載された内燃機関は、燃焼室と、燃焼室に連通する吸気ポート及び排気ポートと、吸気ポート及び排気ポートを開閉自在な吸気弁及び排気弁と、吸気弁側から燃焼室に燃料を複数回に分けて分割噴射可能な燃料噴射手段と、冷間時に前記燃料噴射手段による前記燃料の分割噴射期間を前記吸気弁が前記燃焼室側に開弁する吸気弁開弁期間の前半側に設定する噴射期間設定手段とを備える。
【先行技術文献】
【特許文献】
【0004】
特開2009-121416号公報
【発明の概要】
【発明が解決しようとする課題】
【0005】
メタノール、エタノールなどのアルコールは、ガソリンと比較して、単位体積当たりの発熱量が少ない。このため、アルコールを含む燃料を使用する火花点火内燃機関において、ガソリンを使用した場合と同等の出力を得る場合には、気筒内に噴射する燃料の噴射量を、ガソリンを使用する場合よりも増量する必要がある。また、アルコールは、ガソリンと比較して、低温条件下で気化しにくい。このため、特に、アルコールを含む燃料を使用して、低温環境下で内燃機関を運転させる場合には、気筒内に噴射する燃料の噴射量を多くしている。
【0006】
しかしながら、気筒内に噴射するアルコールを含む燃料の噴射量を多くすると、気筒の内壁に付着した燃料が、気筒の内壁に沿って流れ落ち、エンジンオイルに混入するダイリューション量(オイル希釈量)が多くなる。ダイリューション量が多いと、エンジンオイルが希釈されて、エンジンオイルの潤滑効果が低下してしまう。
このため、アルコールを含有する燃料を気筒内に直接噴射する火花点火内燃機関では、運転時に発生するダイリューション量を抑制することが要求されている。
【0007】
本願は、上記課題に鑑みてなされたものであり、アルコールを含有する燃料を気筒内に直接噴射する火花点火内燃機関において、運転時に発生するダイリューション量を抑制できる内燃機関の制御装置を提供すること目的とする。
【課題を解決するための手段】
【0008】
上記課題を解決するため、以下の手段を提供する。
【0009】
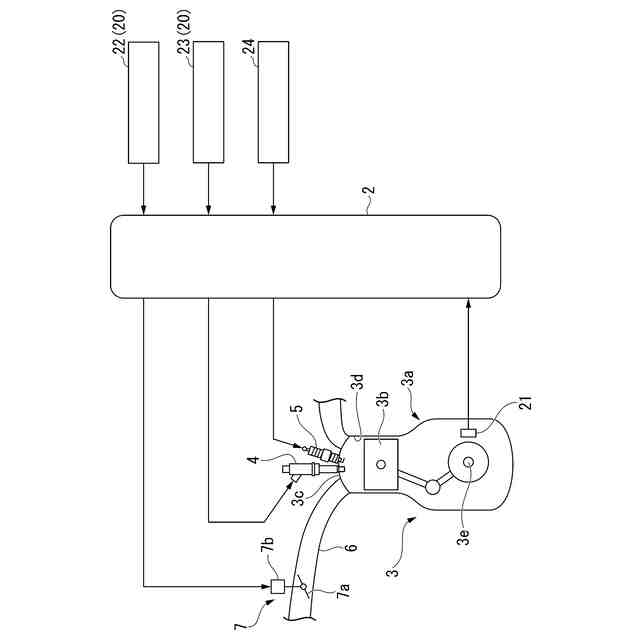
本発明の第一の態様の内燃機関の制御装置は、アルコールを含有する燃料を気筒(3a)内に直接噴射する火花点火内燃機関(3)の制御装置であって、燃料噴射装置(4)から前記気筒(3a)内に前記燃料を噴射する噴射タイミングを制御する制御手段(2)と、前記燃料中に含まれるアルコール含有量を検出するアルコール濃度検出手段(24)と、クランクシャフトの回転を検出し、クランク角度信号および上死点信号を出力するクランク角度検出手段(21)と、を有し、前記制御手段(2)は、前記燃料中のアルコール濃度が所定値以上である場合に、前記燃料噴射装置(4)から前記気筒(3a)内に、吸気行程と圧縮行程とに分割して前記燃料を噴射する分割噴射を実行する、ものである。
【0010】
第一の態様の内燃機関の制御装置では、制御手段が、前記燃料中のアルコール濃度が所定値以上である場合に、燃料噴射装置から気筒内に、吸気行程と圧縮行程とに分割して燃料を噴射する分割噴射を実行する。このため、十分な出力を確保でき、かつ、アルコールを含有する燃料を気筒内に直接噴射する火花点火内燃機関を運転することによって発生するダイリューション量を抑制できる。
(【0011】以降は省略されています)
この特許をJ-PlatPat(特許庁公式サイト)で参照する
関連特許
トヨタ自動車株式会社
内燃機関
21日前
トヨタ自動車株式会社
車両の制御装置
21日前
株式会社クボタ
作業車両
1日前
本田技研工業株式会社
内燃機関
1日前
株式会社SUBARU
エンジン制御装置
23日前
朝日電装株式会社
スロットルグリップ装置
11日前
個人
流体式推力方向制御装置
11日前
株式会社IHI原動機
脈動減衰装置
21日前
トヨタ自動車株式会社
閾値の設定装置
11日前
トヨタ自動車株式会社
エンジン制御装置
7日前
本田技研工業株式会社
内燃機関の吸気構造
1日前
本田技研工業株式会社
内燃機関の制御装置
21日前
株式会社デンソートリム
エンジン制御装置
7日前
日産自動車株式会社
内燃機関
7日前
日産自動車株式会社
内燃機関
7日前
本田技研工業株式会社
EGRバルブ制御装置
11日前
マツダ株式会社
エンジン
1日前
トヨタ自動車株式会社
エンジン制御装置
11日前
トヨタ自動車株式会社
内燃機関の燃料供給装置
7日前
トヨタ自動車株式会社
インジェクタの制御装置
9日前
トヨタ自動車株式会社
内燃機関の燃料供給装置
11日前
ヤンマーホールディングス株式会社
エンジン装置
9日前
大阪瓦斯株式会社
発電設備、及び発電方法
9日前
ヤンマーホールディングス株式会社
エンジン装置
9日前
本田技研工業株式会社
内燃機関の制御装置
1日前
ヤンマーホールディングス株式会社
エンジン装置
9日前
ヤンマーホールディングス株式会社
エンジン装置
9日前
ヤンマーホールディングス株式会社
エンジン装置
9日前
ヤンマーホールディングス株式会社
エンジン装置
9日前
本田技研工業株式会社
内燃機関の制御装置
1日前
ヤンマーホールディングス株式会社
エンジン装置
9日前
トヨタ自動車株式会社
内燃機関の燃料噴射制御装置
9日前
マツダ株式会社
エンジンの制御装置
1日前
愛三工業株式会社
燃料供給装置
1日前
株式会社豊田自動織機
燃料噴射弁
15日前
ヤンマーホールディングス株式会社
エンジンシステム
9日前
続きを見る
他の特許を見る