TOP
|
特許
|
意匠
|
商標
特許ウォッチ
Twitter
他の特許を見る
公開番号
2025118125
公報種別
公開特許公報(A)
公開日
2025-08-13
出願番号
2024013260
出願日
2024-01-31
発明の名称
半導体装置の製造方法及び積層体
出願人
三井化学株式会社
代理人
弁理士法人鷲田国際特許事務所
主分類
H01L
21/02 20060101AFI20250805BHJP(基本的電気素子)
要約
【課題】工程を煩雑にすることなく、複数の基板を積層することができる、半導体装置の製造方法を提供する。
【解決手段】半導体装置の製造方法は、基板と仮固定用基板とを接着層を介して接着する工程と、前記仮固定用基板が接着された状態で、前記基板を薄化する工程と、前記薄化された基板から、前記接着層を残して前記仮固定用基板を除去する工程と、前記仮固定用基板が除去された前記基板と本固定用基板とを前記接着層を介して接着する工程と、を含む。
【選択図】図2
特許請求の範囲
【請求項1】
基板と仮固定用基板とを、接着層を介して接着する工程と、
前記仮固定用基板が接着された状態で、前記基板を薄化する工程と、
前記薄化された基板から、前記接着層を残して前記仮固定用基板を除去する工程と、
前記仮固定用基板が除去された前記基板と本固定用基板とを、前記接着層を介して接着する工程と、
を含む、半導体装置の製造方法。
続きを表示(約 830 文字)
【請求項2】
前記基板は、デバイス付き基板である、
請求項1に記載の半導体装置の製造方法。
【請求項3】
前記仮固定用基板を接着する工程では、
前記仮固定用基板の前記接着層と対向する面には、剥離層が形成されている、
請求項1又は2に記載の半導体装置の製造方法。
【請求項4】
前記接着層の厚みは10μm以下である、
請求項1又は2に記載の半導体装置の製造方法。
【請求項5】
前記仮固定用基板を接着する工程では、
前記基板上に形成された前記接着層を介して、前記基板と前記仮固定用基板とを接着させる、
請求項1又は2に記載の半導体装置の製造方法。
【請求項6】
前記仮固定用基板を接着する工程では、
前記仮固定用基板と前記基板とを、前記接着層の硬化率が70%以上であり、150℃以下の温度で接着させる、
請求項5に記載の半導体装置の製造方法。
【請求項7】
前記接着層は、表面にシラノール基を有する、
請求項1又は2に記載の半導体装置の製造方法。
【請求項8】
前記接着層は、イミド結合、アミド結合、シロキサン結合、エポキシ基、及びベンゾシクロブテン構造からなる群より選択される少なくとも1つを含む樹脂を含む、
請求項1又は2に記載の半導体装置の製造方法。
【請求項9】
前記接着層は、シロキサン結合と、アミド結合及びイミド結合の少なくとも一方とを含む樹脂を含む、
請求項8に記載の半導体装置の製造方法。
【請求項10】
前記仮固定用基板を接着する工程又は前記本固定用基板を接着する工程の前に、前記接着層の表面をプラズマ処理する工程をさらに含む、
請求項1又は2に記載の半導体装置の製造方法。
(【請求項11】以降は省略されています)
発明の詳細な説明
【技術分野】
【0001】
本発明は、半導体装置の製造方法及び積層体に関する。
続きを表示(約 1,200 文字)
【背景技術】
【0002】
電子機器の小型軽量化、高性能化に伴い、半導体ウェハや半導体チップ等の基板の高集積化が求められている。近年、基板の高集積化は、面内の集積度を向上させる2次元から、複数の基板を縦に積層する3次元に移行している。
【0003】
複数の基板を積層するためには、基板は、できるだけ厚さが薄いことが要求される。そのような基板は、通常、裏面を研削して薄化する工程を経て得られる。基板の薄化加工は、仮固定材によって基板を仮固定用基板に仮固定した状態で行われる(例えば、特許文献1参照)。また、複数の基板の積層は、例えば接着剤を用いて行われる(例えば、特許文献2参照)。
【0004】
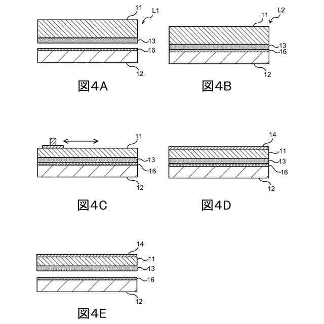
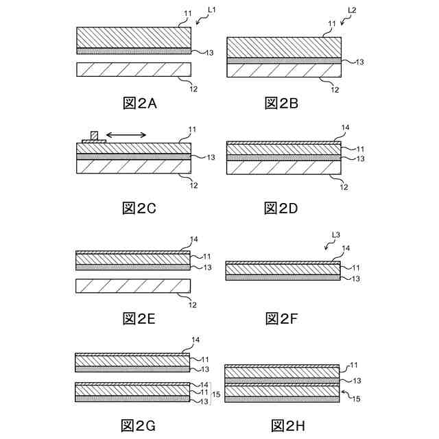
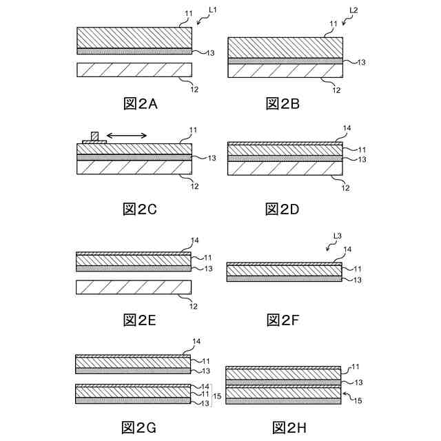
図1A~1Hは、従来の半導体装置の製造方法を示す模式的な部分断面図である。
具体的には、基板1と仮固定用基板2とを、仮固定材3を介して積層し、接着させる(図1A及び1B)。次いで、仮固定用基板2で固定した状態で、基板1を薄化し、電極4等を形成する(図1C及び1D)。次いで、薄化した基板1から仮固定用基板2を除去した後(図1E)、仮固定材3をさらに除去する(図1F)。仮固定用基板2及び仮固定材3を除去した基板1と他の基板5とを、別の接着剤6を介して接着させる(図1G及び1H)。
【先行技術文献】
【特許文献】
【0005】
特開2016-219511号公報
特開2010-226060号公報
【発明の概要】
【発明が解決しようとする課題】
【0006】
薄化された基板からの仮固定材を除去するには、仮固定材を溶剤で溶解させたり、ドライエッチングしたりする必要があった。そして、薄化された基板を積層して接着するためには、別途、新たな接着剤を用いる必要があった。このように、薄化された基板の積層に必要となる工程が多く、煩雑であった。
【0007】
また、仮固定材を除去するための溶剤やドライエッチングにより、基板に配置されたデバイスへのダメージが残ることも懸念される。そのようなデバイスへのダメージを低減できることも望まれている。
【0008】
本発明は、上記課題に鑑みてなされたものであり、工程を煩雑にすることなく、複数の基板を積層することができる、半導体装置の製造方法及び積層体を提供することを目的とする。
【課題を解決するための手段】
【0009】
上記課題は、以下の構成によって解決することができる。
【0010】
本発明の半導体装置の製造方法は、基板と仮固定用基板とを、接着層を介して接着する工程と、前記仮固定用基板が接着された状態で、前記基板を薄化する工程と、前記薄化された基板から、前記接着層を残して前記仮固定用基板を除去する工程と、前記仮固定用基板が除去された前記基板と本固定用基板とを、前記接着層を介して接着する工程と、を含む。
(【0011】以降は省略されています)
この特許をJ-PlatPat(特許庁公式サイト)で参照する
関連特許
三井化学株式会社
ペレット
22日前
三井化学株式会社
混練装置
10日前
三井化学株式会社
手術用器具
2日前
三井化学株式会社
充電コネクタ
1日前
三井化学株式会社
センサユニット
24日前
三井化学株式会社
空中結像システム
3日前
三井化学株式会社
積層体および緩衝材
23日前
三井化学株式会社
ドローン用ブレード
2日前
三井化学株式会社
自動車内装材用積層体
1日前
三井化学株式会社
バックドア及び移動体
1日前
三井化学株式会社
サイドドア及び移動体
22日前
三井化学株式会社
サイドドアおよび移動体
2日前
三井化学株式会社
樹脂組成物および接着剤
1日前
三井化学株式会社
サイドドアおよび移動体
2日前
三井化学株式会社
光学材料及びその製造方法
12日前
三井化学株式会社
アンダーカバー及び移動体
9日前
三井化学株式会社
繊維および繊維の製造方法
3日前
三井化学株式会社
樹脂組成物およびその用途
22日前
三井化学株式会社
重合体組成物および成形体
2日前
三井化学株式会社
絶縁電線、コイル及びモータ
3日前
三井化学株式会社
熱可塑性エラストマー組成物
2日前
三井化学株式会社
極性重合体組成物および成形体
1日前
三井化学株式会社
粘着付与剤および粘着性組成物
2日前
三井化学株式会社
多孔質膜及び多孔質膜の製造方法
8日前
三井化学株式会社
繊維強化樹脂組成物および成形体
1日前
三井化学株式会社
ポリアミド樹脂組成物および成形体
22日前
三井化学株式会社
非水電解液及び非水電解液二次電池
1日前
三井化学株式会社
積層体、包装材、蓋材およびラベル
2日前
三井化学株式会社
シートフレーム、シート、及び移動体
8日前
三井化学株式会社
固体組成物及び固体組成物の製造方法
1日前
三井化学株式会社
オレフィン系重合体組成物および成形体
1日前
三井化学株式会社
延伸成形体および延伸成形体の製造方法
3日前
三井化学株式会社
環状オレフィン系共重合体および光学部品
2日前
三井化学株式会社
ゴム組成物、架橋体、成形体、放熱シート
8日前
三井化学株式会社
延伸フィルムおよび延伸フィルムの製造方法
2日前
三井化学株式会社
延伸フィルムおよび延伸フィルムの製造方法
9日前
続きを見る
他の特許を見る