TOP
|
特許
|
意匠
|
商標
特許ウォッチ
Twitter
他の特許を見る
公開番号
2025152006
公報種別
公開特許公報(A)
公開日
2025-10-09
出願番号
2024053695
出願日
2024-03-28
発明の名称
ドローン用ブレード
出願人
三井化学株式会社
,
ヤマハ発動機株式会社
代理人
弁理士法人鷲田国際特許事務所
主分類
B64U
20/65 20230101AFI20251002BHJP(航空機;飛行;宇宙工学)
要約
【課題】定常回転速度に対する定常トルクの比率が低いドローン用ブレードを提供すること。
【解決手段】ガラス繊維または炭素繊維と、ポリプロピレンと、を含む繊維強化樹脂により構成されている板状の母体部と、前記板状の母体部の表面および裏面に融着された、一方向に配向して配列されたガラス繊維または炭素繊維と、ポリプロピレンと、を含む繊維強化樹脂により構成されている単層の表皮材と、を有するドローン用ブレード。前記母体部を構成する前記繊維強化樹脂は、密度が1.00g/cm
3
以上1.80g/cm
3
以下であり、上面に配置された表皮材は、ブレードの先端方向に対してブレードの移動方向に繊維がなす角度が、下面に配置された表皮材よりも小さく、上面に配置された表皮材は、前記角度が10°以上25°以下であり、下面に配置された表皮材は、前記角度が15°以上30°以下である。
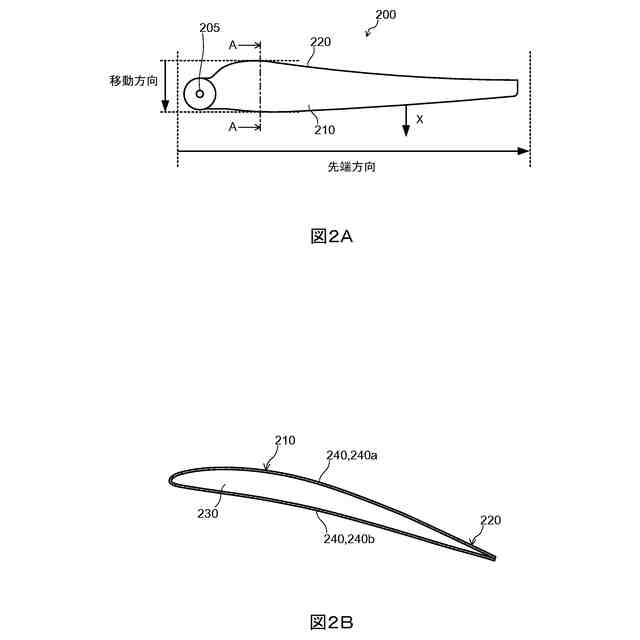
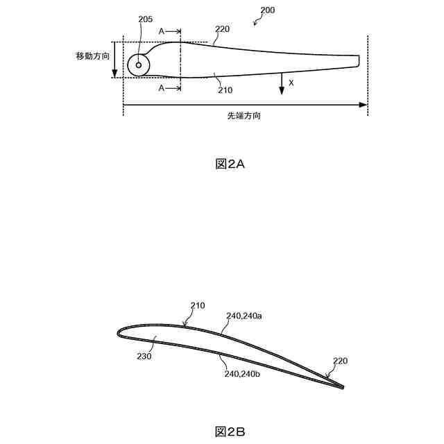
【選択図】図2
特許請求の範囲
【請求項1】
ガラス繊維または炭素繊維と、ポリプロピレンと、を含む繊維強化樹脂により構成されている板状の母体部と、
前記板状の母体部の、ドローンが着地したときに地面とは反対側となる表面を上面、ドローンが着地したときに地面側となる表面を下面としたとき、
一方向に配向して配列されたガラス繊維または炭素繊維と、前記一方向に配向して配列されたガラス繊維または炭素繊維に含浸したポリプロピレンと、を含む繊維強化樹脂により構成されている単層の表皮材と、を有するブレードであって、
前記母体部を構成する前記繊維強化樹脂は、密度が1.00g/cm
3
以上1.80g/cm
3
以下であり、
前記表皮材は、前記板状の母体部の前記上面および前記下面に融着されており、
前記ブレードの、ドローン本体から離れる方向を先端方向としたとき、
前記上面に配置された単層の前記表皮材は、前記ガラス繊維または前記炭素繊維が、前記ブレードの先端方向に対して前記ブレードの移動方向になす角度が、前記下面に配置された前記単層の表皮材の前記ガラス繊維または前記炭素繊維が前記ブレードの先端方向に対して前記ブレードの移動方向になす角度よりも小さく、
前記上面に配置された前記表皮材は、前記ガラス繊維または前記炭素繊維が、前記ブレードの先端方向に対して、前記ブレードの移動方向に10°以上25°以下となる角度に配向して配列されており、
前記下面に配置された前記表皮材は、前記ガラス繊維または前記炭素繊維が、前記ブレードの先端方向に対して、前記ブレードの移動方向に15°以上30°以下となる角度に配向して配列されており、
ドローン用ブレード。
続きを表示(約 220 文字)
【請求項2】
前記母体部を構成する前記繊維強化樹脂は、前記ガラス繊維と、前記ポリプロピレンと、を含む、
請求項1に記載のドローン用ブレード。
【請求項3】
前記表皮材を構成する前記繊維強化樹脂は、前記炭素繊維と、前記ポリプロピレンと、を含む、
請求項1に記載のドローン用ブレード。
【請求項4】
厚みが1.0mm以上20.0mm以下である、
請求項1に記載のドローン用ブレード。
発明の詳細な説明
【技術分野】
【0001】
本発明は、ドローン用ブレードに関する。
続きを表示(約 1,500 文字)
【背景技術】
【0002】
ドローンのローター(回転体)には、空気中を回転移動等するブレードが用いられる。
【0003】
ドローンなどに用いられる、回転するブレードには、回転中に変形しないための高い剛性が要求される。そして、ブレードの剛性を高めるため、一方向に配向して配列された強化繊維に樹脂が含浸された繊維強化樹脂(以下、単に「一方向材」ともいう。)を用いることがある。
【0004】
たとえば、特許文献1には、複数層の繊維強化複合材料を積層して形成した風車ブレードにおいて、積層構造の一部を非対称配向角の層とした、ブレードが記載されている。特許文献1に記載のブレードは、ブレードのうちハブに固定される基部に、風力によって発生する曲げ変形に比例したねじり変形を発生させて、風力に応じてブレードのピッチを変更するものである。そして、これを可能とするため、積層構造のうち表面部に、主方向(ブレードの先端に向かう方向)に対して±10°乃至50°に配向させ、なおかつ非対称に配向させた層を設ける、とされている。
【0005】
また、特許文献2には、ポリエーテルエーテルケトン(PEEK)に短炭素繊維が埋め込まれた充填剤と、充填剤の外側の、PEEKに凝集された単方向性連続繊維およびその織物のプライにより構成される外皮と、を有する、ヘリコプターの回転羽が記載されている。そして、上記織物は、経糸と緯糸との方向が、羽の幅に対しいずれも45°傾斜している、とされている。
【0006】
また、特許文献3には、連続炭素繊維と熱硬化性樹脂組成物とを含んでなる剛性部材が、熱可塑性樹脂組成物により翼内部で保持されている、風力発電用の風車に用いられる翼構造体が記載されている。引用文献3では、ねじり荷重に対する翼構造体の強度を高めるため、翼の長手方向に対し-60°~-30°および+30°~+60°の範囲内に炭素繊維を配向させることが好ましいとされている。
【0007】
また、特許文献4には、発泡体に熱硬化性樹脂が含浸してなるコア部と、炭素繊維に熱硬化性樹脂が含浸してなる外側表皮層と、を有する無人航空機用の回転翼が記載されている。特許文献4では、回転翼に求められる曲げ強度、引張強度およびねじれ強度を達成するため、回転翼の外表面(表皮)を、2軸以降の炭素繊維織物に熱硬化性樹脂が含浸してなる外側表皮層で構成する、とされている。
【先行技術文献】
【特許文献】
【0008】
特開平03-271566号公報
特開平06-219393号公報
特開2007-092716号公報
特開2019-116254号公報
【発明の概要】
【発明が解決しようとする課題】
【0009】
特許文献1~特許文献4に記載のように、回転するブレードの剛性などを高めるため、連続繊維に樹脂を含浸させた繊維強化樹脂を使用することが知られている。そして、特許文献3および特許文献4に記載のように、ブレードが回転する際に生じる捻じれを抑制するため、連続繊維の配向角度をブレードの回転軸からブレードの先端に向かう方向(先端方向)に対してずれた角度とする試行もされている。
【0010】
しかし、本発明者らの知見によれば、これらの文献に記載されたブレードでも、回転により生じる捻じれを十分に抑制できているとはいえない。具体的には、これらの文献に記載されたブレードは、定常回転速度に対する定常トルクの比率が高く、そのため回転時に捻じれが生じやすい。
(【0011】以降は省略されています)
この特許をJ-PlatPat(特許庁公式サイト)で参照する
関連特許
三井化学株式会社
樹脂組成物及び成形体
5日前
三井化学株式会社
樹脂組成物及び成形体
5日前
三井化学株式会社
エチレン共重合体の製造方法
5日前
三井化学株式会社
非水電解液及び非水電解液二次電池
9日前
三井化学株式会社
オレフィン重合用触媒、およびオレフィン重合体の製造方法
5日前
三井化学株式会社
オレフィン重合用触媒、およびオレフィン重合体の製造方法
5日前
三井化学株式会社
固体状チタン触媒成分の製造方法、およびオレフィン重合体の製造方法
5日前
三井化学株式会社
積層体、包装材、蓋材およびラベル
5日前
個人
人工台風
2か月前
個人
着火ドローン
4か月前
個人
救難消防飛行艇
4か月前
東レ株式会社
中空回転翼
3か月前
個人
無人空中移動体
9日前
個人
動力原付きグライダー
25日前
個人
連続回転可能な飛行機翼
5か月前
個人
導風板付き垂直離着陸機
2か月前
東レ株式会社
プロペラブレード
3か月前
東レ株式会社
プロペラブレード
3か月前
東レ株式会社
プロペラブレード
3か月前
東レ株式会社
飛翔体用ブレード
5日前
個人
空飛ぶクルマ
3か月前
株式会社小糸製作所
飛行体ポート
5か月前
個人
搬送方法および搬送システム
4か月前
個人
ヘリコプター駆動装置
4か月前
個人
飛行体
3か月前
個人
パラボラ型スペースデブリカタパルト
4か月前
個人
飛行体
3か月前
個人
飛行体
11日前
日立建機株式会社
作業機械
3か月前
管清工業株式会社
地中管内の調査装置
4か月前
川崎重工業株式会社
水素航空機
5か月前
中国電力株式会社
ドローン用ヘリポート
3か月前
株式会社赤木林業
無人航空機用の運搬具
18日前
株式会社 雲田商会
管路調査用ドローン
4か月前
本田技研工業株式会社
移動体
11日前
KDDI株式会社
アンテナ指向装置
4か月前
続きを見る
他の特許を見る