TOP
|
特許
|
意匠
|
商標
特許ウォッチ
Twitter
他の特許を見る
公開番号
2025121391
公報種別
公開特許公報(A)
公開日
2025-08-19
出願番号
2025011985
出願日
2025-01-28
発明の名称
多層シート及び容器
出願人
デンカ株式会社
代理人
個人
,
個人
,
個人
,
個人
主分類
B32B
27/30 20060101AFI20250812BHJP(積層体)
要約
【課題】容易に破断できる多層シートを提供すること。
【解決手段】表面層と、第1の接着層と、酸素バリア層と、第2の接着層とをこの順で有する第1の積層体と、第1の積層体の第2の接着層に接着された第2の積層体と、を備える多層シートであって、第2の積層体は、スチレン系重合体及び複数のゴム粒子を含有する層を少なくとも二層有し、前記第1の積層体の引張弾性率が450MPa以下である、多層シート。
【選択図】図1
特許請求の範囲
【請求項1】
表面層と、第1の接着層と、酸素バリア層と、第2の接着層とをこの順で有する第1の積層体と、
前記第1の積層体の前記第2の接着層に接着された第2の積層体と、
を備える多層シートであって、
前記第2の積層体は、スチレン系重合体及び複数のゴム粒子を含有する層を少なくとも二層有し、
前記第1の積層体の引張弾性率が450MPa以下である、多層シート。
続きを表示(約 370 文字)
【請求項2】
前記複数のゴム粒子の平均粒径が2μm以下である、請求項1に記載の多層シート。
【請求項3】
前記複数のゴム粒子の平均粒径の標準偏差が1μm以下である、請求項1又は2に記載の多層シート。
【請求項4】
前記表面層の厚みが10μm以上50μm以下であり、前記酸素バリア層の厚みが5μm以上15μm以下である、請求項1又は2に記載の多層シート。
【請求項5】
前記第1の接着層及び前記第2の接着層の厚みがそれぞれ10μm以上20μm以下である、請求項1又は2に記載の多層シート。
【請求項6】
開口部を有する容器本体と、
前記容器の前記開口部を塞ぐ蓋体と、を備える容器であって、
前記蓋体が、請求項1又は2に記載の多層シートで形成されている、容器。
発明の詳細な説明
【技術分野】
【0001】
本開示は、多層シート及び容器に関する。
続きを表示(約 2,200 文字)
【背景技術】
【0002】
食品を包装する包装容器は、例えば、酸素による食品の劣化を抑制するために、酸素バリア層を有する多層シートを成形することにより製造される(特許文献1参照)。近年、調味料等の食品を容器本体に収容し、当該容器本体を覆う蓋体に切れ込み(以下「ノッチ」という。)を形成した包装容器(分配包装体とも呼ばれる)が提供されている(特許文献2参照)。この包装容器を指でつまんで折り曲げると、ノッチを起点に蓋体が破断して、食品が破断箇所から抽出される。特許文献1に開示されている多層シートは、このような包装容器(分配包装体)の蓋体に使用され得る。
【先行技術文献】
【特許文献】
【0003】
国際公開第2022/054567号
特開2004-83120号公報
【発明の概要】
【発明が解決しようとする課題】
【0004】
本発明者らの検討によれば、特許文献1に開示されている多層シートには、破断のしやすさの点で改善の余地がある。そこで、本発明の一側面は、容易に破断できる多層シートを提供することを目的とする。
【課題を解決するための手段】
【0005】
本発明は、以下の側面を含む。
[1] 表面層と、第1の接着層と、酸素バリア層と、第2の接着層とをこの順で有する第1の積層体と、第1の積層体の第2の接着層に接着された第2の積層体と、を備える多層シートであって、第2の積層体は、スチレン系重合体及び複数のゴム粒子を含有する層を少なくとも二層有し、第1の積層体の引張弾性率が450MPa以下である、多層シート。
[2] 複数のゴム粒子の平均粒径が2μm以下である、[1]に記載の多層シート。
[3] 複数のゴム粒子の平均粒径の標準偏差が1μm以下である、[1]又は[2]に記載の多層シート。
[4] 表面層の厚みが10μm以上50μm以下であり、酸素バリア層の厚みが5μm以上15μm以下である、[1]~[3]のいずれか一つに記載の多層シート。
[5] 第1の接着層及び第2の接着層の厚みがそれぞれ10μm以上20μm以下である、[1]~[4]のいずれか一つに記載の多層シート。
[6] 開口部を有する容器本体と、容器の開口部を塞ぐ蓋体と、を備える容器であって、蓋体が、[1]~[5]のいずれか一つに記載の多層シートで形成されている、容器。
【0006】
本発明者らは、上記[1]に記載の第1の積層体及び第2の積層体のうち、第1の積層体の破断しやすさを向上させることにより、多層シートの破断しやすさを向上させることを検討した。第2の積層体の構成が同じ場合、第1の積層体を容易に破断できれば、当然、多層シート全体を容易に破断できるため、第1の積層体の破断しやすさの向上は重要である。本発明の一側面は、第2の積層体の構成が同じ場合に、第1の積層体の構成を工夫することにより、第1の積層体の破断しやすさを向上させるものである。検討の結果、第1の積層体の引張弾性率が450MPa以下である場合、当該引張弾性率が450MPaを超える場合に比べて、第1の積層体を容易に破断できることが判明した。これは、第1の積層体の引張弾性率が450MPa以下である場合、当該引張弾性率が450MPaを超える場合に比べて、多層シート全体を容易に破断できることを意味する。すなわち、本発明の一側面の主たる特徴は、引張弾性率が450MPa以下の第1の積層体を用いることにより、第1の積層体の破断しやすさを向上させ、ひいては、多層シート全体の破断しやすさを向上させることである。
【発明の効果】
【0007】
本発明の一側面によれば、容易に破断できる多層シートを提供することができる。
【図面の簡単な説明】
【0008】
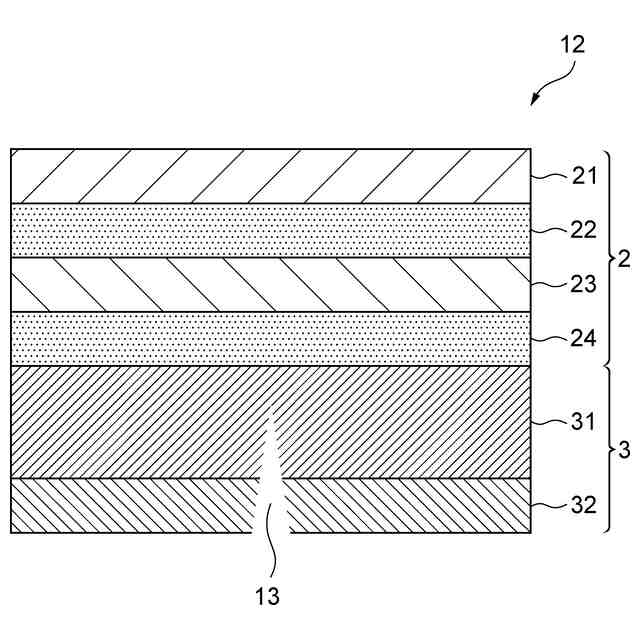
多層シートの一実施形態を示す模式断面図である。
容器の一実施形態を示す斜視図である。
図2に示される容器の蓋体の模式断面図である。
図2に示される容器の使用例を示す模式図である。
【発明を実施するための形態】
【0009】
以下、本発明の実施形態について詳細に説明する。ただし、本発明は以下の実施形態に限定されるものではない。
【0010】
図1は、多層シートの一実施形態を示す模式断面図である。一実施形態に係る多層シート1は、図1に示すように、第1の積層体2と第2の積層体3とが積層された構造を有している。第1の積層体2は、多層シート1の一面(表面)側に露出する表面層21と、表面層21の一面(表面)側と反対側の面上に設けられた第1の接着層22と、第1の接着層22を介して表面層21に接着された酸素バリア層23と、酸素バリア層23の表面層21と反対側の面上に設けられた第2の接着層24と、を有している。第2の積層体3は、第2の接着層24を介して酸素バリア層に接着された基材層31と、基材層31の第2の接着層24と反対側の面上に設けられ、多層シート1の他面(裏面)側に露出する裏面層32と、を有している。
(【0011】以降は省略されています)
この特許をJ-PlatPat(特許庁公式サイト)で参照する
関連特許
デンカ株式会社
容器
9日前
デンカ株式会社
蛍光体
3日前
デンカ株式会社
窓構造
1日前
デンカ株式会社
モルタル材料
1日前
デンカ株式会社
静的破砕方法
1か月前
デンカ株式会社
熱伝導性シート
1か月前
デンカ株式会社
熱伝導性シート
1か月前
デンカ株式会社
窒化ケイ素粉末
1日前
デンカ株式会社
熱伝導性シート
1か月前
デンカ株式会社
継手及び継手付管
3日前
デンカ株式会社
人工毛髪用繊維束
22日前
デンカ株式会社
窓構造およびシート
1日前
デンカ株式会社
ゴム組成物及び架橋物
1か月前
デンカ株式会社
ゴム組成物及び架橋物
1か月前
デンカ株式会社
磁性ビーズの製造方法
8日前
デンカ株式会社
放熱部材および電子装置
1日前
デンカ株式会社
容器およびその製造方法
9日前
デンカ株式会社
放熱部材および電子装置
1日前
デンカ株式会社
シート及び食品包装容器
1日前
デンカ株式会社
蛍光体、及びインク組成物
1日前
デンカ株式会社
窒化ホウ素粉末の製造方法
2日前
デンカ株式会社
窒化ケイ素粉末の製造方法
1日前
デンカ株式会社
熱伝導性組成物及び電子機器
2日前
デンカ株式会社
積層シート及び食品包装容器
1日前
デンカ株式会社
インフルエンザワクチン製剤
24日前
デンカ株式会社
セラミックス粉末の製造方法
1日前
デンカ株式会社
有機酸又はその塩の製造方法
1か月前
デンカ株式会社
接合基板、及びその製造方法
1か月前
デンカ株式会社
重症筋無力症のバイオマーカー
1か月前
デンカ株式会社
窒化ホウ素粉末及び樹脂組成物
22日前
デンカ株式会社
窒化ホウ素粉末及び樹脂組成物
22日前
デンカ株式会社
窒化ケイ素焼結体、及び回路基板
1か月前
デンカ株式会社
サイアロン蛍光体粉末の製造方法
1か月前
デンカ株式会社
接合基板、及び接合基板の製造方法
22日前
デンカ株式会社
窒化ケイ素粉末、及びその製造方法
1日前
デンカ株式会社
蛍光体粉末、複合体および発光装置
12日前
続きを見る
他の特許を見る