TOP
|
特許
|
意匠
|
商標
特許ウォッチ
Twitter
他の特許を見る
公開番号
2025143885
公報種別
公開特許公報(A)
公開日
2025-10-02
出願番号
2024043377
出願日
2024-03-19
発明の名称
容器
出願人
デンカ株式会社
代理人
個人
,
個人
,
個人
,
個人
主分類
B65D
21/036 20060101AFI20250925BHJP(運搬;包装;貯蔵;薄板状または線条材料の取扱い)
要約
【課題】利便性を向上することができる容器を提供する。
【解決手段】容器1は、シート材の成形品である。容器1は、容器本体10と、容器本体10と一体又は別体に形成された蓋体20と、を備える。容器本体10は、第1本体嵌合部15と、第2本体嵌合部16と、を有する。蓋体20は、第1蓋体嵌合部25と、第2蓋体嵌合部26と、を有する。容器本体10に対して蓋体20が閉じられた場合に、第1本体嵌合部15と第1蓋体嵌合部25とが互いに嵌合する。一の容器1が他の容器1上に重ねられた場合に、一の容器1の第2本体嵌合部16と他の容器1の第2蓋体嵌合部26とが互いに嵌合する。第2本体嵌合部16と第2蓋体嵌合部26との間の嵌合強度は、第1本体嵌合部15と第1蓋体嵌合部25との間の嵌合強度よりも低い。
【選択図】図1
特許請求の範囲
【請求項1】
シート材の成形品である容器であって、
容器本体と、前記容器本体と一体又は別体に形成された蓋体と、を備え、
前記容器本体は、第1本体嵌合部と、第2本体嵌合部と、を有し、
前記蓋体は、第1蓋体嵌合部と、第2蓋体嵌合部と、を有し、
前記容器本体に対して前記蓋体が閉じられた場合に、前記第1本体嵌合部と前記第1蓋体嵌合部とが互いに嵌合し、
一の前記容器が他の前記容器上に重ねられた場合に、前記一の容器の前記第2本体嵌合部と前記他の容器の前記第2蓋体嵌合部とが互いに嵌合し、
前記第2本体嵌合部と前記第2蓋体嵌合部との間の嵌合強度は、前記第1本体嵌合部と前記第1蓋体嵌合部との間の嵌合強度よりも低い、容器。
続きを表示(約 570 文字)
【請求項2】
前記容器本体に対して前記蓋体が閉じられた状態において前記容器本体の底板部と前記蓋体の天板部とが向かい合う対向方向から見た場合に、前記第2本体嵌合部及び前記第2蓋体嵌合部は、周方向において部分的に設けられている、請求項1に記載の容器。
【請求項3】
前記第2本体嵌合部及び前記第2蓋体嵌合部は、前記容器本体に対して前記蓋体が閉じられた状態において前記容器本体の底板部と前記蓋体の天板部とが向かい合う対向方向に垂直な方向に突出した凸部を含む、請求項1又は2に記載の容器。
【請求項4】
前記対向方向から見た場合に、前記第2本体嵌合部及び前記第2蓋体嵌合部の前記凸部の外縁は、円弧状に形成されている、請求項3に記載の容器。
【請求項5】
前記蓋体には凹部が形成されており、
前記一の容器が前記他の容器上に重ねられる場合には、前記一の容器の前記容器本体の底部が前記他の容器の前記蓋体の前記凹部内に配置され、
前記第2本体嵌合部は、前記容器本体の前記底部に形成されており、前記第2蓋体嵌合部は、前記凹部の側面に形成されている、請求項1又は2に記載の容器。
【請求項6】
前記蓋体は、ヒンジ部を介して前記容器本体に接続されている、請求項1又は2に記載の容器。
発明の詳細な説明
【技術分野】
【0001】
本発明は、例えば食品等を包装するための容器に関する。
続きを表示(約 2,000 文字)
【背景技術】
【0002】
例えば特許文献1には、容器本体及び蓋体からなる包装用容器であって、容器本体に被嵌凹部が形成されると共に蓋体に嵌合凸部が形成され、包装用容器の段積み時に被嵌凹部と嵌合凸部とが嵌合し得る包装用容器が記載されている。
【先行技術文献】
【特許文献】
【0003】
特開2014-118197号公報
【発明の概要】
【発明が解決しようとする課題】
【0004】
上述したような容器には、利便性を向上することが求められる。そこで、本発明は、利便性を向上することができる容器を提供することを目的とする。
【課題を解決するための手段】
【0005】
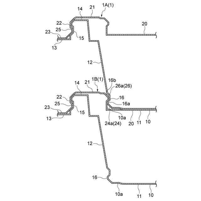
本発明の容器は、[1]「シート材の成形品である容器であって、容器本体と、前記容器本体と一体又は別体に形成された蓋体と、を備え、前記容器本体は、第1本体嵌合部と、第2本体嵌合部と、を有し、前記蓋体は、第1蓋体嵌合部と、第2蓋体嵌合部と、を有し、前記容器本体に対して前記蓋体が閉じられた場合に、前記第1本体嵌合部と前記第1蓋体嵌合部とが互いに嵌合し、一の前記容器が他の前記容器上に重ねられた場合に、前記一の容器の前記第2本体嵌合部と前記他の容器の前記第2蓋体嵌合部とが互いに嵌合し、前記第2本体嵌合部と前記第2蓋体嵌合部との間の嵌合強度は、前記第1本体嵌合部と前記第1蓋体嵌合部との間の嵌合強度よりも低い、容器」である。
【0006】
この容器では、第2本体嵌合部と第2蓋体嵌合部との間の嵌合強度が、第1本体嵌合部と第1蓋体嵌合部との間の嵌合強度よりも低い。これにより、例えば容器が段積みされた状態から第2本体嵌合部と第2蓋体嵌合部との嵌合を解除して容器同士を引き離そうとした際に、第1本体嵌合部と第1蓋体嵌合部との嵌合が解除されて蓋体が開き、内容物が流出してしまうことを抑制することができる。また、例えば、容器が段積みされた状態で店頭に陳列されている場合において、消費者が上側の容器を手に取ろうとした際に、当該容器の蓋体が開いてしまうことを抑制することができる。このように、この容器によれば、利便性を向上することができる。
【0007】
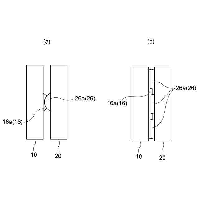
本発明の容器は、[2]「前記容器本体に対して前記蓋体が閉じられた状態において前記容器本体の底板部と前記蓋体の天板部とが向かい合う対向方向から見た場合に、前記第2本体嵌合部及び前記第2蓋体嵌合部は、周方向において部分的に設けられている、請求項1に記載の容器」であってもよい。第2本体嵌合部及び第2蓋体嵌合部を全周にわたってではなく周方向において部分的に設けることで、第2本体嵌合部と第2蓋体嵌合部との間の嵌合強度を低くする(調整する)ことができる。また、容器の成形時には、例えば、加熱により軟化させたシート材を金型に押し当て、その後に金型から引き剥がす(離型する)ことで、成形品が得られる。第2本体嵌合部及び第2蓋体嵌合部が周方向において部分的に設けられていることで、離型性(金型からの引き剥がしやすさ)を向上することができる。
【0008】
本発明の容器は、[3]「前記第2本体嵌合部及び前記第2蓋体嵌合部は、前記容器本体に対して前記蓋体が閉じられた状態において前記容器本体の底板部と前記蓋体の天板部とが向かい合う対向方向に垂直な方向に突出した凸部を含む、請求項1又は2に記載の容器」であってもよい。この場合、第2本体嵌合部と第2蓋体嵌合部とを強固に嵌合させることができる。
【0009】
本発明の容器は、[4]「前記対向方向から見た場合に、前記第2本体嵌合部及び前記第2蓋体嵌合部の前記凸部の外縁は、円弧状に形成されている、請求項3に記載の容器」であってもよい。この場合、第2本体嵌合部と第2蓋体嵌合部とを嵌合させやすくすることができる。また、離型性を向上することができる。
【0010】
本発明の容器は、[5]「前記蓋体には凹部が形成されており、前記一の容器が前記他の容器上に重ねられる場合には、前記一の容器の前記容器本体の底部が前記他の容器の前記蓋体の前記凹部内に配置され、前記第2本体嵌合部は、前記容器本体の前記底部に形成されており、前記第2蓋体嵌合部は、前記凹部の側面に形成されている、請求項1又は2に記載の容器」であってもよい。この場合、一の容器の容器本体の底部を他の容器の蓋体の凹部内に配置することで、一の容器を他の容器上に安定的に重ねることができる。また、第2本体嵌合部が容器本体の底部に形成され、第2蓋体嵌合部が凹部の側面に形成されているため、一の容器を他の容器上に重ねる場合に、第2本体嵌合部と第2蓋体嵌合部とを容易に嵌合させることができる。
(【0011】以降は省略されています)
この特許をJ-PlatPat(特許庁公式サイト)で参照する
関連特許
デンカ株式会社
容器
3日前
デンカ株式会社
エミッタ
2か月前
デンカ株式会社
模擬臓器
1か月前
デンカ株式会社
包装用容器
1か月前
デンカ株式会社
包装用容器
1か月前
デンカ株式会社
グラウト材料
2か月前
デンカ株式会社
静的破砕方法
1か月前
デンカ株式会社
熱伝導性シート
26日前
デンカ株式会社
熱伝導性シート
26日前
デンカ株式会社
熱伝導性シート
1か月前
デンカ株式会社
熱伝導性シート
1か月前
デンカ株式会社
熱伝導性シート
26日前
デンカ株式会社
熱伝導性シート
2か月前
デンカ株式会社
熱伝導性シート
2か月前
デンカ株式会社
人工毛髪用繊維束
16日前
デンカ株式会社
多層シート及び容器
1か月前
デンカ株式会社
医療用配管の保持器
2か月前
デンカ株式会社
ストレッチフィルム
1か月前
デンカ株式会社
ゴム組成物及び架橋物
1か月前
デンカ株式会社
ゴム組成物及び架橋物
1か月前
デンカ株式会社
電子部品包装用シート
2か月前
デンカ株式会社
磁性ビーズの製造方法
2日前
デンカ株式会社
容器およびその製造方法
3日前
デンカ株式会社
蛍光体粉末、及び発光装置
2か月前
デンカ株式会社
有機酸又はその塩の製造方法
1か月前
デンカ株式会社
包装用容器及び盛り付け方法
1か月前
デンカ株式会社
インフルエンザワクチン製剤
18日前
デンカ株式会社
ゴム組成物、及びバッテリー
1か月前
デンカ株式会社
接合基板、及びその製造方法
1か月前
デンカ株式会社
窒化ホウ素粉末及び樹脂組成物
16日前
デンカ株式会社
人工毛髪用繊維及び頭髪装飾品
1か月前
デンカ株式会社
重症筋無力症のバイオマーカー
25日前
デンカ株式会社
窒化ホウ素粉末及び樹脂組成物
16日前
学校法人金井学園
雨水取水装置
1か月前
デンカ株式会社
窒化ケイ素焼結体、及び回路基板
1か月前
デンカ株式会社
サイアロン蛍光体粉末の製造方法
1か月前
続きを見る
他の特許を見る