TOP
|
特許
|
意匠
|
商標
特許ウォッチ
Twitter
他の特許を見る
公開番号
2025121586
公報種別
公開特許公報(A)
公開日
2025-08-20
出願番号
2024017108
出願日
2024-02-07
発明の名称
車両構造
出願人
ダイハツ工業株式会社
代理人
個人
主分類
B62D
25/20 20060101AFI20250813BHJP(鉄道以外の路面車両)
要約
【課題】排気口の開口面積を大きくしなくても排気口を通って車両の内部から外部に空気を効率よく排出し易い車両構造を提供する。
【解決手段】車両の内部から外部に空気を排出する排気口を有する板状部材を備え、前記排気口は、風上の開口幅が最も大きく、風下の開口幅が最も小さい形状を有する、車両構造。
【選択図】図2
特許請求の範囲
【請求項1】
車両の内部から外部に空気を排出する排気口を有する板状部材を備え、
前記排気口は、風上の開口幅が最も大きく、風下の開口幅が最も小さい形状を有する、
車両構造。
続きを表示(約 220 文字)
【請求項2】
前記排気口は、第1排気口と、前記第1排気口よりも風下に並べられた第2排気口と、を有し、
前記第1排気口および前記第2排気口の形状は、風上に位置する底辺と風下に位置する頂点とを有する三角形状であり、
前記第2排気口の前記底辺の長さは、前記第1排気口の前記底辺の長さと実質的に同じであり、
前記第2排気口の前記頂点の内角は、前記第1排気口の前記頂点の内角よりも大きい、請求項1に記載の車両構造。
発明の詳細な説明
【技術分野】
【0001】
本発明は、排気口の開口面積を大きくしなくても排気口を通って車両の内部から外部に空気を効率よく排出し易い車両構造に関する。
続きを表示(約 2,000 文字)
【背景技術】
【0002】
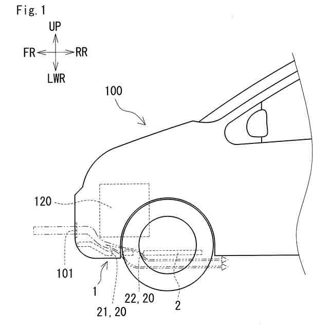
特許文献1は、車両の下側に配置され、発熱源の下部を覆うアンダーカバーを開示している。アンダーカバーには、アンダーカバーの内部から外部に空気を排出する排気口である貫通孔が設けられている。貫通孔は、車幅に沿って長い長孔、丸孔、または角孔である。
【先行技術文献】
【特許文献】
【0003】
特開2016-137824号公報
【発明の概要】
【発明が解決しようとする課題】
【0004】
排気口から効率よく排気することが望まれている。排気口の開口面積を大きくすれば排気口からの排気量を増加させられるものの、排気口を有する部材の機械的強度が低下する。
【0005】
本発明の目的の一つは、排気口の開口面積を大きくしなくても排気口を通って車両の内部から外部に空気を効率よく排出し易い車両構造を提供することにある。
【課題を解決するための手段】
【0006】
(1)本発明の一態様に係る車両構造は、車両の内部から外部に空気を排出する排気口を有する板状部材を備える。前記排気口は、風上の開口幅が最も大きく、風下の開口幅が最も小さい形状を有する。
【0007】
(2)上記(1)の車両構造において、前記排気口は、第1排気口と、前記第1排気口よりも風下に並べられた第2排気口と、を有していてもよい。前記第1排気口および前記第2排気口の形状は、風上に位置する底辺と風下に位置する頂点とを有する三角形状である。前記第2排気口の前記底辺の長さは、前記第1排気口の前記底辺の長さと実質的に同じである。前記第2排気口の前記頂点の内角は、前記第1排気口の前記頂点の内角よりも大きい。
【発明の効果】
【0008】
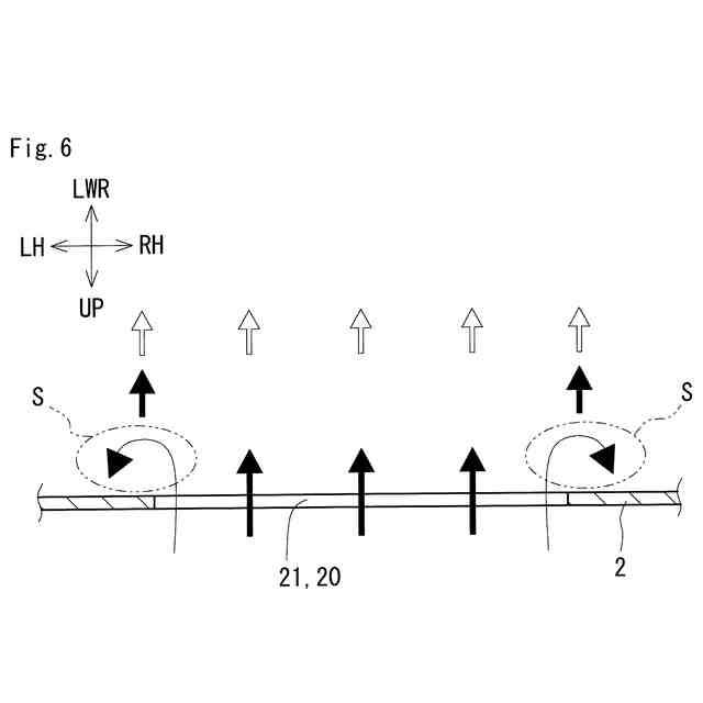
板状部材の車内側を流れる空気の流速よりも車外側を流れる空気の流速が大きくなると、この流速差によって、板状部材の車内側と車外側との間に空気の圧力差が生じる。具体的には、板状部材の車外側が車内側よりも空気の圧力が低くなる。即ち、板状部材の車外側が負圧になる。そのため、板状部材の車内側の空気が排気口から板状部材の車外側に吸い出される。上記(1)の車両構造は、排気口が上記形状を有することで、板状部材の排気口の周辺のうち排気口の開口幅が最も大きい風上よりも風下の領域の周辺と、排気口からの排出風との間に空気の密度が低くなる特定空間が形成される。上記特定空間は負圧になるため、排気口から空気がより吸い出され易くなる。上記(1)の車両構造は、排気口の開口面積が一定である場合、排気口が、風上の開口幅が最も小さく、風下の開口幅が最も大きい形状、円形状、または四角形状を有する場合に比較して、上記特定空間の大きさが大きくなり易い。そのため、上記(1)の車両構造は、排気口からの排気量を増加させ易い。よって、上記(1)の車両構造は、排気口の開口面積を大きくしなくても効率よく排気し易い。上記(1)の車両構造は、排気口の開口面積を大きくしなくてもよいので、板状部材の機械的強度に優れる。
【0009】
上記(2)の車両構造では、第2排気口の底辺の長さが第1排気口の底辺の長さと実質的に同じであり、第2排気口の頂点の内角が第1排気口の頂点の内角よりも大きいため、第2排気口の開口面積が第1排気口の開口面積よりも小さい。これに対して、第2排気口の底辺の長さが第1排気口の底辺の長さと実質的に同じであり、第2排気口の頂点の内角が第1排気口の頂点の内角と実質的に同じである第1の例の場合、第2排気口の開口面積が第1排気口の開口面積と同じ大きさである。上記(2)の車両構造は、上記第1の例に比較して、第1排気口の開口面積と第2排気口の開口面積の合計面積が小さい。そのため、上記(2)の車両構造は、上記第1の例に比較して、機械的強度に優れる。
【0010】
上記(2)の車両構造は、第1排気口および第2排気口の形状が上記三角形状であることで、第1排気口および第2排気口からの排出風と、板状部材における三角形状の斜辺沿いとの間に空気の密度が低くなる特定空間が形成される。特定空間によって、第1排気口および第2排気口から空気がより吸い出され易くなる。そのため、第1排気口および第2排気口からの排気量が増加する。第2排気口は第1排気口よりも風下に配置されているため、第1排気口からの排出風によって第2排気口から空気がより引き出され易い。そのため、第2排気口の開口面積が第1排気口の開口面積よりも小さい上記(2)の車両構造であっても、上記第1の例に比較して、排気量が少なくなり難い。よって、上記(2)の車両構造は、排気口の開口面積を大きくしなくても効率よく排気し易い。
(【0011】以降は省略されています)
この特許をJ-PlatPat(特許庁公式サイト)で参照する
関連特許
個人
カート
3か月前
個人
走行装置
3か月前
個人
電動走行車両
3か月前
個人
乗り物
5か月前
個人
駐輪設備
1か月前
個人
発音装置
7か月前
個人
閂式ハンドル錠
3か月前
個人
電動モビリティ
7か月前
個人
折り畳み自転車
10か月前
個人
自転車用歩数計
3日前
個人
自転車用傘捕捉具
11か月前
個人
ボギー・フレーム
1か月前
個人
三輪電動車両
3日前
個人
ルーフ付きトライク
1か月前
個人
“zen-go.”
2か月前
個人
自由方向乗車自転車
7か月前
個人
ルーフ付きトライク
2か月前
個人
体重掛けリフト台車
11か月前
個人
アタッチメント
11か月前
個人
パワーアシスト自転車
2か月前
個人
自転車用荷物台
11か月前
個人
キャンピングトライク
8か月前
株式会社CPM
駐輪機
12か月前
個人
ステアリングの操向部材
9か月前
株式会社三五
リアサブフレーム
10か月前
株式会社豊田自動織機
産業車両
4か月前
個人
フロントフットブレーキ。
4か月前
学校法人千葉工業大学
車両
10か月前
豊田鉄工株式会社
小型車両
3か月前
個人
ホイールハブ駆動構造
4か月前
学校法人千葉工業大学
車両
10か月前
学校法人千葉工業大学
車両
10か月前
個人
乗用自動車のディフューザー
23日前
豊田合成株式会社
操舵装置
12か月前
個人
ハブモーターの配線構造
29日前
個人
二輪車の三次元折りたたみ機構
2か月前
続きを見る
他の特許を見る