TOP
|
特許
|
意匠
|
商標
特許ウォッチ
Twitter
他の特許を見る
公開番号
2025122438
公報種別
公開特許公報(A)
公開日
2025-08-21
出願番号
2024017910
出願日
2024-02-08
発明の名称
住宅換気空調システム
出願人
個人
代理人
主分類
F24F
13/02 20060101AFI20250814BHJP(加熱;レンジ;換気)
要約
【課題】給気ダクトを短くしてダクト内汚染の問題を解消できる住宅の第一種24時間換気システムと同時に簡易な各階全体空調を実現するシステムを構築することを目的とする.
【解決手段】通行室に第一種24時間換気装置が設置され換気装置に屋内給気口が付いており,屋外から通行室へ熱交換性に給気が行われ,さらに通行室に空調機が設置されて気温が調整される.通行室から各部屋に空気が流れ,各部屋に設置された屋内排気口から排気がダクトを通って換気装置に戻り,熱交換されて屋外に排気排出される.
【選択図】図3
特許請求の範囲
【請求項1】
廊下や玄関ホール等の各部屋に接続して人が各部屋へ移動するための通路となることを目的とする屋内空間を通行室とすると,
通行室の室内もしくは小屋裏もしくは床下に24時間熱交換換気装置が設置され,屋外給気口から24時間熱交換換気装置へダクトがつながっており,24時間熱交換換気装置に直接屋内給気口があるか,もしくは24時間熱交換換気装置から短いダクトを経由して屋内給気口が通行室に設置されており,
24時間熱交換換気装置の給気ファンにて屋外給気口から屋外の空気がダクトを通って24時間換気装置に吸引され,熱交換されてから通行室へ給気が行われ,
通行室に空調機が設置されており,通行室内の気温が調節され,
通行室と各部屋の間にはドアのアンダーカットもしくはガラリ等の通気路があり,通行室から空気が各部屋へ流入し,
屋内の各部屋に屋内排気口が設置されており,屋内排気口から24時間熱交換換気装置へダクトがつながっており,24時間熱交換換気装置から屋外排気口へダクトがつながっており,
24時間熱交換換気装置の排気ファンにて各部屋からの排気が屋内排気口からダクトを通って24時間熱交換換気装置に吸引され,24時間熱交換換気装置内で熱交換が行われてから,排気は24時間熱交換換気装置からのダクトを通って屋外排気口から屋外へ排出されることにより,各階の全体に換気と空調がなされることを特徴とする第一種24時間換気システムと各階全体空調システム.
続きを表示(約 100 文字)
【請求項2】
玄関ホールを代表とする,通行室において屋外に近い部位に24時間熱交換換気装置が設置されていることを特徴とする請求項1に記載の第一種24時間換気システムと各階全体空調システム.
発明の詳細な説明
【技術分野】
【0001】
本発明は住宅の第一種24時間換気システムと各階全体空調システムに関するものである.
続きを表示(約 2,300 文字)
【背景技術】
【0002】
住宅には室内温度を調節するエアコン等の空調機にて快適な室温にする機能が必要であり高気密高断熱住宅はその室温を保持しやすくすることができるが,一方で二酸化炭素の蓄積やシックハウスの問題を解決するために屋外との換気が一定量必要である.換気システムにおいて,給気と排気をそれぞれファンで能動的に行うものを,第一種換気と呼び,適切な換気量を定常で行うことができる.さらに第一種換気には熱交換換気という室内から屋外へ排気する空気と屋外から室内へ給気する空気との間で熱を伝達させることにより,空調された空気のエネルギーを再利用して室内に送りこむことができ,空調の省エネルギー化に有効である.
【0003】
住宅の第一種熱交換換気システムは,一般的には図1のように,一台の熱交換換気装置1から各部屋へダクトにより給排気を行うシステムであり,屋外給気口2から換気装置1までつなげて屋外からの給気を送る給気ダクト(:OAダクト12)と,換気装置1から各部屋Rの屋内給気口3までつなげて給気を送る給気ダクト(:SAダクト13)と,各部屋Rの屋内排気口4から換気装置1までつなげて排気を送る排気ダクト(:RAダクト14)と換気装置1から屋外排気口5までつなげて排気を屋外に排出する排気ダクト(:EAダクト15)がある.
それらのダクトは長くて曲がりくねった蛇腹構造であり,ダクト内は経年的に大気じんやカビの胞子が蓄積されていく.特に給気ダクト内にカビや細菌の汚染があると,それが室内に供給され続けるため住人の健康に悪影響を及ぼす.ダクトは細く長く曲がっているので,ダクト内の清掃は困難であるし,ダクトの取り換えも多額の費用がかかる.そのため対応が困難で長期間安全に使用できるか疑問視されている.一方で排気ダクトは内部が多少汚染されていてもそこから発生する物質はそのまま屋外へ排出されるだけであり,大きな問題はない.
【0004】
また,ダクトの代わりに床下空間や小屋裏空間に換気装置や空調装置を設置し,それらの空間を換気空調し,それらの空間から各部屋に給気するシステムがあるが,それらの空間は隔壁が多くてよどみ易く,強い風力を必要とし,さらに,それらの空間の全体的な清掃等のメンテナンスは,人が容易に入り込める場所ではないため難しい.
【0005】
また,別の方式として,全ての部屋ごとに屋外と吸排気する換気装置と空調装置を設置する方法はダクトが不要であるが,屋外と給排気する換気口から屋外の騒音が室内へ直接侵入してしまう.また換気装置と空調装置が部屋数分の多数必要になりコストがかかる.
【0006】
高気密高断熱住宅では各階に1,2台の空調装置だけでその階の全室内をカバー(つまり,各階全体空調)できる程,空調能力は十分であり,多数の空調装置はオーバースペックで,小部屋ではむしろ温度調節が難しくなる.
【先行技術文献】
【特許文献】
【0007】
特許5094894
特開2012-21758
特許6211675
【発明の概要】
【発明が解決しようとする課題】
【0008】
給気される空気の清浄を長期にわたり維持することと,コストやメンテナンス性,防音性能を向上させるために,各部屋が直接屋外と通気することなく,長い給気用ダクトを用いず,床下空間や小屋裏空間を通気空間として用いずに住宅の第一種24時間換気システムと各階全体空調システムを構築することを目的とする.
【課題を解決するための手段】
【0009】
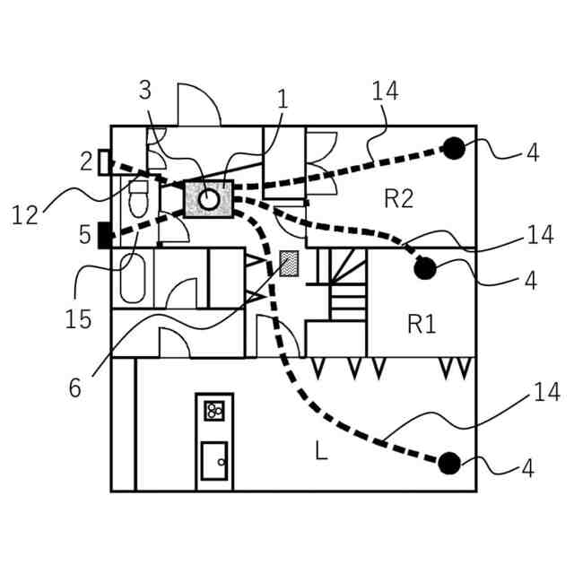
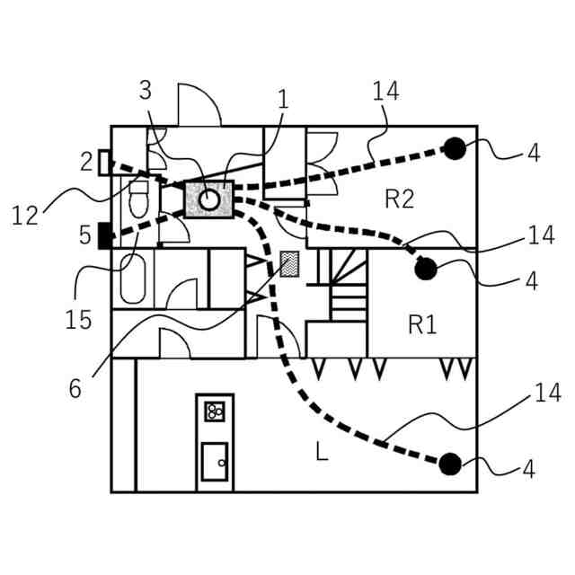
廊下や玄関ホール等の各部屋に接続して人が各部屋へ移動するための通路となることを目的とする屋内空間を通行室と呼ぶことにする.例えば,玄関ホールから廊下が続き,廊下に各部屋が接続している間取りの住宅では玄関ホールと廊下が通行室となる.廊下がなく大きな玄関ホールにリビングや各部屋が接続している間取りでは玄関ホールが通行室となる.廊下がなくリビングに各部屋が接続している間取りではリビングが通行室と居室を兼ねていることになる.
【0010】
通行室において玄関ホール等の屋外に近い部位に通行室の室内もしくは小屋裏もしくは床下に24時間熱交換換気装置が設置され,屋外給気口から24時間熱交換換気装置へダクト(OAダクト)がつながっており,24時間熱交換換気装置に直接屋内給気口があるか,もしくは24時間熱交換換気装置から2メートル以下の短いダクトを経由して屋内給気口が通行室に設置されている.
24時間熱交換換気装置の給気ファンにて屋外給気口から屋外の空気がOAダクトを通って24時間換気装置に吸引され,熱交換されてから通行室へ給気が行われる.
また,通行室に空調機が設置されており,通行室内の気温が調節される.
通行室と各部屋の間にはドアのアンダーカットもしくはガラリ等の通気路があり,通行室から空気が各部屋へ流入する.
屋内の各部屋に屋内排気口が設置されており,屋内排気口から24時間熱交換換気装置へダクト(RAダクト)がつながっており,24時間熱交換換気装置から屋外排気口へダクト(EAダクト)がつながっている.
24時間熱交換換気装置の排気ファンにて各部屋からの排気が屋内排気口からRAダクトを通って24時間熱交換換気装置に吸引され,24時間熱交換換気装置内で熱交換が行われてから,排気は24時間熱交換換気装置からのEAダクトを通って屋外排気口から屋外へ排出される.
(【0011】以降は省略されています)
特許ウォッチbot のツイートを見る
この特許をJ-PlatPat(特許庁公式サイト)で参照する
関連特許
株式会社コロナ
空調装置
6日前
株式会社コロナ
加湿装置
26日前
株式会社コロナ
空調装置
16日前
個人
太陽光パネル傾斜装置
1日前
株式会社コロナ
貯湯式給湯機
20日前
株式会社コロナ
貯湯式給湯機
12日前
株式会社コロナ
暖房システム
16日前
三菱電機株式会社
換気扇
今日
三菱電機株式会社
換気扇
今日
三菱電機株式会社
換気扇
今日
株式会社ノーリツ
給湯装置
5日前
株式会社ツインバード
加熱調理器
26日前
株式会社パロマ
湯沸器
16日前
三機工業株式会社
空調システム
16日前
ミサワホーム株式会社
目隠し体
8日前
三機工業株式会社
空調システム
14日前
オリオン機械株式会社
空調装置
今日
オリオン機械株式会社
空調装置
今日
東亜事業協同組合
空調システム
今日
南杜合同会社
折畳み式五徳
14日前
極東開発工業株式会社
給湯システム
5日前
大和ハウス工業株式会社
建物
5日前
ブラザー工業株式会社
空調機
6日前
ブラザー工業株式会社
空調機
26日前
ブラザー工業株式会社
空調機
26日前
ブラザー工業株式会社
空調機
26日前
ブラザー工業株式会社
空調機
26日前
ブラザー工業株式会社
空調機
26日前
大阪瓦斯株式会社
貯湯式給湯システム
20日前
株式会社ノーリツ
住設機器の取付構造
12日前
株式会社ノーリツ
住設機器の取付構造
12日前
リンナイ株式会社
コンロバーナ
5日前
株式会社竹中工務店
冷温水供給システム
12日前
シャープ株式会社
加湿装置
16日前
大阪瓦斯株式会社
給湯装置
16日前
大阪瓦斯株式会社
脱衣室床暖房システム
14日前
続きを見る
他の特許を見る