TOP
|
特許
|
意匠
|
商標
特許ウォッチ
Twitter
他の特許を見る
10個以上の画像は省略されています。
公開番号
2025136079
公報種別
公開特許公報(A)
公開日
2025-09-19
出願番号
2024034270
出願日
2024-03-06
発明の名称
空調機
出願人
ブラザー工業株式会社
代理人
個人
,
個人
主分類
F24F
1/0007 20190101AFI20250911BHJP(加熱;レンジ;換気)
要約
【課題】より有用性が高い空調機を提供する。
【解決手段】空調機は、水を保持する第1タンクと、前記第1タンクに係合して下方に配置され、前記第1タンクから供給される水を保持する第2タンクと、前記第1タンク及び前記第2タンクを着脱可能に内装する本体とを備える空調機であって、前記本体は、前記第1タンクを収容する第1タンク収容部と、前記第2タンクを収容する第2タンク収容部とを含み、前記第1タンク収容部に前記第1タンクが収容された際、前記第1タンクと前記第1タンク収容部とが係合する。
【選択図】図1
特許請求の範囲
【請求項1】
水を保持する第1タンクと、
前記第1タンクに係合して下方に配置され、前記第1タンクから供給される水を保持する第2タンクと、
前記第1タンク及び前記第2タンクを着脱可能に内装する本体とを備える空調機であって、
前記本体は、前記第1タンクを収容する第1タンク収容部と、前記第2タンクを収容する第2タンク収容部とを含み、
前記第1タンク収容部に前記第1タンクが収容された際、前記第1タンクと前記第1タンク収容部とが係合する
空調機。
続きを表示(約 1,300 文字)
【請求項2】
前記第1タンク収容部において、前記第1タンクが載置される載置面には、凸部が形成されており、
前記第1タンクの下部には、凹部が形成されており、
前記第1タンクの前記凹部と、前記第1タンク収容部の前記凸部とが嵌合することにより、前記第1タンクと前記第1タンク収容部とが係合する
請求項1に記載の空調機。
【請求項3】
前記第1タンク収容部の前記凸部は、前記載置面に対し傾斜する傾斜面を含み、
前記傾斜面は、前記第1タンクを前記第1タンク収容部に収容する際の挿入方向に応じて、前記載置面との距離が大きくなるように形成されている
請求項2に記載の空調機。
【請求項4】
前記第1タンクの下部には、前記第2タンクに水を供給するための給水筒部が形成されており、
前記凸部の鉛直方向の長さは、前記給水筒部の鉛直方向の長さよりも小さい
請求項2に記載の空調機。
【請求項5】
前記本体には、前記第1タンクを着脱する際に前記第1タンクが通過する着脱口が形成されており、
前記第1タンクを前記第1タンク収容部に収容した際、前記第1タンクの前記給水筒部は、前記第1タンク収容部の前記凸部よりも、前記着脱口の近くに位置する
請求項4に記載の空調機。
【請求項6】
前記第1タンクを前記第1タンク収容部に収容した際、前記第1タンクの上面と、前記第1タンク収容部における上方の内面とは、離間しており、
前記第1タンクの上面と、前記第1タンク収容部の上方の内面との離間距離は、前記第1タンクの前記給水筒部の鉛直方向の長さよりも大きい
請求項4に記載の空調機。
【請求項7】
前記第2タンクの上部には、前記第1タンクの前記給水筒部の外径よりも大きい内径の筒用孔部が、形成されており、
前記第1タンクの前記給水筒部が前記第2タンクの前記筒用孔部に篏合することにより、前記第2タンクと前記第1タンクとは係合する
請求項4に記載の空調機。
【請求項8】
前記第2タンクは、第2タンク側閉鎖弁を有し、
前記本体は、本体側閉鎖弁を有し、
前記第2タンクを前記第2タンク収容部に収容することにより、前記第2タンク側閉鎖弁及び前記本体側閉鎖弁は、開状態となって接続される
請求項1に記載の空調機。
【請求項9】
前記第2タンクから供給される水を用いて、前記本体に吸い込まれた空気を冷却する冷却ユニットと、
前記第2タンクから前記冷却ユニットに水を搬送するポンプとを備え、
前記第2タンク側閉鎖弁及び前記本体側閉鎖弁は、前記ポンプよりも上方に配置されている
請求項8に記載の空調機。
【請求項10】
前記第2タンクは、インラインフィルタを有し、
前記インラインフィルタは、前記ポンプにより搬送される水の流れ方向において、前記第2タンク側閉鎖弁よりも上流側に位置する
請求項9に記載の空調機。
(【請求項11】以降は省略されています)
発明の詳細な説明
【技術分野】
【0001】
本発明は、空調機に関する。
続きを表示(約 2,200 文字)
【背景技術】
【0002】
室内の空気を吸い込み、水の気化熱を利用し雰囲気温度を低下させて冷却した空気を室内に吹き出す気化冷却式の空調機が知られており、例えば特許文献1にて示される。特許文献1の空調機において、第2流路を流れる空気は顕熱交換器が有する複数のチューブ内を通過し、第1流路を流れる空気は複数のチューブの周りを通過する。この結果、第2流路を流れる空気と、第1流路を流れる空気と、が熱交換される。
【先行技術文献】
【特許文献】
【0003】
特開2014-092338号公報
【発明の概要】
【発明が解決しようとする課題】
【0004】
しかしながら、特許文献1の空調機においては、より有用性が高い空調機を提供する点に関する考慮がされていない。
【0005】
発明は斯かる事情に鑑みてなされたものであり、より有用性が高い空調機を提供することを目的とする。
【課題を解決するための手段】
【0006】
本開示の一態様に係る空調機は、水を保持する第1タンクと、前記第1タンクに係合して下方に配置され、前記第1タンクから供給される水を保持する第2タンクと、前記第1タンク及び前記第2タンクを着脱可能に内装する本体とを備える空調機であって、前記本体は、前記第1タンクを収容する第1タンク収容部と、前記第2タンクを収容する第2タンク収容部とを含み、前記第1タンク収容部に前記第1タンクが収容された際、前記第1タンクと前記第1タンク収容部とが係合する。
【発明の効果】
【0007】
有用性が高い空調機を提供することができる。
【図面の簡単な説明】
【0008】
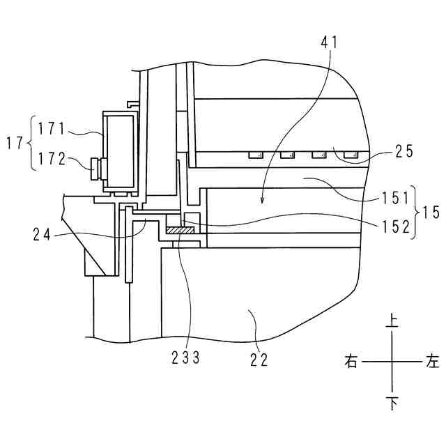
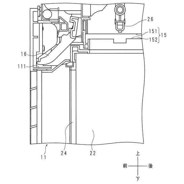
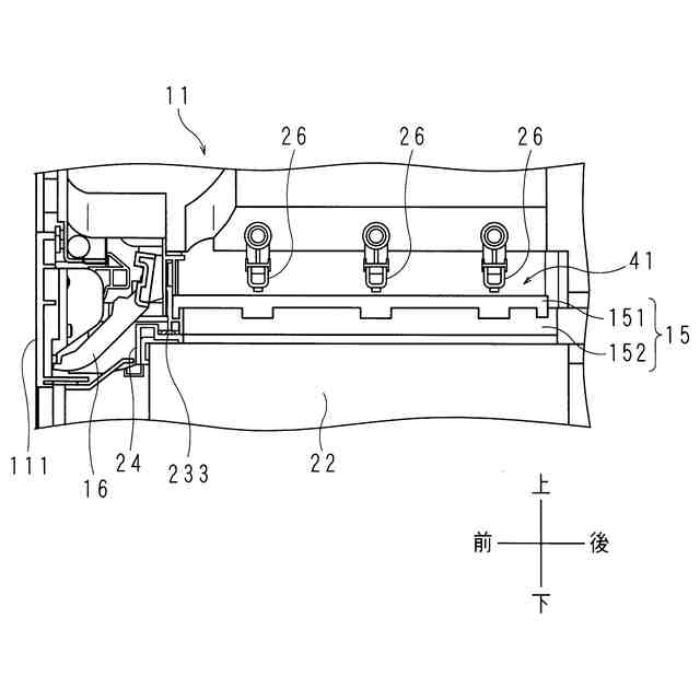
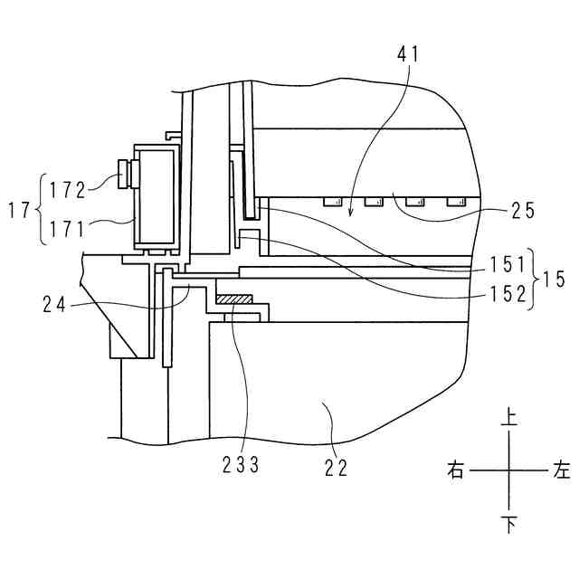
実施形態1に係る空調機の一構成例を示す模式的側断面図である。
空調機の外観を示す斜視図である。
空調機の外観において各部品の脱着を示す説明図である。
レバーの一構成例を示す模式的側断面図である。
リンク機構の一構成例を示す模式的斜視図である。
熱交換器におけるシール部材を示す模式的斜視図である。
中間流路が連結状態における模式的側断面図である。
中間流路が離間状態における模式的側断面図である。
熱交換器が取り付けられた状態におけるレバーとカバーとの配置関係を示す模式的側断面図である。
熱交換器が取り外された状態におけるレバーとカバーとの配置関係を示す模式的側断面図である。
分岐部を含む排気流路を示す模式的斜視図である。
排気流路に配置された電源基板を示す模式的斜視断面図である。
排気流路に形成された貫通孔の外観を示す模式的側断面図である。
熱交換器の下方における両端に配置された吸水部材及び滴下部材を示す模式的斜視図である。
吸水部材及び滴下部材の配置状態を示す模式的側断面図である。
吸水部材の配置状態を示す模式的斜視図である。
熱交換器の下方における中央に配置された吸水部材及び滴下部材を示す模式的斜視図である。
第1タンク及び第2タンクの係合状態を示す模式的側断面図である。
第1タンク及び第2タンクの非係合状態を示す模式的側断面図である。
第2タンク及び蓋を示す模式的斜視図である。
第2タンクの内装時における模式的側断面図である。
本体側閉鎖弁及び第2タンク側閉鎖弁を示す模式的側断面図である。
本体側閉鎖弁及び第2タンク側閉鎖弁の状態遷移を示す説明図である。
熱交換器の上方に位置する給水体を示す模式的斜視図である。
給水体を示す模式的側断面図である。
【発明を実施するための形態】
【0009】
(実施形態1)
以下、実施の形態について、図面に基づいて説明する。図1は、実施形態1に係る空調機1の一構成例を示す模式的側断面図である。空調機1は、箱状の本体11を備え、当該本体11の底部に設けられたキャスターによって、例えば工場等の被空調空間の床面に載置される。本体11は、空調機1の外郭を成す筐体を含み、当該本体11には、後述する各種の部品が内装される。図1に示す空調機1の載置状態を、当該空調機1の通常の使用態様として上下左右を示す。なお、図1は、図2におけるA-A線による断面を、図2上にて左側から模式的に示したものである。
【0010】
空調機1は、水を貯水する第1タンク71及び第2タンク72から成るタンク7、気化フィルタ21及び、熱交換器22を含む冷却ユニット2を備え、当該気化フィルタ21によって、第2タンク72から供給された水の気化熱を用いて雰囲気温度を低下させ、被空調空間を冷却するものであり、例えば気化冷却式の空調機1である。更に空調機1は、熱交換器22によって、第2タンク72から供給された水の顕熱及び気化熱を用いて雰囲気温度を低下させ、被空調空間を冷却する。すなわち、熱交換器22は、排気が流れる第1熱交換流路221と、給気が流れる第2熱交換流路222との間にて顕熱を交換する顕熱交換器として機能する。
(【0011】以降は省略されています)
この特許をJ-PlatPat(特許庁公式サイト)で参照する
関連特許
ブラザー工業株式会社
空調機
13日前
ブラザー工業株式会社
空調機
13日前
ブラザー工業株式会社
空調機
13日前
ブラザー工業株式会社
空調機
13日前
ブラザー工業株式会社
空調機
13日前
ブラザー工業株式会社
定着装置
15日前
ブラザー工業株式会社
搬送装置
1日前
ブラザー工業株式会社
カセット
13日前
ブラザー工業株式会社
カセット
13日前
ブラザー工業株式会社
制御装置
3日前
ブラザー工業株式会社
カセット
13日前
ブラザー工業株式会社
カセット
13日前
ブラザー工業株式会社
画像形成装置
15日前
ブラザー工業株式会社
画像形成装置
7日前
ブラザー工業株式会社
画像形成装置
13日前
ブラザー工業株式会社
画像形成装置
3日前
ブラザー工業株式会社
液体吐出装置
7日前
ブラザー工業株式会社
液体吐出装置
7日前
ブラザー工業株式会社
画像形成装置
13日前
ブラザー工業株式会社
画像形成装置
21日前
ブラザー工業株式会社
画像形成装置
13日前
ブラザー工業株式会社
画像形成装置
今日
ブラザー工業株式会社
液体吐出ヘッド
14日前
ブラザー工業株式会社
液体吐出ヘッド
3日前
ブラザー工業株式会社
液体吐出ヘッド
14日前
ブラザー工業株式会社
液体吐出ヘッド
15日前
ブラザー工業株式会社
圧電アクチュエータ
14日前
ブラザー工業株式会社
サポートプログラム
6日前
ブラザー工業株式会社
システム及び管理装置
1日前
ブラザー工業株式会社
システム及びプログラム
1日前
ブラザー工業株式会社
システム及びプログラム
1日前
ブラザー工業株式会社
ミシン及びミシン制御方法
21日前
ブラザー工業株式会社
システムおよび画像形成装置
7日前
ブラザー工業株式会社
プリンタ、及び切断ユニット
3日前
ブラザー工業株式会社
システムおよび画像形成装置
7日前
ブラザー工業株式会社
システムおよび画像形成装置
7日前
続きを見る
他の特許を見る