TOP
|
特許
|
意匠
|
商標
特許ウォッチ
Twitter
他の特許を見る
公開番号
2025142531
公報種別
公開特許公報(A)
公開日
2025-10-01
出願番号
2024041950
出願日
2024-03-18
発明の名称
空調システム
出願人
三機工業株式会社
代理人
個人
主分類
F24F
11/63 20180101AFI20250924BHJP(加熱;レンジ;換気)
要約
【課題】人的資源の浪費を招くことなく、出口配管の水抜きを確実に行うことができる空調システムを提供する。
【解決手段】空調システム1は、滴下給水されることで水分を浸透可能な加湿モジュールを外気が通過することで外気を加湿可能な滴下浸透気化式の加湿器を有する外調機と、純水を精製するための水処理装置202を具備するとともに、出口配管28を通して加湿器に純水を供給可能な純水装置21,22とを備える。出口配管28内の水に係る比抵抗値が第一下限値L以下となり、かつ、タイマー261により計測された水処理装置302の停止時間が第一停止時間T1以上となった場合、又は、タイマー261により計測された水処理装置302の停止時間が第一停止時間T1よりも第二停止時間T2以上となった場合、放流弁24が開かれることで、出口配管28内の水が自動的に放流される。
【選択図】 図1
特許請求の範囲
【請求項1】
外気を加湿可能な加湿器を有し、該加湿器によって、取入れた外気を加湿した上で対象空間に供給可能な外調機と、
純水の精製に用いられる水処理装置を具備するとともに、所定の出口配管を通して前記加湿器に対し純水を供給可能な純水装置とを備えた空調システムであって、
前記出口配管内の水の比抵抗値を計測する比抵抗値計測手段と、
前記出口配管に設けられ、前記出口配管内の水の放流可否を切換可能な放流弁と、
前記水処理装置の停止時間を計測するタイマーと、
前記比抵抗値計測手段により計測された比抵抗値、及び、前記タイマーにより計測された停止時間に基づき、前記放流弁の開閉を制御可能な放流弁制御手段とを備え、
前記放流弁制御手段は、前記比抵抗値計測手段により計測された比抵抗値が所定の第一下限値L以下となり、かつ、前記タイマーにより計測された停止時間が所定の第一停止時間T1以上となった場合、又は、前記タイマーにより計測された停止時間が前記第一停止時間T1よりも長い第二停止時間T2以上となった場合、前記放流弁を開くことで、前記出口配管内の水を放流可能に構成されていることを特徴とする空調システム。
続きを表示(約 390 文字)
【請求項2】
前記比抵抗値計測手段により計測された比抵抗値が前記第一下限値Lよりも小さな第二下限値LL以下となった場合に、所定の警告を行う警告手段を備えることを特徴とする請求項1に記載の空調システム。
【請求項3】
前記加湿器は、滴下給水されることで水分を浸透可能な加湿モジュールを有し、該加湿モジュールを外気が通過することで外気を加湿可能な滴下浸透気化式の加湿器であり、
前記純水装置から前記加湿モジュールに対する給水量を調節可能な制御弁と、
前記加湿モジュールを通過し、前記外調機から前記対象空間に供給される外気における露点温度を計測する給気露点温度計測手段と、
前記給気露点温度計測手段により計測された露点温度に基づき、前記制御弁の開度を比例制御する給水量制御手段とを備えることを特徴とする請求項1に記載の空調システム。
発明の詳細な説明
【技術分野】
【0001】
本発明は、外気を取入れるとともに、取入れた外気の湿度を調節可能な外調機を有する空調システムに関する。
続きを表示(約 2,100 文字)
【背景技術】
【0002】
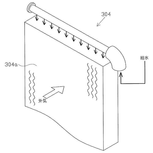
従来、外気の温度や湿度の調節を行った上で、温度等の調節された外気を所定の対象空間(例えば建物内空間)に供給する外調機を備えた空調システムが知られている(例えば、特許文献1等参照)。また、外調機としては、滴下浸透気化式の加湿器を備えたものが知られている(例えば、特許文献2等参照)。この種の加湿器は、滴下給水されることで水分を浸透可能な加湿モジュールを有しており、この加湿モジュールを通過した外気を加湿する。
【0003】
また、従来、蒸発残留物の析出を抑制して加湿器の保全を図るべく、外調機(加湿器)に対し純水(例えば、比抵抗値が0.1~1.5MΩ・cmの水)を供給することが行われている。外調機(加湿器)に純水を供給するにあたっては、外部から取り込んだ水の不純物を除去することで純水を精製し、精製した純水を所定の出口配管を通して加湿器へと供給可能な純水装置を設けることが考えられる。
【先行技術文献】
【特許文献】
【0004】
特開2024-18372号公報
特開2019-190691号公報
【発明の概要】
【発明が解決しようとする課題】
【0005】
ところで、外気の加湿が必要でない時期には、加湿器に対する給水が不要となるため、出口配管内に水が滞留することがある。この滞留した水は、徐々に不純物を含むものとなるから、加湿が必要となった時期に、この水を加湿器へとそのまま供給することは加湿器の保全などの点から好ましくはない。そこで、例えば、出口配管に放流弁を設け、管理者等が該放流弁を所定時期にて操作することにより、出口配管の水抜きを手動で定期的に行うことが考えられる。
【0006】
しかしながら、手動によって水抜きを行う場合には、水抜き作業を忘れてしまうおそれがある。さらに、水抜き作業を忘れることなく行ったとしても、その作業には手間を要するから、人的資源の浪費を招くおそれがある。
【0007】
本発明は、上記事情に鑑みてなされたものであり、人的資源の浪費を招くことなく、出口配管の水抜きを適切なタイミングで確実に行うことができる空調システムを提供することにある。
【課題を解決するための手段】
【0008】
以下、上記目的を解決するのに適した各手段につき、項分けして説明する。なお、必要に応じて対応する手段に特有の作用効果を付記する。
【0009】
手段1.外気を加湿可能な加湿器を有し、該加湿器によって、取入れた外気を加湿した上で対象空間に供給可能な外調機と、
純水の精製に用いられる水処理装置を具備するとともに、所定の出口配管を通して前記加湿器に対し純水を供給可能な純水装置とを備えた空調システムであって、
前記出口配管内の水の比抵抗値を計測する比抵抗値計測手段と、
前記出口配管に設けられ、前記出口配管内の水の放流可否を切換可能な放流弁と、
前記水処理装置の停止時間を計測するタイマーと、
前記比抵抗値計測手段により計測された比抵抗値、及び、前記タイマーにより計測された停止時間に基づき、前記放流弁の開閉を制御可能な放流弁制御手段とを備え、
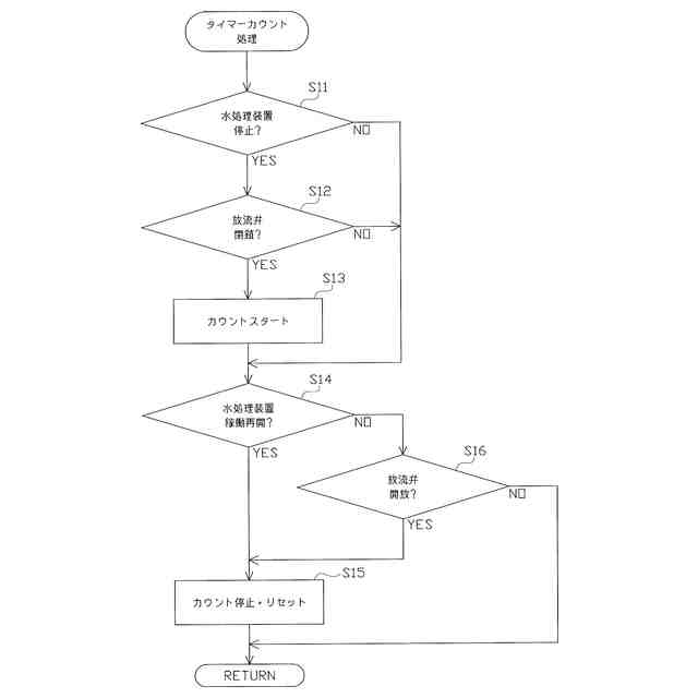
前記放流弁制御手段は、前記比抵抗値計測手段により計測された比抵抗値が所定の第一下限値L以下となり、かつ、前記タイマーにより計測された停止時間が所定の第一停止時間T1以上となった場合、又は、前記タイマーにより計測された停止時間が前記第一停止時間T1よりも長い第二停止時間T2以上となった場合、前記放流弁を開くことで、前記出口配管内の水を放流可能に構成されていることを特徴とする空調システム。
【0010】
上記手段1によれば、比抵抗値計測手段により計測された比抵抗値が第一下限値L以下となり、かつ、タイマーにより計測された停止時間が第一停止時間T1以上となった場合、又は、タイマーにより計測された停止時間が第一停止時間T1よりも長い第二停止時間T2以上となった場合、放流弁制御手段によって放流弁が開かれることで、出口配管内の水が放流される。つまり、水処理装置が比較的短時間だけ停止している状態において、出口配管内に滞留した水における不純物の量がある程度増加した場合、又は、水処理装置が比較的長期間に亘って停止しており、出口配管内の水が外調機(加湿器)への供給に適さない状態になっている蓋然性が高いと推定される場合には、出口配管の水抜きが自動的に行われる。従って、出口配管の水抜きを忘れることなく適切なタイミングで確実に行うことができる。その結果、結果的に外調機(加湿器)に対し純水を適切に供給することができ、ひいては加湿器の保全をより効果的に図ることができる。また、加湿器の保全に係るコストの低減を図ることも可能となるから、結果的に、空調システム全体のランニングコストについても低減させることができる。
(【0011】以降は省略されています)
この特許をJ-PlatPat(特許庁公式サイト)で参照する
関連特許
三機工業株式会社
ろ過装置
1か月前
三機工業株式会社
空調システム
8日前
三機工業株式会社
吊下作業方法
1日前
三機工業株式会社
吊下作業方法
1日前
三機工業株式会社
空調システム
10日前
三機工業株式会社
制気口の検査装置
2か月前
三機工業株式会社
負荷温度制御システム
1か月前
三機工業株式会社
クリーンルームの空調システム
2か月前
三機工業株式会社
散水式の浄化装置及び浄化方法
1か月前
三機工業株式会社
貫通穴の止水構造および止水方法
2か月前
三機工業株式会社
動作装置の位置確認機構および装置
7日前
三機工業株式会社
クリーンルームの風量制御システム
1か月前
三機工業株式会社
ダクトの吊下作業方法およびシステム
1か月前
三機工業株式会社
クレーン運転システム及びごみ処理方法
2日前
三機工業株式会社
クレーン運転システム及びごみ処理方法
2日前
三機アクアテック株式会社
汚泥かき寄せ装置
2日前
三機工業株式会社
施工管理装置、施工管理方法、及び施工管理プログラム
1日前
三機工業株式会社
壁吸い込みフィルタユニットのパンチングフェースおよび戸袋の構造
今日
三機工業株式会社
ログデータ分析用のサーバ装置、プログラム、データ分析システム、及びデータ分析方法
8日前
個人
空気調和機
4か月前
個人
エアコン室内機
4か月前
株式会社コロナ
空調装置
1か月前
株式会社コロナ
空調装置
29日前
株式会社コロナ
空調装置
3か月前
株式会社コロナ
加湿装置
4か月前
株式会社コロナ
給湯装置
2か月前
株式会社コロナ
空調装置
今日
株式会社コロナ
空調装置
10日前
株式会社コロナ
加湿装置
20日前
株式会社コロナ
空気調和機
2か月前
株式会社コロナ
空気調和機
1か月前
個人
住宅換気空調システム
1か月前
株式会社コロナ
風呂給湯機
28日前
ホーコス株式会社
排気フード
2か月前
株式会社コロナ
貯湯式給湯機
6日前
株式会社パロマ
給湯器
3か月前
続きを見る
他の特許を見る