TOP
|
特許
|
意匠
|
商標
特許ウォッチ
Twitter
他の特許を見る
公開番号
2025155456
公報種別
公開特許公報(A)
公開日
2025-10-14
出願番号
2024067088
出願日
2024-04-01
発明の名称
太陽光パネル傾斜装置
出願人
個人
代理人
主分類
F24S
50/20 20180101AFI20251006BHJP(加熱;レンジ;換気)
要約
【課題】台風などの強風に耐えることができ、太陽光パネルの方向を変えることができる太陽光パネル傾斜装置を提供する。
【解決手段】減速機付きモーター11によるチェーン駆動にて中心シャフトを中心にして、太陽光パネル1を傾斜して、太陽に追尾する太陽光パネル傾斜装置。前記の太陽光パネル傾斜装置は太陽光パネル取り付け板2に太陽光パネル1が設置され、太陽光パネル取り付け板2の下に中心シャフト固定ブロック4が、取り付けられ中心シャフト固定ブロック4には中心シャフトが入っており中心シャフトを中心に太陽光パネル1が回転移動する。固定ブロック4は中心シャフト固定用支柱5で大地に固定されている太陽光パネル傾斜装置。
【選択図】図1
特許請求の範囲
【請求項1】
減速機付きモーター11によるチェーン駆動にて中心シャフトを中心にして、太陽光パネル1を傾斜して、太陽に追尾する太陽光パネル傾斜装置
前記の太陽光パネル傾斜装置は太陽光パネル取り付け板2に太陽光パネル1が設置され太陽光パネル取り付け板2の下に中心シャフト固定ブロック4が、取り付けられ中心シャフト固定ブロック4には中心シャフトが入っており中心シャフトを中心に太陽光パネル1が回転移動します、固定ブロック4は中心シャフト固定用支柱5で大地に固定されている太陽光パネル傾斜装置
前記の太陽光パネル取り付け板2にチェーン取り付け案内板13(半円形状なっている)が取り付けられ、このチェーン取り付け案内板13の外周にチェーンが沿うように取り付けられスプロケット9の3個を、経由して太陽光パネル取り付け板2の両側にチェーン固定ブロック6(チェーンたるみ調整付き)で、チェーンを固定する太陽光パネル傾斜装置
前記のスプロケット9はスプロケット支え支柱14と15で大地に固定されており減速機付きモーター11と電磁ブレーキ12が付いたモーター11が駆動することにより、スプロケット9を回転させることによりチェーン7を経由して、中心シャフト3を中心に太陽光パネルを傾斜することが出来る太陽光パネル傾斜装置
前記のモーター11の減速機は400分の1位で強風や台風の時は電磁ブレーキも利用する太陽光パネル傾斜装置
前記の太陽光パネル傾斜装置に取り付けられたスイッチ格納ボックス16内のスイッチ18を起点にしてコンピュウターによりモーターを回しタイマーで制御して太陽光パネル1を傾斜して使用する太陽光パネル傾斜装置
続きを表示(約 230 文字)
【請求項2】
請求項1の太陽光パネル傾斜装置のスイッチ18が、作動することにより太陽光パネル取り付け板2が、これ以上傾斜しない様にする為の防止用スイッチ18です、
スイッチ18を起点にしてコンピュウターによりモーター11を回し、タイマーで制御して太陽光パネル1を傾斜して使用し、四季によりプログラムを変えておく太陽光パネル傾斜装置
請求項1で図面1太陽光パネル取り付け板2のR寸法は重要で円滑な動きが出来るように精度必要な太陽光パネル傾斜装置
発明の詳細な説明
【技術分野】
【0001】
続きを表示(約 1,600 文字)
【背景技術】
【0002】
現状利用されている太陽光パネルは、固定式が多く発電効率が悪く、太陽の動きに合わせて太陽光パネルが移動する装置が少なく設置コストの安く強風に耐える構造のものが少ない。
【先行技術文献】
【特許文献】
【0003】
特開 2011-243934
特許 7433691
実登 3207547
【発明の概要】
【発明が解決しようとする課題】
【0005】
現状利用されている太陽光パネルは、固定式が多く雪国の積雪の問題などによる発電効率が悪く太陽光パネルが、フルに利用されていない。
【課題を解決するための手段】
【0006】
チェーン駆動による太陽光パネルを傾ける装置が強固なことにより、太陽光パネルを太陽の方向に傾け移動することにより発電効率が上がり、
雪国の積雪の問題では太陽光パネルを垂直近くまで倒して、回避することが出来る。
強風の時や台風などの強風に耐える構造であり太陽光パネルの方向を変えることで回避することが可能です。
【発明の効果】
【0007】
太陽光パネルを太陽の方向に傾けることにより発電効率が上がり、太陽光パネルを傾ける構造がシンプルなことにより、実用性があります。
【図面の簡単な説明】
【0008】
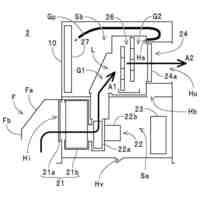
外観図 太陽光パネル取り付け板2に太陽光パネル1が設置されており。太陽光パネル取り付け板2の下に中心シャフト固定ブロック4が、取り付けられ中心シャフト固定ブロック4には、中心シャフトが入っており中心シャフトを中心に太陽光パネル1が回転移動します。中心シャフト固定ブロック4が中心シャフト固定用支柱5で大地に固定されている。太陽光パネル取り付け板2にチェーン取り付け案内板13が取り付けられ、このチェーン取り付け案内板13(半円形状なっている)にチェーンが外周上に沿うように取り付けられスプロケット9の3個を、経由してチェーン固定ブロック6でセットされています。スプロケット9はスプロケット支え支柱14と15で固定されておりチェーン固定ブロック6はチェーンたるみ調整付き、減速機10にモーター11と電磁ブレーキ12が付いたモーター11が駆動することにより、スプロケット9を回転させることによりチェーン7を経由して、中心シャフト3を中心に太陽光パネルを傾斜することが出来ます。減速機は400分の1位で強風や台風の時は電磁ブレーキも利用します。スイッチ格納ボックス内のスイッチ18を起点にしてコンピュウターによりモーターを回し、タイマーで制御して太陽光パネル1を傾斜して使用します。
【0009】
太陽光パネル傾斜図 駆動シャフト8が回転することにより、スプロケット9が回転してチェーン駆動して、太陽光パネルが傾斜した図です。
【0010】
スイッチ格納ボックス 中心シャフト3にスイッチ取り付け板17が取り付けられており、そのスイッチ取り付け板17にスイッチ18取り付けられている。太陽光パネル取り付け板2にスイッチ格納ボックス16が取り付けられており、スイッチ格納ボックスの1部19にスイッチ用コマ20が、スイッチ用コマ取り付けボルト21で取り付けられている。太陽光パネル取り付け板2が移動することによりスイッチ用コマ20がスイッチ18を作動させることが出来る。スイッチ18は作動することにより太陽光パネル取り付け板2がこれ以上傾斜しない様にする為の、防止用スイッチ18です。スイッチ18を起点にしてコンピュウターによりモーターを回し、タイマーで制御して太陽光パネル1を傾斜して使用します。
(【0011】以降は省略されています)
この特許をJ-PlatPat(特許庁公式サイト)で参照する
関連特許
株式会社コロナ
空調装置
6日前
株式会社コロナ
加湿装置
26日前
株式会社コロナ
空調装置
16日前
株式会社コロナ
空調装置
1か月前
株式会社コロナ
空調装置
2か月前
個人
太陽光パネル傾斜装置
1日前
株式会社コロナ
風呂給湯機
1か月前
株式会社コロナ
空気調和機
1か月前
個人
住宅換気空調システム
1か月前
株式会社コロナ
暖房システム
16日前
株式会社コロナ
直圧式給湯機
1か月前
株式会社コロナ
貯湯式給湯機
12日前
株式会社コロナ
貯湯式給湯機
20日前
ホーコス株式会社
換気扇取付枠
1か月前
株式会社コロナ
輻射式冷房装置
1か月前
三菱電機株式会社
換気扇
今日
三菱電機株式会社
換気扇
今日
三菱電機株式会社
換気扇
今日
株式会社ツインバード
加熱調理器
26日前
株式会社ノーリツ
給湯装置
5日前
個人
籾殻(そば殻)燃焼ストーブ
1か月前
株式会社パロマ
湯沸器
16日前
株式会社コロナ
壁掛式石油給湯装置
1か月前
大阪瓦斯株式会社
加熱調理器
1か月前
個人
小型壁掛け貯湯タンクの利用方法
1か月前
株式会社鈴木住建
換気システム
2か月前
三機工業株式会社
空調システム
16日前
株式会社西部技研
外気処理空気調和機
1か月前
三機工業株式会社
空調システム
14日前
東亜事業協同組合
空調システム
今日
ミサワホーム株式会社
目隠し体
8日前
オリオン機械株式会社
空調装置
今日
オリオン機械株式会社
空調装置
今日
リンナイ株式会社
温水装置
2か月前
株式会社竹中工務店
給湯システム
1か月前
シャープ株式会社
送風装置
1か月前
続きを見る
他の特許を見る