TOP
|
特許
|
意匠
|
商標
特許ウォッチ
Twitter
他の特許を見る
10個以上の画像は省略されています。
公開番号
2025147926
公報種別
公開特許公報(A)
公開日
2025-10-07
出願番号
2024048441
出願日
2024-03-25
発明の名称
目隠し体
出願人
ミサワホーム株式会社
代理人
個人
主分類
F24F
13/20 20060101AFI20250930BHJP(加熱;レンジ;換気)
要約
【課題】本発明は、本発明の目的は、汎用性が高く、設置が容易であり、目隠し対象の吸い込み・吹き出しに影響を及ぼしづらい目隠し体を提供することを目的とする。
【解決手段】 壁(11)に取り付けられる対象物(19)を覆い隠す目隠し体(30)は、一対のサイドフレーム(41)、フロント桟(48)及びフロントルーバー(60)を備える。前記サイドフレーム(41)は、前記対象物(19)の両側において前記壁(11)に取り付けられる.前記フロント桟(48)は、前記対象物(19)の前において前記一対のサイドフレーム(41)の間に架け渡される。前記フロントルーバー(60)は、前記一対のサイドフレーム(41)及び前記フロント桟(48)の正面に取り付けられる。
【選択図】図3
特許請求の範囲
【請求項1】
壁に取り付けられる対象物を覆い隠す目隠し体であって、
前記対象物の両側において前記壁に取り付けられる一対のサイドフレームと、
前記対象物の前において前記一対のサイドフレームの間に架け渡されるフロント桟と、
前記一対のサイドフレーム及び前記フロント桟の正面に取り付けられるフロントルーバーと、
を備えることを特徴とする目隠し体。
続きを表示(約 1,000 文字)
【請求項2】
請求項1に記載の目隠し体であって、
前記フロントルーバーの背面に固定され、前記フロント桟の上から前記フロント桟に引っ掛けられるフック
を備えることを特徴とする目隠し体。
【請求項3】
請求項2に記載の目隠し体であって、
前記フロントルーバーの背面と前記サイドフレームの正面のうち一方に取り付けられ、他方を吸着する吸着部
を備えることを特徴とする目隠し体。
【請求項4】
請求項2又は3に記載の目隠し体であって、
前記フックが前記フロント桟の中心軸の回りに回転可能に前記フロント桟に引っ掛けられている
ことを特徴とする目隠し体。
【請求項5】
請求項4に記載の目隠し体であって、
前記フックが、
前記フロントルーバーの背面に固定され、前記フロント桟の正面に面接触するベースと、
前記ベースから後方に曲げられて、前記フロント桟の上面に面接触する曲げ片と、
前記曲げ片から上に前記曲げ片に対して斜めに曲げられ、前記フロント桟の上面から浮いた第1板バネと、
前記第1板バネから下に曲げられて、前記フロント桟の後ろに当てられる第2板バネと、
を有する
ことを特徴とする目隠し体。
【請求項6】
請求項2又は3に記載の目隠し体であって、
前記フロントルーバーが、
縦方向に延びる縦桟と、
前記縦桟の前に固定され、横方向に延び、間隔を置いて前記縦桟に沿って縦方向に並ぶ複数の羽板と、を有し、
前記フックが前記複数の羽板の何れかと一緒にネジによって前記縦桟に固定される
ことを特徴とする目隠し体。
【請求項7】
請求項2又は3に記載の目隠し体であって、
前記フロントルーバーに対するフックの固定位置が上下方向に調整可能である
ことを特徴とする目隠し体。
【請求項8】
請求項2又は3に記載の目隠し体であって、
前記一対のサイドフレームの一方又は両方の側面に取り付けられる1体又は2体のサイドルーバー
を備え、
前記サイドフレームが枠状に設けられている
ことを特徴とする目隠し体。
【請求項9】
請求項1又は2に記載の目隠し体であって、
前記フロント桟が、前記対象物の前において前記一対のサイドフレームの上端の間に架け渡される
ことを特徴とする目隠し体。
発明の詳細な説明
【技術分野】
【0001】
本発明は、目隠し体に関する。
続きを表示(約 1,800 文字)
【背景技術】
【0002】
非特許文献1は、空調装置の室内機を覆い隠す目隠し構造を開示する。具体的には、収納空間がクローゼットの上に設けられており、室内機が収納空間の奥の壁に設置され、ルーバーが収納空間の開口に設置され、室内機がルーバーの裏に覆い隠されている。ルーバーが跳ね上げ式ヒンジによって開口の上縁に連結され、ルーバーが振り上げられることによって開口が開放され、ルーバーが振り下げられることによって開口がルーバーによって閉じられる。収納空間がクローゼットの内部空間と一緒に施工されることから、この目隠し構造の作製が難しい上、この目隠し構造は汎用性が無い。室内機が収納空間の内側に収まるため、室内機の上下左右の内壁面が室内機の吸排気に支障を及ぼす。更に、室内機の清掃及びメンテナンスも行いにくい。
【先行技術文献】
【非特許文献】
【0003】
インターネット<URL:https://marushin-tategu.com/archives/555>
【発明の概要】
【発明が解決しようとする課題】
【0004】
本発明は上記事情に鑑みてなされたものであり、本発明の目的は、汎用性が高く、設置が容易であり、目隠し対象の吸い込み・吹き出しに影響を及ぼしづらい目隠し体を提供することである。
【課題を解決するための手段】
【0005】
以下の括弧書きで示された参照符号は図1~図12において参照される。
【0006】
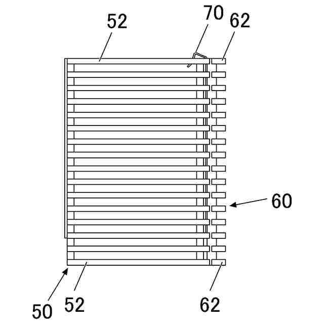
請求項1によれば、
壁(11)に取り付けられる対象物(19)を覆い隠す目隠し体(30)であって、
前記対象物(19)の両側において前記壁(11)に取り付けられる一対のサイドフレーム(41)と、
前記対象物(19)の前において前記一対のサイドフレーム(41)の間に架け渡されるフロント桟(48)と、
前記一対のサイドフレーム(41)及び前記フロント桟(48)の正面に取り付けられるフロントルーバー(60)と、
を備えることを特徴とする目隠し体(30)が提供される。
【0007】
以上のような請求項1によれば、一対のサイドフレーム(41)を対象物(19)の両側において壁(11)に取り付け、フロント桟(48)を一対のサイドフレーム(41)の間に架け渡し、フロントルーバー(60)を一対のサイドフレーム(41)及びフロント桟(48)の正面に取り付ければ、対象物(19)が目隠し体(30)によって覆い隠される。このような目隠し体(30)は壁(11)に取り付けられた様々な種類の対象物(19)を覆い隠すに適しており、目隠し体(30)の汎用性が高い。このような目隠し体(30)の設置が容易である。
一対のサイドフレーム(41)が対象物(19)の両側において壁(11)に取り付けられ、フロントルーバー(60)がサイドフレーム(41)及びフロント桟(48)の正面に取り付けられているため、目隠し体(30)の上面及び下面が開放され、目隠し体(30)の正面がフロントルーバー(60)によって構成される。対象物(19)が空調装置の室内機等のように空気の流れを発生させるものであれば、このような目隠し体(30)が対象物(19)の吸い込み・吹き出しに影響を及ぼしづらい。
【0008】
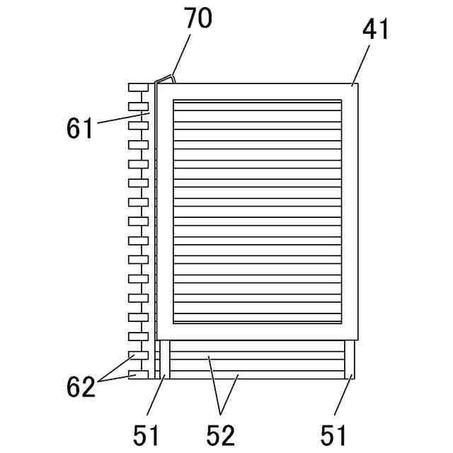
請求項2によれば
請求項1に記載の目隠し体(30)であって、
前記フロントルーバー(60)の背面に固定され、前記フロント桟(48)の上から前記フロント桟(48)に引っ掛けられるフック(70)
を備えることを特徴とする目隠し体(30)が提供される。
【0009】
以上のような請求項2によれば、フック(70)をフロント桟(48)の上からフロント桟(48)に引っ掛ければ、フロントルーバー(60)がフロント桟(48)及びサイドフレーム(41)の正面に容易に取り付けられる。
【0010】
請求項3によれば、
請求項2に記載の目隠し体(30)であって、
前記フロントルーバー(60)の背面と前記サイドフレーム(41)の正面のうち一方に取り付けられ、他方を吸着する吸着部(80)
を備えることを特徴とする目隠し体(30)が提供される。
(【0011】以降は省略されています)
この特許をJ-PlatPat(特許庁公式サイト)で参照する
関連特許
ミサワホーム株式会社
外構
9日前
ミサワホーム株式会社
複合梁
9日前
ミサワホーム株式会社
目隠し体
12日前
ミサワホーム株式会社
外壁支持構造
10日前
ミサワホーム株式会社
ベンチの設置方法
9日前
ミサワホーム株式会社
屋外設置物の支持構造
10日前
個人
空気調和機
4か月前
個人
エアコン室内機
4か月前
株式会社コロナ
給湯装置
2か月前
株式会社コロナ
加湿装置
4か月前
株式会社コロナ
空調装置
20日前
株式会社コロナ
空調装置
3か月前
株式会社コロナ
空調装置
1か月前
株式会社コロナ
空調装置
2か月前
株式会社コロナ
加湿装置
1か月前
株式会社コロナ
空調装置
10日前
個人
住宅換気空調システム
1か月前
株式会社コロナ
風呂給湯機
1か月前
個人
太陽光パネル傾斜装置
5日前
株式会社コロナ
空気調和機
2か月前
株式会社コロナ
空気調和機
1か月前
株式会社パロマ
給湯器
3か月前
株式会社コロナ
貯湯式給湯機
16日前
ホーコス株式会社
排気フード
2か月前
株式会社コロナ
貯湯式給湯機
24日前
株式会社コロナ
直圧式給湯機
1か月前
個人
シンプルクーラー
3日前
株式会社コロナ
直圧式給湯機
3か月前
株式会社コロナ
暖房システム
20日前
株式会社コロナ
貯湯式給湯機
4か月前
株式会社コロナ
貯湯式給湯装置
4か月前
株式会社コロナ
貯湯式給湯装置
4か月前
株式会社コロナ
輻射式冷房装置
1か月前
ホーコス株式会社
換気扇取付枠
1か月前
株式会社コロナ
貯湯式給湯装置
3か月前
三菱電機株式会社
換気扇
4日前
続きを見る
他の特許を見る