TOP
|
特許
|
意匠
|
商標
特許ウォッチ
Twitter
他の特許を見る
公開番号
2025122873
公報種別
公開特許公報(A)
公開日
2025-08-22
出願番号
2024018581
出願日
2024-02-09
発明の名称
熱処理装置
出願人
大陽日酸株式会社
代理人
弁理士法人志賀国際特許事務所
主分類
F27B
5/08 20060101AFI20250815BHJP(炉,キルン,窯;レトルト)
要約
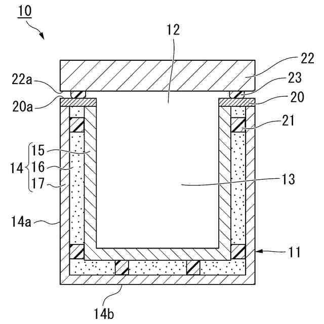
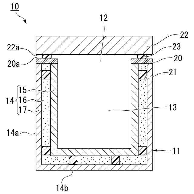
【課題】構造が複雑になりにくく、エネルギー損失等の課題を解決することが可能な熱処理装置を提供する。
【解決手段】対象物を少なくとも冷却処理することが可能な処理槽11を備える熱処理装置10であって、前記処理槽11は、開口部12を囲む内壁15と、前記内壁15の外側に配置された断熱材16と、前記開口部12の周囲の端面20aを構成する端面材20とを備え、前記端面材20の材質は、前記内壁15の材質よりも熱伝導率が低い。
【選択図】図1
特許請求の範囲
【請求項1】
対象物を少なくとも冷却処理することが可能な処理槽を備える熱処理装置であって、
前記処理槽は、開口部を囲む内壁と、前記内壁の外側に配置された断熱材と、前記開口部の周囲の端面を構成する端面材とを備え、
前記端面材の材質は、前記内壁の材質よりも熱伝導率が低いことを特徴とする、熱処理装置。
続きを表示(約 640 文字)
【請求項2】
前記端面材の材質は、前記内壁の材質よりも比熱が大きいことを特徴とする、請求項1に記載の熱処理装置。
【請求項3】
前記処理槽は、前記断熱材の外側を覆う外壁と、前記内壁と前記外壁との間を連結する補強材を備え、
前記補強材の材質は、前記内壁の材質よりも熱伝導率が低いことを特徴とする、請求項1に記載の熱処理装置。
【請求項4】
前記補強材の材質は、前記内壁の材質よりも比熱が大きいことを特徴とする、請求項3に記載の熱処理装置。
【請求項5】
前記熱処理装置は、前記処理槽に向かい合って前記開口部を塞ぐ蓋と、前記蓋と前記端面材との間に配置されるパッキンとを備え、
前記パッキンが前記端面材に接触する位置は、前記パッキンが前記断熱材に向かい合う位置または前記断熱材よりも外側に向かい合う位置であることを特徴とする、請求項1に記載の熱処理装置。
【請求項6】
前記処理槽の内部の温度が-196℃~+200℃の範囲内で制御されることを特徴とする、請求項1に記載の熱処理装置。
【請求項7】
前記熱処理装置は、前記処理槽に向かい合って前記開口部を塞ぐ蓋と、前記蓋と前記端面材との間に配置されるパッキンとを備え、
前記端面材の、前記蓋と向かい合う前記端面が平坦であり、かつ、前記蓋の、前記端面材と向かい合う対向面が平坦であることを特徴とする、請求項1に記載の熱処理装置。
発明の詳細な説明
【技術分野】
【0001】
本発明は、熱処理装置に関する。
続きを表示(約 1,900 文字)
【背景技術】
【0002】
金属熱処理分野では、鋼における経年変形の防止や耐摩耗性・硬度の向上を目的として、焼入れした鋼を0℃以下に急速冷却するサブゼロ処理が行われている(例えば特許文献1~2を参照)。
【先行技術文献】
【特許文献】
【0003】
特開平10-60524号公報
特開2015-169220号公報
【発明の概要】
【発明が解決しようとする課題】
【0004】
サブゼロ処理で一般的な冷却温度は-80℃程度であるが、超サブゼロ処理として、-100℃以下の冷却性能の需要が増加傾向にあり、-196℃~-120℃の要求も見られる。また、サブゼロ処理と合わせて、+200℃程度で加熱する低温焼戻し処理を行う要求も見られる。
【0005】
サブゼロ処理と低温焼戻し処理を別々の装置で行う場合は、コストやスペースに装置2台分を必要とすることや処理品を移し替える手間が発生する。このため、熱処理装置1台で超サブゼロ処理から低温焼戻し処理までの温度(-196℃~+200℃)に対応可能であることが望ましい。
【0006】
処理槽の断熱性を確保するため、処理槽の壁に断熱材を充填することがある。また、処理槽に対象物を入れる空間の気密性を確保するため、処理槽と蓋の間にパッキンを配置することがある。この場合、壁の内部構造あるいは処理槽と蓋の間の構造が複雑になり、熱処理中に変化する温度範囲が広くなると、熱収縮・熱膨張による構造材の歪の影響が大きくなる。また、低温時に処理槽の外面で霜が発生したり、高温時に処理槽の外面が過熱されたりすると、エネルギー損失等の課題が発生する。
【0007】
本発明は、このような従来の事情に鑑みて提案されたものであり、構造が複雑になりにくく、エネルギー損失等の課題を解決することが可能な熱処理装置を提供することを目的とする。
【課題を解決するための手段】
【0008】
上記目的を達成するために、本発明は以下の手段を提供する。
[1] 対象物を少なくとも冷却処理することが可能な処理槽を備える熱処理装置であって、前記処理槽は、開口部を囲む内壁と、前記内壁の外側に配置された断熱材と、前記開口部の周囲の端面を構成する端面材とを備え、前記端面材の材質は、前記内壁の材質よりも熱伝導率が低いことを特徴とする、熱処理装置。
[2] 前記端面材の材質は、前記内壁の材質よりも比熱が大きいことを特徴とする、[1]に記載の熱処理装置。
[3] 前記処理槽は、前記断熱材の外側を覆う外壁と、前記内壁と前記外壁との間を連結する補強材を備え、前記補強材の材質は、前記内壁の材質よりも熱伝導率が低いことを特徴とする、[1]又は[2]に記載の熱処理装置。
[4] 前記補強材の材質は、前記内壁の材質よりも比熱が大きいことを特徴とする、[3]に記載の熱処理装置。
[5] 前記熱処理装置は、前記処理槽に向かい合って前記開口部を塞ぐ蓋と、前記蓋と前記端面材との間に配置されるパッキンとを備え、前記パッキンが前記端面材に接触する位置は、前記パッキンが前記断熱材に向かい合う位置または前記断熱材よりも外側に向かい合う位置であることを特徴とする、[1]~[4]のいずれか一に記載の熱処理装置。
[6] 前記処理槽の内部の温度が-196℃~+200℃の範囲内で制御されることを特徴とする、[1]~[5]のいずれか一に記載の熱処理装置。
[7] 前記熱処理装置は、前記処理槽に向かい合って前記開口部を塞ぐ蓋と、前記蓋と前記端面材との間に配置されるパッキンとを備え、前記端面材の、前記蓋と向かい合う前記端面が平坦であり、かつ、前記蓋の、前記端面材と向かい合う対向面が平坦であることを特徴とする、[1]~[6]のいずれか一に記載の熱処理装置。
【発明の効果】
【0009】
本発明の熱処理装置によれば、構造が複雑になりにくく、エネルギー損失等の課題を解決することができる。
【図面の簡単な説明】
【0010】
本実施形態の熱処理装置の一例を示す縦断面図である。
本実施形態の熱処理装置の要部を示す斜視図である。
対比例の熱処理装置の要部を示す斜視図である。
本実施形態の熱処理装置の一例を示す横断面図である。
【発明を実施するための形態】
(【0011】以降は省略されています)
この特許をJ-PlatPat(特許庁公式サイト)で参照する
関連特許
大陽日酸株式会社
インジェクター
20日前
大陽日酸株式会社
CO2の回収方法
今日
大陽日酸株式会社
金属積層造形方法
8日前
大陽日酸株式会社
回転体および回転体の制御方法
18日前
大陽日酸株式会社
液分配器、充填塔及び空気分離装置
8日前
大陽日酸株式会社
高炉シャフト部に供給する還元ガスの製造装置
今日
大陽日酸株式会社
カバーガスの供給方法及びマグネシウム溶融装置
今日
大陽日酸株式会社
混焼専焼バーナの燃焼方法および混焼専焼バーナ
8日前
株式会社サンコー
浸漬ヒーター
19日前
東京窯業株式会社
セッター
4か月前
中外炉工業株式会社
熱処理炉
8日前
ノリタケ株式会社
加熱炉
今日
株式会社プロテリアル
スラグ除滓装置
9か月前
ノリタケ株式会社
冷却炉
今日
中外炉工業株式会社
処理炉
3か月前
株式会社不二越
搬送システム
4か月前
有限会社ヨコタテクニカ
リフロー炉
2か月前
ファーネス重工株式会社
熱風循環炉
5か月前
ノリタケ株式会社
熱処理装置
2か月前
ノリタケ株式会社
熱処理装置
2か月前
ノリタケ株式会社
熱処理装置
2か月前
ノリタケ株式会社
熱処理装置
2か月前
ノリタケ株式会社
連続加熱炉
5か月前
ノリタケ株式会社
熱処理装置
1か月前
ノリタケ株式会社
サヤ
3か月前
ノリタケ株式会社
連続加熱炉
6か月前
ノリタケ株式会社
熱処理装置
4か月前
ノリタケ株式会社
連続加熱炉
6か月前
特殊電極株式会社
インゴット予熱装置
4か月前
DiV株式会社
赤外線加熱装置
4か月前
成都大学
合金粉末酸化防止熱処理装置
6か月前
中外炉工業株式会社
連続処理炉
4か月前
株式会社不二越
圧力制御システム
5か月前
三菱重工業株式会社
炉設備
6か月前
大同特殊鋼株式会社
溶解炉
10か月前
株式会社豊田中央研究所
加熱装置
29日前
続きを見る
他の特許を見る