TOP
|
特許
|
意匠
|
商標
特許ウォッチ
Twitter
他の特許を見る
10個以上の画像は省略されています。
公開番号
2025122947
公報種別
公開特許公報(A)
公開日
2025-08-22
出願番号
2024018708
出願日
2024-02-09
発明の名称
折り畳み式電動スケーター
出願人
個人
代理人
個人
,
個人
,
個人
主分類
B62K
17/00 20060101AFI20250815BHJP(鉄道以外の路面車両)
要約
【課題】ハンドル軸と座部支持用支柱とを踏み板側へ折り畳むことが可能な折り畳み式電動スケーターにおいて、折り畳んだ状態でハンドル軸と座部支持用支柱との固定及び固定の解除を容易に行うことが可能な折り畳み式電動スケーターの提供を課題とする。
【解決手段】ハンドル軸300の内側に、先端領域Pが軸状部材で構成される押圧部301を備え、軸状部材と嵌合する受部501を座部支持用支柱500の外側に備え、受部501は、軸状部材の通過を許容する複数個の凹部と軸状部材の通過を阻止する複数個の凸部とをおもて面の周方向に交互に備える回転フレームと、回転フレームを装着した状態において、軸状部材の押圧力を介して回転フレームを時計周りに所定量だけ回転可能とするロック機構部とを備える折り畳み式電動スケーター100である。
【選択図】 図1
特許請求の範囲
【請求項1】
ハンドル軸と座部支持用支柱とを踏み板側へ折り畳むことが可能な折り畳み式電動スケーターであって、前記ハンドル軸の内側又は前記座部支持用支柱の外側に、先端領域が軸状部材で構成される押圧部を備え、前記軸状部材と嵌合する受部を前記座部支持用支柱の外側又は前記ハンドル軸の内側に備え、前記受部は、前記軸状部材の通過を許容する複数個の凹部と前記軸状部材の通過を阻止する複数個の凸部とをおもて面の周方向に交互に備える回転フレームと、前記回転フレームを装着した状態において、前記受部に嵌合された状態にある前記軸状部材の押圧力を介して前記回転フレームを時計周り又は反時計周りの何れか一方向に所定量だけ回転可能とするロック機構部とを備えることを特徴とする折り畳み式電動スケーター。
続きを表示(約 1,000 文字)
【請求項2】
回転フレームは、円環状部材で構成され、ロック機構部は、回転フレームを外周に装着可能な所定厚みを有する略円形状の機構部本体を少なくとも備え、前記機構部本体は、押圧部を進退自在に受け入れ可能な切欠きを備えると共に、前記切欠き内に、前記押圧部により押圧される押圧力伝達部と、前記機構部本体の外周に突出し、前記機構部本体の外方に向けてバネ付勢される第1の係止用片を一端に備えると共に、他端が前記機構部本体内に固定され、且つ前記押圧力伝達部に押圧されることで前記他端を支点として前記第1の係止用片が前記機構部本体の外周上を所定範囲だけ円弧移動可能となる薄板状のスライド板と、前記スライド板を前記押圧力伝達部に向けてバネ付勢するバネとを備え、前記回転フレームは、その裏面に、前記スライド板の前記第1の係止用片と係止することで前記押圧力伝達部に押圧力が負荷された際に発動する前記スライド板の円弧移動に従動して回転フレームを所定量だけ回転可能とする複数個の係止用溝を回転フレームの周方向に所定間隔を空けて配設してあると共に、隣接する前記係止用溝の間には、前記第1の係止用片と係止することなく、隣接する前記係止用溝を連結する連結用溝を配設してあることを特徴とする請求項1に記載の折り畳み式電動スケーター。
【請求項3】
スライド板の第1の係止用片が回転フレームに備える複数個の係止用溝のうちのいずれか一つの前記係止用溝と係止した状態において、残る前記係止用溝のうちのいずれか一つの係止用溝と係止して前記回転フレームの逆回転を阻止する第2の係止用片を機構部本体の外周に突出させて備えると共に、前記第2の係止用片は、前記機構部本体の外方に向けてバネ付勢されるものであることを特徴とする請求項2に記載の折り畳み式電動スケーター。
【請求項4】
ロック機構部は、回転フレーム及び機構部本体を載置させるための基台を備え、前記基台は、回転フレームの外径と略同じ直径を有する薄板状の円形部材で構成されると共に、前記基台におけるスライド板が円弧運動を行う領域と重なる領域に、スライド板の他端を中心点とする円弧形状のスライド用溝をスライド板が円弧運動を行う円弧長さと略同じ長さ分設けてあり、前記スライド用溝に嵌合する突片を前記スライド板の裏面に設けてあることを特徴とする請求項2又は3に記載の折り畳み式電動スケーター。
発明の詳細な説明
【技術分野】
【0001】
本発明は、ハンドル軸と座部支持用支柱とをボード側へ折り畳むことが可能な折り畳み式電動スケーターに関する。
続きを表示(約 3,300 文字)
【背景技術】
【0002】
近年、新しい移動手段として、いわゆる電動スケーターや電動キックボードといった乗り物が各種開発されている。
この電動スケーターや電動キックボードは、2輪や3輪で構成される車輪付きの踏み台や座部支持用支柱などに電動モーターやバッテリーを搭載したもので、小型で小回りが利くと共に操作が簡単で、環境にも優しいことから、通勤や買い物等、日常的に使用できる新たな乗り物として注目されている。
このような電動スケーターや電動キックボードを示す従来技術として、例えば下記特許文献1がある。
【先行技術文献】
【特許文献】
【0003】
実用新案登録第3232835号公報
【発明の概要】
【発明が解決しようとする課題】
【0004】
上記特許文献1は、電動キックボードに関する考案で、バッテリー充電する際の煩雑さを軽減することができるというメリットがある。
このような従来の電動キックボードや電動スケーターのなかには、ハンドル軸と座部支持用支柱とを踏み板側へ折り畳むことが可能な折り畳み式のものがあるものの、折り畳んだ状態でハンドル軸と座部支持用支柱との固定及び固定の解除を容易且つ確実に行うことができるものがなかった。よって、ハンドル軸と座部支持用支柱とを折り畳んだ状態で運搬等する際に、ハンドル軸と座部支持用支柱との折り畳み状態が予期せぬタイミングで解除される可能性があることから、折り畳んだ状態でハンドル軸と座部支持用支柱との固定及び固定の解除を容易且つ確実に行うことができる電動スケーターや電動キックボードの開発が望まれるところであった。
【0005】
そこで、本発明は上記従来における問題点を解決し、ハンドル軸と座部支持用支柱とを踏み板側へ折り畳むことが可能な折り畳み式電動スケーターにおいて、折り畳んだ状態でハンドル軸と座部支持用支柱との固定及び固定の解除を容易に行うことが可能な折り畳み式電動スケーターの提供を課題とする。
【課題を解決するための手段】
【0006】
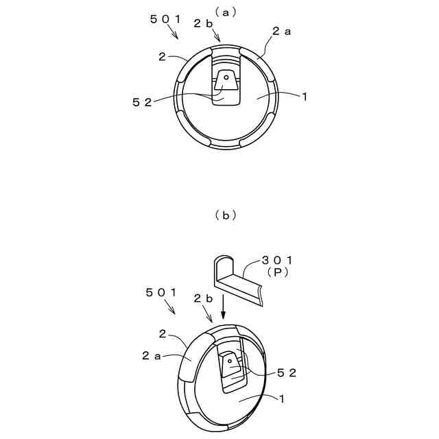
上記課題を達成するため、本発明の折り畳み式電動スケーターは、ハンドル軸と座部支持用支柱とを踏み板側へ折り畳むことが可能な折り畳み式電動スケーターであって、前記ハンドル軸の内側又は前記座部支持用支柱の外側に、先端領域が軸状部材で構成される押圧部を備え、前記軸状部材と嵌合する受部を前記座部支持用支柱の外側又は前記ハンドル軸の内側に備え、前記受部は、前記軸状部材の通過を許容する複数個の凹部と前記軸状部材の通過を阻止する複数個の凸部とをおもて面の周方向に交互に備える回転フレームと、前記回転フレームを装着した状態において、前記受部に嵌合された状態にある前記軸状部材の押圧力を介して前記回転フレームを時計周り又は反時計周りの何れか一方向に所定量だけ回転可能とするロック機構部とを備えることを第1の特徴としている。
また、本発明の折り畳み式電動スケーターは、上記第1の特徴に加えて、回転フレームは、円環状部材で構成され、ロック機構部は、回転フレームを外周に装着可能な所定厚みを有する略円形状の機構部本体を少なくとも備え、前記機構部本体は、押圧部を進退自在に受け入れ可能な切欠きを備えると共に、前記切欠き内に、前記押圧部により押圧される押圧力伝達部と、前記機構部本体の外周に突出し、前記機構部本体の外方に向けてバネ付勢される第1の係止用片を一端に備えると共に、他端が前記機構部本体内に固定され、且つ前記押圧力伝達部に押圧されることで前記他端を支点として前記第1の係止用片が前記機構部本体の外周上を所定範囲だけ円弧移動可能となる薄板状のスライド板と、前記スライド板を前記押圧力伝達部に向けてバネ付勢するバネとを備え、前記回転フレームは、その裏面に、前記スライド板の前記第1の係止用片と係止することで前記押圧力伝達部に押圧力が負荷された際に発動する前記スライド板の円弧移動に従動して回転フレームを所定量だけ回転可能とする複数個の係止用溝を回転フレームの周方向に所定間隔を空けて配設してあると共に、隣接する前記係止用溝の間には、前記第1の係止用片と係止することなく、隣接する前記係止用溝を連結する連結用溝を配設してあることを第2の特徴としている。
また、本発明の折り畳み式電動スケーターは、上記第2の特徴に加えて、スライド板の第1の係止用片が回転フレームに備える複数個の係止用溝のうちのいずれか一つの前記係止用溝と係止した状態において、残る前記係止用溝のうちのいずれか一つの係止用溝と係止して前記回転フレームの逆回転を阻止する第2の係止用片を機構部本体の外周に突出させて備えると共に、前記第2の係止用片は、前記機構部本体の外方に向けてバネ付勢されるものであることを第3の特徴としている。
また、本発明の折り畳み式電動スケーターは、上記第2又は第3の特徴に加えて、ロック機構部は、回転フレーム及び機構部本体を載置させるための基台を備え、前記基台は、回転フレームの外径と略同じ直径を有する薄板状の円形部材で構成されると共に、前記基台におけるスライド板が円弧運動を行う領域と重なる領域に、スライド板の他端を中心点とする円弧形状のスライド用溝をスライド板が円弧運動を行う円弧長さと略同じ長さ分設けてあり、前記スライド用溝に嵌合する突片を前記スライド板の裏面に設けてあることを第4の特徴としている。
【発明の効果】
【0007】
上記第1の特徴による折り畳み式電動スケーターによれば、回転フレームを装着した状態において、受部に嵌合された状態にある軸状部材の押圧力を受部に負荷するだけで、回転フレームを時計周り又は反時計周りの何れか一方向に所定量だけ回転させることができる。よって、折り畳んだ状態におけるハンドル軸と座部支持用支柱との固定及び固定の解除を容易且つ迅速に行うことが可能な折り畳み式電動スケーターとすることできる。
従って、操作性、利便性の高い折り畳み式電動スケーターとすることできる。
【0008】
また、上記第2の特徴による折り畳み式電動スケーターによれば、上記第1の特徴による作用効果に加えて、押圧部によって押圧力伝達部が押圧される毎に、回転フレームが時計周り又は反時計周りの何れか一方向に所定量だけ回転されることで、回転フレームの凹部が本体の切欠きと重なる位置に停止する場合と、回転フレームの凸部が本体の切欠きと重なる位置に停止する場合とを交互に繰り返す。これによって、回転フレームの凹部と本体の切欠きとが重なった場合においては押圧部が受部と離脱可能に嵌合し、ハンドル軸と前記座部支持用支柱との連結状態が解除可能となる。一方、回転フレームの凸部と本体の切欠きとが重なった場合においては押圧部が受部と離脱不能に嵌合し、ハンドル軸と座部支持用支柱との連結状態が維持可能となる。よって、押圧部によって受部を押圧するというわずかな動作を行うだけで、折り畳んだ状態におけるハンドル軸と座部支持用支柱との固定及び固定の解除を一段と容易且つ迅速、確実行うことが可能な折り畳み式電動スケーターとすることできる。
従って、一段と操作性、利便性の高い折り畳み式電動スケーターとすることできる。
【0009】
また、上記第3の特徴による折り畳み式電動スケーターによれば、上記第2の特徴による作用効果に加えて、第2の係止用片を備えることで、回転フレームが逆回転することを一段と確実に阻止可能な受部とすることができる。
【0010】
また、上記第4の特徴による折り畳み式電動スケーターによれば、上記第2又は第3の特徴による作用効果に加えて、基台にスライド用溝を備えることで、スライド板の円弧運動を一段と精度よく行うことができる。
【図面の簡単な説明】
(【0011】以降は省略されています)
この特許をJ-PlatPat(特許庁公式サイト)で参照する
関連特許
個人
カート
2か月前
個人
走行装置
3か月前
個人
電動走行車両
3か月前
個人
乗り物
4か月前
個人
駐輪設備
1か月前
個人
電動モビリティ
7か月前
個人
発音装置
7か月前
個人
閂式ハンドル錠
3か月前
個人
ボギー・フレーム
1か月前
個人
ルーフ付きトライク
2か月前
個人
自由方向乗車自転車
7か月前
個人
ルーフ付きトライク
1か月前
個人
“zen-go.”
2か月前
個人
パワーアシスト自転車
1か月前
個人
キャンピングトライク
8か月前
個人
ステアリングの操向部材
8か月前
個人
フロントフットブレーキ。
3か月前
株式会社豊田自動織機
産業車両
4か月前
株式会社三五
リアサブフレーム
10か月前
個人
ホイールハブ駆動構造
4か月前
学校法人千葉工業大学
車両
9か月前
学校法人千葉工業大学
車両
9か月前
個人
乗用自動車のディフューザー
9日前
豊田鉄工株式会社
小型車両
2か月前
学校法人千葉工業大学
車両
9か月前
トヨタ自動車株式会社
パネル
4か月前
船井電機株式会社
車両
1か月前
個人
自動車のタイヤの位置について
1か月前
ヤマハ発動機株式会社
自転車
3か月前
個人
折り畳み作業机搭載の変型台車
1か月前
株式会社GEAR
電動カート
2か月前
個人
走行車両等の粉塵飛散防止装置
3か月前
株式会社カインズ
台車
10か月前
コンビ株式会社
乳母車
5か月前
株式会社クボタ
作業車
6か月前
個人
ハブモーターの配線構造
15日前
続きを見る
他の特許を見る