TOP
|
特許
|
意匠
|
商標
特許ウォッチ
Twitter
他の特許を見る
公開番号
2025125455
公報種別
公開特許公報(A)
公開日
2025-08-27
出願番号
2024021517
出願日
2024-02-15
発明の名称
過負荷検出装置及びそれを備える弁駆動設備
出願人
西部電機株式会社
代理人
個人
,
個人
,
個人
主分類
G01L
1/26 20060101AFI20250820BHJP(測定;試験)
要約
【課題】ポテンショメータによって安定して過負荷を検出できる過負荷検出装置及びそれを備える弁駆動設備を提供する。
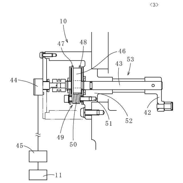
【解決手段】外部装置で生じている負荷の大きさに応じた量の移動を行う外部装置の可動部材に係止され、可動部材の移動によって回転する回転部材53を有する過負荷検出装置10であって、回転部材53の回転角度に応じた大きさの電気信号を出力するポテンショメータ44と、ポテンショメータ44から出力される電気信号が所定の大きさになることによって、外部装置での過負荷の発生を検知する検知部45と、基準角度から回転した回転部材53に対し、基準角度に戻す向きの力を与える力付与手段49とを備える。
【選択図】図3
特許請求の範囲
【請求項1】
外部装置で生じている負荷の大きさに応じた量の移動を行う該外部装置の可動部材に係止され、該可動部材の移動によって回転する回転部材を有する過負荷検出装置であって、
前記回転部材の回転角度に応じた大きさの電気信号を出力するポテンショメータと、
前記ポテンショメータから出力される電気信号が所定の大きさになることによって、前記外部装置での過負荷の発生を検知する検知部と、
基準角度から回転した前記回転部材に対し、該基準角度に戻す向きの力を与える力付与手段とを備えることを特徴とする過負荷検出装置。
続きを表示(約 680 文字)
【請求項2】
前記力付与手段は、前記基準角度から回転した前記回転部材から該回転部材の回転方向の力を受けて弾性変形し、該回転部材に復元力を与えるばね部材を有することを特徴とする請求項1記載の過負荷検出装置。
【請求項3】
前記ばね部材は、腕部が前記回転部材から力を受けるねじりばねであることを特徴とする請求項2記載の過負荷検出装置。
【請求項4】
モータの回転力を弁に向けて伝える動力伝達機構と、前記動力伝達機構に生じている負荷の大きさに応じた量の移動を行う可動部材と、前記可動部材に係止され、該可動部材の移動によって回転する回転部材を有する過負荷検出装置とを具備する弁駆動設備であって、
前記過負荷検出装置は、
前記回転部材の回転角度に応じた大きさの電気信号を出力するポテンショメータと、
前記ポテンショメータから出力される電気信号が所定の大きさになることによって、前記外部装置での過負荷の発生を検知する検知部と、
基準角度から回転した前記回転部材に対し、該基準角度に戻す向きの力を与える力付与手段とを備えることを特徴とする弁駆動設備。
【請求項5】
前記力付与手段は、前記基準角度から回転した前記回転部材から該回転部材の回転方向の力を受けて弾性変形し、該回転部材に復元力を与えるばね部材を有することを特徴とする請求項4記載の弁駆動設備。
【請求項6】
前記ばね部材は、腕部が前記回転部材から力を受けるねじりばねであることを特徴とする請求項5記載の弁駆動設備。
発明の詳細な説明
【技術分野】
【0001】
本発明は、過負荷を検出する過負荷検出装置及びそれを備える弁駆動設備に関する。
続きを表示(約 2,100 文字)
【背景技術】
【0002】
モータによって弁(水門の扉体等も含む)を昇降又は回転させ(以下、「昇降する」及び「回転する」の双方を、「動く」で表すこともある)、管や水路等の流路を開閉する弁駆動設備は、弁駆動設備に所定以上の大きさの負荷、即ち、過負荷が生じると、動いている弁を停止して、不具合等の発生を防止する。そのため、弁駆動設備は過負荷の発生を検出する過負荷検出装置を備えている。
【0003】
なお、過負荷とは、通常、所定以上の大きさの負荷を意味するが、本書においては、過負荷が、所定以下の大きさの負荷、即ち、過小な負荷も含む概念とする。例えば、水門において、チェーンに吊られた扉体が川底に接しない高さに配されている状態では、通常、扉体の荷重が弁駆動設備に負荷として作用するが、扉体と川底の間に流木等の物体が挟まると弁駆動設備に作用している負荷が想定より小さくなる。
【0004】
従来の過負荷検出装置は、その具体例が引用文献1に開示されているように、弁駆動設備に生じている負荷の大きさに応じた量だけ移動する可動部材(U形板給24)、可動部材の移動に伴って回転するセンサ軸(アクチュエータ28が取り付けられた軸)、及び、センサ軸の回転角度から過負荷の発生を検知するマイクロスイッチ又はリミットスイッチ(リミットスイッチ27)を備えている。以下、マイクロスイッチ及びリミットスイッチをまとめて、「マイクロスイッチ」と言う。
【0005】
マイクロスイッチは、図7(A)に示すように、センサ軸の回転角度が所定範囲内でOFF状態であり、センサ軸の回転角度が所定範囲外になるとON状態となる。従って、マイクロスイッチを用いて過負荷を検出するには、過負荷が生じ始めたタイミングでマイクロスイッチがOFFからON(又はONからOFF)に切り替わるように、センサ軸の回転に関わる各種部材を設計する必要がある。
【先行技術文献】
【特許文献】
【0006】
実全昭56-062457号公報
【発明の概要】
【発明が解決しようとする課題】
【0007】
ここで、共通の過負荷検出装置を様々な弁駆動設備の設置現場(例えば、扉体の重量が異なる設置現場)で利用可能にするには、センサ軸の回転に関わる各種部材の物理的な調整(例えば、ボルトの突出長の調整)で検出する過負荷の大きさを調節できるように過負荷検出装置を設計する必要がある。また、各機器の製作精度や組付け状態により、弁駆動設備に生じている負荷と可動部材やセンサ軸の動作量との関係に個体差が生じることは避けられず、この理由によっても、過負荷の大きさを調整可能な設計が過負荷検出装置に求められる。但し、過負荷の大きさを調整可能な設計は過負荷検出装置の構造を複雑にするという問題を招く。
【0008】
この問題の解消には、マイクロスイッチの代わりに、ポテンショメータを使用することが考えられる。ポテンショメータは、図7(B)に示すように、センサ軸の回転に応じた大きさの電気信号(電圧等)を出力する。そのため、過負荷が生じ始めた際にポテンショメータから出力される電気信号の大きさを過負荷の発生を示すものとして設定すればよく、センサ軸の回転に関わる各種部材の物理的な調整は不要である。図7(B)で示す例では、P1及びP2が過負荷の発生に対応する電気信号の大きさである。
【0009】
ここで、部材と部材の連結箇所等にはクリアランスを設けないことが理想であっても、生産精度等の理由で、該当箇所にクリアランスを設けざるをえないことがある。図8(A)に示すように、センサ軸に連結されたハンドル100の直径が、可動部材101においてハンドル100に接触する左側の接触部102及び右側の接触部103の間隔より短い場合、例えば、ハンドル100が右側の接触部103に接触し、左側の接触部102に接触していない状態で、可動部材101が左側に移動する場合、図8(B)に示すように、ハンドル100は可動部材101と共に左側に移動しセンサ軸を回転させるが、同状態で、可動部材101が右側に移動する場合、図8(C)に示すように、ハンドル100は移動せずセンサ軸も回転しない。
【0010】
また、可動部材101は停止中であっても、振動等によりハンドル100がクリアランス分だけ移動してセンサ軸を回転させることもある。つまり、クリランスがある場合、負荷の大きさに応じた量だけ移動する可動部材の移動とセンサ軸の回転とが常に連動するとは言えず、過負荷を正しいタイミングで検出できないということが起こり得る。
本発明は、かかる事情に鑑みてなされたもので、ポテンショメータによって安定して過負荷を検出できる過負荷検出装置及びそれを備える弁駆動設備を提供することを目的とする。
【課題を解決するための手段】
(【0011】以降は省略されています)
この特許をJ-PlatPat(特許庁公式サイト)で参照する
関連特許
西部電機株式会社
充電装置
7日前
西部電機株式会社
充電装置
7日前
西部電機株式会社
段積み装置
11日前
西部電機株式会社
補充単位調整システム及び補充単位調整方法
25日前
西部電機株式会社
過負荷検出装置及びそれを備える弁駆動設備
1か月前
西部電機株式会社
作業棚管理システム、作業棚管理方法及びパレット作業棚
19日前
個人
メジャー文具
7日前
個人
アクセサリー型テスター
今日
日本精機株式会社
位置検出装置
13日前
日本精機株式会社
位置検出装置
13日前
日本精機株式会社
位置検出装置
13日前
ユニパルス株式会社
ロードセル
6日前
大和製衡株式会社
組合せ秤
18日前
大和製衡株式会社
組合せ秤
18日前
アズビル株式会社
圧力センサ
12日前
株式会社チノー
放射光測温装置
6日前
トヨタ自動車株式会社
監視装置
5日前
トヨタ自動車株式会社
表示装置
27日前
エイブリック株式会社
磁気センサ回路
12日前
株式会社ヨコオ
ソケット
6日前
株式会社ユーシン
操作検出装置
15日前
ダイキン工業株式会社
監視装置
4日前
株式会社東芝
センサ
18日前
株式会社ヨコオ
ソケット
5日前
トヨタ自動車株式会社
検査装置
15日前
株式会社東芝
センサ
18日前
TDK株式会社
ガスセンサ
11日前
株式会社ナリス化粧品
角層細胞採取用具
25日前
TDK株式会社
ガスセンサ
6日前
長崎県
形状計測方法
今日
TDK株式会社
磁気センサ
5日前
TDK株式会社
ガスセンサ
12日前
株式会社東芝
重量測定装置
11日前
個人
粘塑性を用いた有限要素法の定式化
27日前
東レエンジニアリング株式会社
計量装置
15日前
株式会社熊谷組
RI計測装置
13日前
続きを見る
他の特許を見る