TOP
|
特許
|
意匠
|
商標
特許ウォッチ
Twitter
他の特許を見る
10個以上の画像は省略されています。
公開番号
2025127254
公報種別
公開特許公報(A)
公開日
2025-09-01
出願番号
2024023878
出願日
2024-02-20
発明の名称
コネクタおよび加工機
出願人
株式会社マキタ
代理人
弁理士法人勇智国際特許事務所
主分類
B25F
5/00 20060101AFI20250825BHJP(手工具;可搬型動力工具;手工具用の柄;作業場設備;マニプレータ)
要約
【課題】 加工機の静電気対策および加工機と集塵デバイスとの連結の利便性の少なくとも一方を改善する。
【解決手段】 加工機と集塵デバイスとを連結するためのコネクタは、加工機と集塵デバイスとを連通させるための貫通孔と、静電気拡散性材料から形成された外表面と、を備えている。
【選択図】図12
特許請求の範囲
【請求項1】
加工機と集塵デバイスとを直接的または間接的に連結するためのコネクタであって、
前記加工機と前記集塵デバイスとを連通させるための貫通孔と、
静電気拡散性材料から形成された外表面と
を備えるコネクタ。
続きを表示(約 950 文字)
【請求項2】
請求項1に記載のコネクタであって、
前記外表面の表面抵抗率は、1×10
5
(Ω/sq.)以上、1×10
13
(Ω/sq.)以下である
コネクタ。
【請求項3】
請求項2に記載のコネクタであって、
前記外表面の表面抵抗率は、1×10
7
(Ω/sq.)以上、1×10
12
(Ω/sq.)以下である
コネクタ。
【請求項4】
請求項1ないし請求項3のいずれか一項に記載のコネクタであって、
前記加工機に連結するためのツイストロック用爪部を備える
コネクタ。
【請求項5】
請求項1ないし請求項4のいずれか一項に記載のコネクタであって、
周方向に延在する凹部および/または凸部が形成された内周面を有するラバースリーブを備える
コネクタ。
【請求項6】
加工機であって、
請求項1ないし請求項5のいずれか一項に記載のコネクタと、
前記コネクタに連結可能な集塵ノズルと
を備える加工機。
【請求項7】
請求項6に記載の加工機であって、
前記コネクタが前記集塵ノズルに取り付けられた状態において、前記コネクタと接触するように配置された金属製のアース部材を備える
加工機。
【請求項8】
請求項6または請求項7に記載の加工機であって、
金属製の動力伝達部材を備え、
前記コネクタから前記動力伝達部材へ静電気を逃がすように構成された
加工機。
【請求項9】
請求項6ないし請求項8のいずれか一項に記載の加工機であって、
ユーザが加工時に手で把持するための把持部を備え、
前記コネクタから前記把持部へ静電気を逃がすように構成された
加工機。
【請求項10】
請求項9に記載の加工機であって、
前記把持部は、少なくとも部分的に導電性樹脂または静電気拡散性材料から形成された外表面を備える
加工機。
(【請求項11】以降は省略されています)
発明の詳細な説明
【技術分野】
【0001】
本発明は、コネクタおよび加工機に関する。
続きを表示(約 1,900 文字)
【背景技術】
【0002】
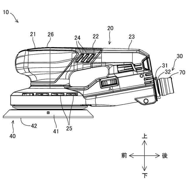
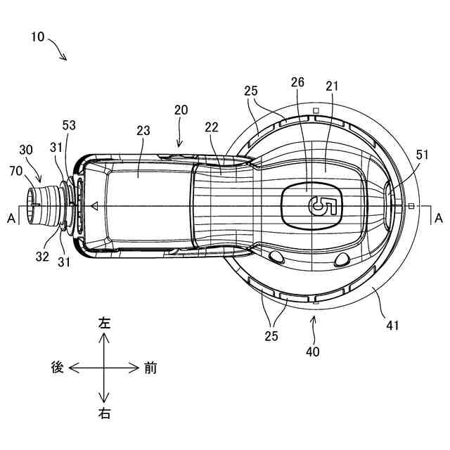
加工機の一種としてサンダが従来から知られている。例えば、サンダの一種としてのオービタルサンダは、出力シャフト(例えば、モータシャフト)の一端に連結されたパッドを偏心円運動(オービタル運動)させる。パッドにはサンディングペーパーが装着される。サンディングペーパーを被加工物に押しつけることによって、サンディング作業を行うことができる
【0003】
多くのタイプのサンダでは、サンディングに伴い発生する粉塵を集塵機に導くために集塵ノズルを備えている。集塵ノズルには、粉塵を回収するための集塵デバイス(例えば、集塵機やダストバッグなど)がコネクタおよび/またはホースを介して連結される。
【0004】
粉塵は、摩擦によってプラスまたはマイナスに帯電した状態で集塵デバイスに回収されるので、コネクタおよび/またはホースから集塵デバイスにかけて電荷が溜まることになる。このように溜まった電荷は、その放電経路が十分に確保されていないと、高い電位の静電気となる。このため、ユーザの手が、サンディング作業中に電位の高い箇所に触れたり接近したりすると、ユーザの手に放電し、ユーザに不快感を与える。このようなことから、集塵ノズルにホースを介して連結される床置き式の集塵機では、アース線によって静電気が逃がされる。
【0005】
一方、使用時において床面または地面に設置されない集塵デバイスでは、アースを確保できない。このような点に鑑み、下記の特許文献1は、導電性樹脂製のカフスを介してサンダとダストバッグとを連結する技術を開示している。この技術によれば、集塵ノズルからダストボックスに導かれる途中で粉塵がカフスに接触すると、粉塵の電荷が、カフスと接触するアースプレートを介してサンダ内に導かれる。これによって、ユーザの手への不快な放電が発生しにくくなる。
【0006】
また、引用文献2は、集塵ノズルとダストバッグとの連結技術を開示している。具体的には、ダストバッグのコネクタ(取付部)は可撓性の爪部を備えており、この爪部は、集塵ノズルの段差部に係合する。それによって、テーパ状の2つの筒体を単純に嵌め合わせる構成と比べて、連結が解除されにくくなる。
【先行技術文献】
【特許文献】
【0007】
特開平11-291170号公報
特開平11-138435号公報
【発明の概要】
【発明が解決しようとする課題】
【0008】
しかしながら、特許文献1の技術は、粉塵に起因する静電気の外部への放電の抑制について改善の余地を残している。また、特許文献2の技術は、集塵ノズルと集塵デバイスとの連結についての利便性の面から改善の余地を残している。上記の問題は、サンダに限らず、加工作業によって粉塵が発生する種々の加工機に共通する。このようなことから、加工機の静電気対策および加工機と集塵デバイスとの連結の利便性の少なくとも一方を改善することが期待される。
【課題を解決するための手段】
【0009】
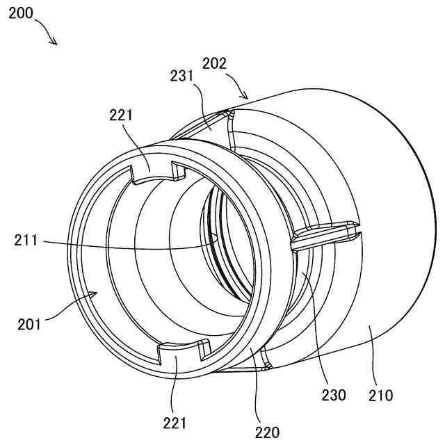
本明細書は、加工機と集塵デバイスとを直接的または間接的に連結するためのコネクタを開示する。このコネクタは、加工機と集塵デバイスとを連通させるための貫通孔と、静電気拡散性材料から形成された外表面と、を備えていてもよい。
【0010】
上記のコネクタは、集塵デバイスの一部として使用することができる。この場合、コネクタは、加工機の集塵ノズルに着脱可能に取り付けることができる。あるいは、上記のコネクタは、集塵デバイスに連結される粉塵搬送手段(典型的には、ホース)に、取り外し不能または取り外し可能に取り付けることができ、さらに、加工機の集塵ノズルに着脱可能に取り付けることができる。このコネクタによれば、コネクタの外表面が静電気拡散性材料から形成されているので、導電性材料から形成されている場合と比べて、コネクタを介して加工機と集塵デバイスとを連結して加工を行う際にコネクタから集塵デバイスにかけて静電気が高い電位で帯電した状態でユーザがコネクタに手を近づけても、コネクタからユーザの手への不快な放電が発生しにくくなる。また、コネクタの外表面が静電気拡散性材料から形成されているので、絶縁性材料から形成されている場合と比べて、コネクタよりも集塵デバイスに近い側に溜まった静電気を、コネクタを介して加工機に逃がすことができる。したがって、コネクタと集塵デバイスとの間に静電気が高い電位で帯電しにくい。
(【0011】以降は省略されています)
特許ウォッチbot のツイートを見る
この特許をJ-PlatPat(特許庁公式サイト)で参照する
関連特許
株式会社マキタ
作業機
11日前
株式会社マキタ
電動作業機
5日前
株式会社マキタ
鉄筋結束機
13日前
株式会社マキタ
ハンマドリル
8日前
株式会社マキタ
ハンマドリル
8日前
株式会社マキタ
現場用作業機
14日前
株式会社マキタ
回転打撃工具
28日前
株式会社マキタ
インパクト工具
18日前
株式会社マキタ
ダイグラインダ
1か月前
株式会社マキタ
充電器及び充電システム
18日前
株式会社マキタ
フレア形成装置及びフレア形成工具
25日前
株式会社マキタ
インパクト工具及びインパクトレンチ
18日前
株式会社マキタ
現場用機器における光学表示器の内部に回路基板を固定する技術
7日前
個人
折りたたみ工具
1か月前
個人
フラワーホッチキス。
21日前
株式会社三協システム
製函機
1か月前
川崎重工業株式会社
ロボット
1か月前
株式会社不二越
ロボット
1か月前
株式会社三協システム
移載装置
1か月前
株式会社竹中工務店
補助セット
1か月前
CKD株式会社
把持装置
1か月前
株式会社不二越
ロボット操作装置
2か月前
川崎重工業株式会社
ハンド
25日前
株式会社マキタ
ハンマドリル
8日前
SMC株式会社
着脱装置
1か月前
株式会社ミクロブ
把持装置
1か月前
太陽パーツ株式会社
アシストスーツ
1か月前
株式会社マキタ
ハンマドリル
8日前
株式会社不二越
移動ロボットシステム
1か月前
トヨタ自動車株式会社
ロボット
28日前
工機ホールディングス株式会社
作業機
25日前
株式会社不二越
ロボットシステム
1か月前
川崎重工業株式会社
塗装システム
25日前
株式会社安川電機
ロボット
5日前
株式会社不二越
ロボットシステム
1か月前
本田技研工業株式会社
装置
1か月前
続きを見る
他の特許を見る