TOP
|
特許
|
意匠
|
商標
特許ウォッチ
Twitter
他の特許を見る
10個以上の画像は省略されています。
公開番号
2025162752
公報種別
公開特許公報(A)
公開日
2025-10-28
出願番号
2024066154
出願日
2024-04-16
発明の名称
現場用機器における光学表示器の内部に回路基板を固定する技術
出願人
株式会社マキタ
代理人
名古屋国際弁理士法人
主分類
A01D
34/90 20060101AFI20251021BHJP(農業;林業;畜産;狩猟;捕獲;漁業)
要約
【課題】ねじを使用せずに、現場用機器における光学表示器の内部に回路基板を固定する技術を提供する。
【解決手段】
本開示の1つの局面は、光学表示器を備えている現場用機器を提供する。光学表示器は、容器と回路基板とを備えている。容器は、(i)閉鎖端と、周壁と、開放端とを備え、且つ、(ii)少なくとも部分的に光を透過するように構成されている。周壁は、(i)閉鎖端と開放端との間の容器の内部空間を囲んでいて、且つ、(ii)その内周面上に第1の突起を備えている。第1の突起は、(i)内部空間へ突出していて、且つ、(ii)周壁の周方向において内周面の周長よりも短い。回路基板は、(i)第1の光源を有していて、且つ、(ii)閉鎖端に対面している第1の面を備えている。回路基板は、第1の突起を内周面の方に押圧している状態で内部空間に圧入されている。
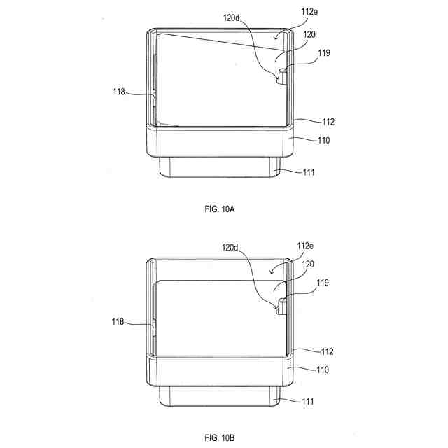
【選択図】図10A-10B
特許請求の範囲
【請求項1】
現場用機器であって、
光学表示器を備え、前記光学表示器は、
(i)閉鎖端と、周壁と、開口部を有する開放端とを備え、且つ、(ii)少なくとも部分的に光を透過するように構成された容器であって、前記周壁は、(i)前記閉鎖端と前記開放端との間の前記容器の内部空間を囲んでいて、且つ、(ii)その内周面上に第1の突起を備え、前記第1の突起は、(i)前記内部空間へ突出していて、且つ、(ii)前記周壁の周方向において、前記内周面の周長よりも短い、容器と、
(i)第1の光源を有していて、且つ、(ii)前記閉鎖端に対面している第1の面を備えている回路基板であって、前記第1の突起を前記内周面の方に押圧している状態で前記内部空間に圧入されている、回路基板と
を備えている、
現場用機器。
続きを表示(約 1,200 文字)
【請求項2】
請求項1に記載の現場用機器であって、
前記周壁の前記内周面は、(i)前記内部空間へ突出していて、且つ、(ii)前記回路基板の前記第1の面に接触している着座部に備えている、
現場用機器。
【請求項3】
請求項2に記載の現場用機器であって、
前記着座部は、前記内部空間を囲んでいる、
現場用機器。
【請求項4】
請求項2または3に記載の現場用機器であって、
前記着座部は、前記第1の突起を囲んでいる凹部を備え、
前記第1の突起は、前記凹部から前記開放端に向かって延在している、
現場用機器。
【請求項5】
請求項1~4のうちのいずれか1項に記載の現場用機器であって、
前記第1の突起は、前記開放端に到達しない範囲で前記開放端に向かって延在している、
現場用機器。
【請求項6】
請求項5に記載の現場用機器であって、
前記第1の突起は、前記回路基板の厚みを越えて、前記開放端に向かって延在している、
現場用機器。
【請求項7】
請求項1~6のうちのいずれか1項に記載の現場用機器であって、
前記周壁の前記内周面は、(i)前記内部空間に突出していて、且つ、(ii)前記周壁の前記周方向において前記内周面の前記周長よりも短い第2の突起を備え、
前記回路基板は、前記第2の突起に係合している切り欠きを備えている、
現場用機器。
【請求項8】
請求項7に記載の現場用機器であって、
前記開口部は、予め定められた軸に関して線対称である平面形状を有し、
前記開口部から見たときに、(i)前記第1の突起及び前記第2の突起は、互いに対向し、(ii)前記第1の突起は、前記予め定められた軸上にあり、且つ、(iii)前記第2の突起は、前記予め定められた軸から逸脱している、
現場用機器。
【請求項9】
請求項7に記載の現場用機器であって、
前記開口部は、予め定められた軸に関して線対称である平面形状を有し、
前記開口部から見たときに、(i)前記第1の突起及び前記第2の突起は、互いに対向し、(ii)前記第1の突起は、前記予め定められた軸から第1の距離だけ逸脱し、(iii)前記第2の突起は、前記予め定められた軸から第2の距離だけ逸脱し、且つ、(iv)前記第1の距離は、前記第2の距離とは異なる、
現場用機器。
【請求項10】
請求項7~9のうちのいずれか1項に記載の現場用機器であって、
前記第1の突起は、前記内部空間へ第1の長さだけ突出し、
前記第2の突起は、前記内部空間へ第2の長さだけ突出し、
前記第2の長さは、前記第1の長さよりも大きい、
現場用機器。
(【請求項11】以降は省略されています)
発明の詳細な説明
【技術分野】
【0001】
本開示は、現場用機器に関する。
続きを表示(約 1,200 文字)
【背景技術】
【0002】
下記特許文献1は、使用者によって把持される右グリップの先端に表示部を備えている草刈機を開示している。この表示部は、5つの発光ダイオードが搭載された回路基板をその内部に備えている。この回路基板は、2つのねじで表示部の内部に固定されている。
【先行技術文献】
【特許文献】
【0003】
特許第7129896号
【発明の概要】
【発明が解決しようとする課題】
【0004】
回路基板を2つのねじで表示部の内部に固定するのは手間を要する。
そこで、本開示の1つの局面は、ねじを使用せずに、現場用機器における光学表示器の内部に回路基板を固定する技術を提供することを目的とする。
【課題を解決するための手段】
【0005】
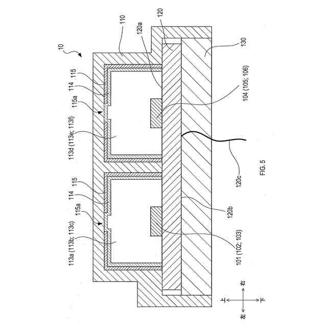
本開示において、「第1の」、「第2の」等の用語は、要素を互いに区別することを意図しているに過ぎず、要素の順序または数を限定することを意図していない。したがって、第1の要素を第2の要素と称してもよいし、同様に、第2の要素を第1の要素と称してもよい。加えて、第2の要素を備えることなく、第1の要素を備えていてもよいし、同様に、第1の要素を備えることなく、第2の要素を備えていてもよい。
【0006】
本開示の1つの局面は、光学表示器を備えている現場用機器を提供する。
光学表示器は、容器と、回路基板とを備えている。容器は、(i)閉鎖端と、周壁と、開口部を有する開放端とを備え、且つ、(ii)少なくとも部分的に光を透過するように構成されている。
【0007】
周壁は、(i)閉鎖端と開放端との間の容器の内部空間を囲んでいて、且つ、(ii)その内周面上に第1の突起を備えている。第1の突起は、(i)内部空間へ突出していて、且つ、(ii)周壁の周方向において内周面の周長よりも短い。
【0008】
回路基板は、(i)第1の光源を有していて、且つ、(ii)閉鎖端に対面している第1の面を備えている。回路基板は、第1の突起を内周面の方に押圧している状態で内部空間に圧入されている。
【0009】
このように構成された現場用機器では、ねじを使用せずに、光学表示器の内部に回路基板が固定され得る。
本開示の別の1つの局面は、現場用機器における光学表示器の内部に回路基板を固定する方法を提供する。
【0010】
この方法は、光学表示器の容器を用意することを備えている。この容器は、(i)閉鎖端と、周壁と、開放端とを備え、且つ、(ii)少なくとも部分的に光を透過するように構成されている。周壁は、(i)閉鎖端と開放端との間の容器の内部空間を囲んでいて、且つ、(ii)その内周面上に突起を備えている。この突起は、(i)内部空間へ突出していて、且つ、(ii)周壁の周方向において内周面の周長よりも短い。
(【0011】以降は省略されています)
この特許をJ-PlatPat(特許庁公式サイト)で参照する
関連特許
株式会社マキタ
作業機
9日前
株式会社マキタ
電動作業機
3日前
株式会社マキタ
鉄筋結束機
11日前
株式会社マキタ
ハンマドリル
6日前
株式会社マキタ
ハンマドリル
6日前
株式会社マキタ
現場用作業機
12日前
株式会社マキタ
インパクト工具
16日前
株式会社マキタ
充電器及び充電システム
16日前
株式会社マキタ
フレア形成装置及びフレア形成工具
23日前
株式会社マキタ
インパクト工具及びインパクトレンチ
16日前
株式会社マキタ
現場用機器における光学表示器の内部に回路基板を固定する技術
5日前
個人
蠅捕獲器
12日前
個人
草刈り鋏
16日前
個人
虫捕り器
1か月前
個人
蜜蜂保護装置
3日前
個人
刈込鋏保持具
1か月前
個人
後付巻降ろし器
1か月前
個人
飼育容器
1か月前
個人
種子の製造方法
9日前
個人
草刈機用回転刃
12日前
株式会社丹勝
緑化工法
1か月前
個人
昆虫捕集器
9日前
個人
イカ釣り用ヤエン
1か月前
株式会社シマノ
釣竿
1か月前
井関農機株式会社
作業車両
1か月前
井関農機株式会社
作業車両
24日前
井関農機株式会社
作業車両
1か月前
井関農機株式会社
作業車両
1か月前
井関農機株式会社
作業車両
24日前
個人
四足動物用装着具
17日前
個人
水耕栽培システム
1か月前
大栄工業株式会社
捕獲器
24日前
井関農機株式会社
作業車両
17日前
井関農機株式会社
作業車両
1か月前
株式会社オーツボ
海苔箱船
16日前
井関農機株式会社
作業車両
12日前
続きを見る
他の特許を見る