TOP
|
特許
|
意匠
|
商標
特許ウォッチ
Twitter
他の特許を見る
10個以上の画像は省略されています。
公開番号
2025152884
公報種別
公開特許公報(A)
公開日
2025-10-10
出願番号
2024055055
出願日
2024-03-28
発明の名称
塗装システム
出願人
川崎重工業株式会社
代理人
個人
,
個人
主分類
B25J
9/16 20060101AFI20251002BHJP(手工具;可搬型動力工具;手工具用の柄;作業場設備;マニプレータ)
要約
【課題】塗装ロボットによって複数の塗装対象を塗装する場合に、作業効率を向上させることが可能な塗装システムを提供する。
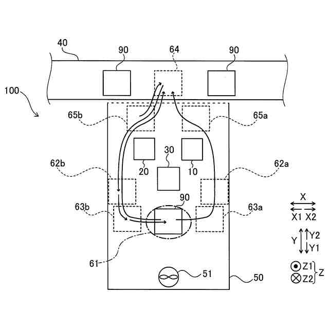
【解決手段】この塗装システム100は、複数の塗装対象90の各々を交互に塗装領域61に搬送する一対の搬送ロボット10および20と、一対の搬送ロボット10および20により塗装領域61において保持されている複数の塗装対象90の各々を塗装する塗装ロボット30と、を備える。一の搬送ロボット10が一の塗装対象90を塗装領域61において保持している期間に、他の搬送ロボット20は、他の塗装対象90を搬送することと、他の塗装対象90を待機領域において保持した状態で待機することとの少なくとも一方を行う。
【選択図】図1
特許請求の範囲
【請求項1】
複数の塗装対象の各々を交互に塗装領域に搬送する一対の搬送ロボットと、
前記一対の搬送ロボットにより前記塗装領域において保持されている前記複数の塗装対象の各々を塗装する塗装ロボットと、を備え、
前記一対の搬送ロボットのうちの一の搬送ロボットが前記複数の塗装対象における一の塗装対象を前記塗装領域において保持している期間に、前記一対の搬送ロボットのうちの他の搬送ロボットは、前記複数の塗装対象における他の塗装対象を搬送することと、前記他の塗装対象を待機領域において保持した状態で待機することとの少なくとも一方を行う、塗装システム。
続きを表示(約 1,600 文字)
【請求項2】
前記複数の塗装対象が配置される塗装対象配置部をさらに備え、
前記塗装領域において前記一の搬送ロボットにより保持された前記一の塗装対象に対して前記塗装ロボットによる塗装が行われている期間において、前記他の搬送ロボットは、前記他の塗装対象を、前記塗装対象配置部から受け取るとともに前記待機領域において保持した状態で待機する、請求項1に記載の塗装システム。
【請求項3】
前記塗装対象配置部は、前記複数の塗装対象を連続的に搬送するコンベア装置を含み、
前記塗装領域において前記一の搬送ロボットにより保持された前記一の塗装対象に対して前記塗装ロボットによる塗装が行われている期間において、前記他の搬送ロボットは、前記他の塗装対象を、前記コンベア装置から受け取るとともに前記待機領域において保持した状態で待機する、請求項2に記載の塗装システム。
【請求項4】
前記一対の搬送ロボットは、前記塗装領域において前記複数の塗装対象の各々を保持した状態で、前記塗装ロボットによる塗装動作に合わせて、前記複数の塗装対象の各々の位置および角度の少なくとも一方を変更させる、請求項1~3のいずれか1項に記載の塗装システム。
【請求項5】
前記一の搬送ロボットにより保持された前記一の塗装対象に対する塗装が行われている期間において、前記他の搬送ロボットは、前記他の塗装対象を、前記塗装領域から離間して塗料の塗着を回避する前記待機領域において保持した状態で待機する、請求項1~3のいずれか1項に記載の塗装システム。
【請求項6】
前記一の搬送ロボットにより保持された前記一の塗装対象に対する塗装が行われている期間において、前記他の搬送ロボットは、前記他の塗装対象を、平面視において前記他の搬送ロボットの設置位置と前記塗装領域との間に配置された前記待機領域において保持した状態で待機する、請求項5に記載の塗装システム。
【請求項7】
前記一の搬送ロボットにより保持された前記一の塗装対象に対する塗装が行われている期間において、前記他の搬送ロボットは、前記他の塗装対象を、前記塗装領域よりも高さ位置の高い前記待機領域において保持した状態で待機する、請求項5に記載の塗装システム。
【請求項8】
前記複数の塗装対象が配置される塗装対象配置部をさらに備え、
前記一の搬送ロボットにより保持された前記一の塗装対象に対する塗装が行われている期間において、前記他の搬送ロボットは、前記他の塗装対象を、前記塗装領域よりも前記塗装対象配置部寄りの前記待機領域において保持した状態で待機する、請求項5に記載の塗装システム。
【請求項9】
前記他の搬送ロボットは、
前記一の搬送ロボットにより保持された前記一の塗装対象に対する塗装が行われている期間において、前記他の塗装対象を、前記塗装対象配置部から上方に向かって移動させることにより前記待機領域において保持した状態で待機し、
前記一の搬送ロボットにより保持された前記一の塗装対象の塗装が完了した後に、前記他の塗装対象を、前記待機領域から下方に向かって移動させることによって前記塗装領域に移動させる、請求項2または3に記載の塗装システム。
【請求項10】
前記一の搬送ロボットの動作を制御する第1制御部と前記他の搬送ロボットの動作を制御する第2制御部とをさらに備え、
前記第1制御部および前記第2制御部は、互いに通信を行いながら前記一対の搬送ロボットの動作を制御し、
前記第2制御部は、前記一の塗装対象の塗装が完了したことを示す信号が前記第1制御部から取得された場合に、前記他の搬送ロボットにより前記他の塗装対象を前記待機領域から前記塗装領域に搬送するための移動を開始させる、請求項1~3のいずれか1項に記載の塗装システム。
(【請求項11】以降は省略されています)
発明の詳細な説明
【技術分野】
【0001】
この開示は、塗装システムに関する。
続きを表示(約 2,200 文字)
【背景技術】
【0002】
従来、立体物印刷装置が知られている。たとえば、特許文献1では、ワークに向けてインクを吐出する液体吐出ユニットが装着されたロボットと、ワークを保持するハンド機構が装着されたロボットとの一対のロボットを備える立体物印刷装置が記載されている。特許文献1に記載の立体物印刷装置では、載置部に載置されたワークが、ハンド機構が装着されたロボットにより保持されて移動する。そして、ハンド機構が装着されたロボットに保持された状態のワークに対して、液体吐出ユニットが装着されたロボットによりインクが吐出されることによって、ワークに対する印刷が行われる。印刷済みのワークは、ハンド機構が装着されたロボットにより移動されて載置部に載置される。
【先行技術文献】
【特許文献】
【0003】
特開2022-127795号公報
【発明の概要】
【発明が解決しようとする課題】
【0004】
しかしながら、上記特許文献1に記載された立体物印刷装置のように、塗装対象であるワークを保持するロボットと塗装するロボットとの一対のロボットによって、塗装対象に対する塗装を行う場合には、塗装される前の塗装対象をロボットが保持する動作から塗装された後の塗装対象をロボットが載置する動作までの一連の動作が、塗装対象ごとに1つずつ行われる。そのため、複数の塗装対象を順に塗装する場合には、作業に要する時間が増大するため、作業効率を向上させることが難しい。このため、塗装ロボットによって複数の塗装対象を塗装する場合に、作業効率を向上させることが望まれている。
【0005】
この開示は、上記のような課題を解決するためになされたものであり、この開示の1つの目的は、塗装ロボットによって複数の塗装対象を塗装する場合に、作業効率を向上させることが可能な塗装システムを提供することである。
【課題を解決するための手段】
【0006】
この開示の一の局面による塗装システムは、複数の塗装対象の各々を交互に塗装領域に搬送する一対の搬送ロボットと、一対の搬送ロボットにより塗装領域において保持されている複数の塗装対象の各々を塗装する塗装ロボットと、を備え、一対の搬送ロボットのうちの一の搬送ロボットが複数の塗装対象における一の塗装対象を塗装領域において保持している期間に、一対の搬送ロボットのうちの他の搬送ロボットは、複数の塗装対象における他の塗装対象を搬送することと、他の塗装対象を待機領域において保持した状態で待機することとの少なくとも一方を行う。
【0007】
この開示の一の局面による塗装システムは、上記のように、一対の搬送ロボットのうちの一の搬送ロボットが複数の塗装対象における一の塗装対象を塗装領域において保持している期間に、一対の搬送ロボットのうちの他の搬送ロボットは、複数の塗装対象における他の塗装対象を搬送することと、他の塗装対象を待機領域において保持した状態で待機することとの少なくとも一方を行う。これにより、複数の塗装対象を塗装する場合に、一の搬送ロボットによって一の塗装対象が塗装領域において保持されている期間において、他の搬送ロボットによって他の塗装対象を搬送することと待機領域において保持した状態で待機することとの少なくとも一方が行われるため、一の搬送ロボットにより塗装が完了した一の塗装対象の搬送動作が行われている最中に、他の搬送ロボットにより他の塗装対象を塗装が行われる塗装領域に搬送するための移動を開始できる。そのため、塗装が完了した一の塗装対象の搬送動作が行われた後に、他の塗装対象を塗装領域に搬送するための移動を開始する場合に比べて、複数の塗装対象を順に塗装する作業に要する時間の増大を抑制できる。その結果、塗装ロボットによって複数の塗装対象を塗装する場合に、作業効率を向上できる。
【発明の効果】
【0008】
本開示によれば、塗装ロボットによって複数の塗装対象を塗装する場合に、作業効率を向上できる。
【図面の簡単な説明】
【0009】
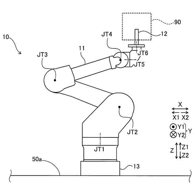
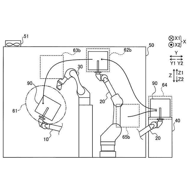
本開示の第1実施形態による塗装システムの全体構成を示した模式図である。
塗装システムの構成を示したブロック図である。
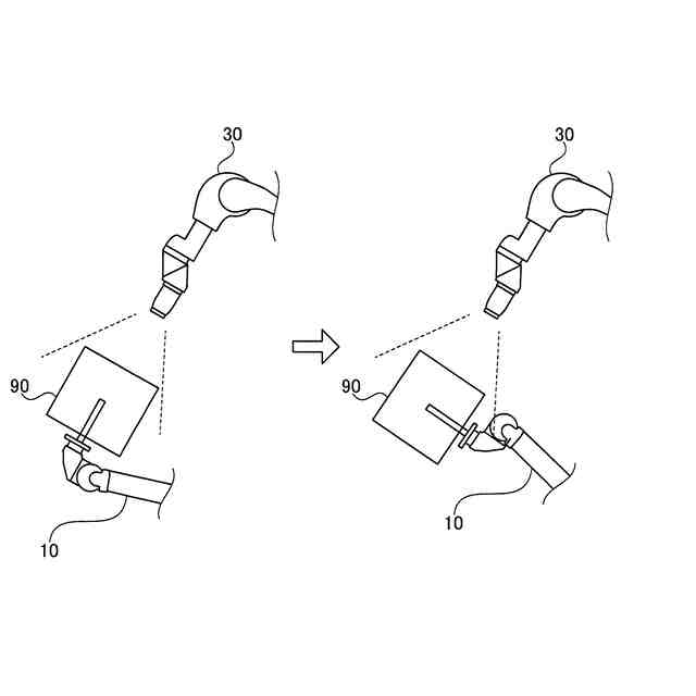
搬送ロボットの構成を説明するための模式図である。
塗装ロボットの構成を説明するための模式図である。
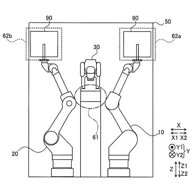
一対の搬送ロボットと塗装ロボットとの配置を示した図である。
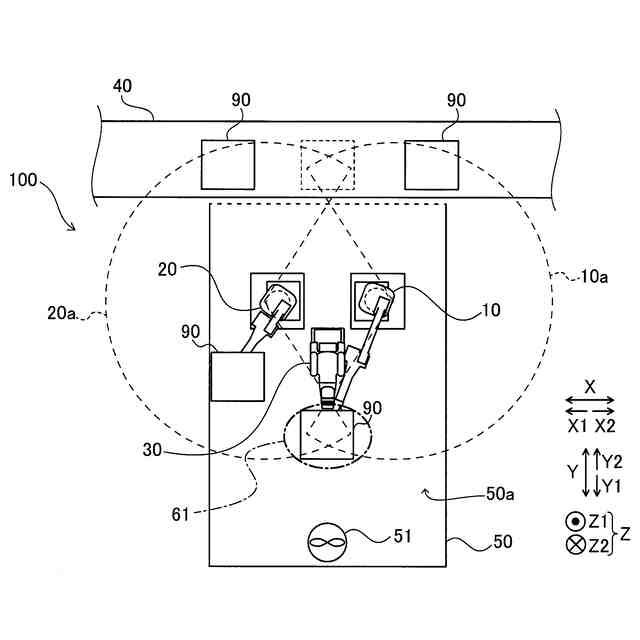
搬送ロボットの動作を説明するための天面図である。
第1実施形態による待機領域および塗装準備位置を説明するための図である。
塗装動作における姿勢の変更を説明するための図である。
第1実施形態の塗装システムによる塗装対象の塗装方法を説明するためのフローチャート図である。
本開示の第2実施形態による塗装システムの全体構成を示した模式図である。
第2実施形態による待機領域を説明するための図である。
【発明を実施するための形態】
【0010】
以下、本開示を具体化した本開示の一実施形態を図面に基づいて説明する。
(【0011】以降は省略されています)
この特許をJ-PlatPat(特許庁公式サイト)で参照する
関連特許
個人
固定補助具
1か月前
個人
折りたたみ工具
1か月前
川崎重工業株式会社
ロボット
12日前
株式会社三協システム
製函機
1か月前
株式会社竹中工務店
補助セット
11日前
株式会社不二越
ロボット
11日前
CKD株式会社
把持装置
1か月前
株式会社三協システム
移載装置
1か月前
株式会社不二越
ロボットシステム
1か月前
株式会社不二越
ロボット操作装置
1か月前
川崎重工業株式会社
ハンド
3日前
太陽パーツ株式会社
アシストスーツ
1か月前
株式会社ミクロブ
把持装置
1か月前
SMC株式会社
着脱装置
1か月前
日本精工株式会社
締結用工具
1か月前
株式会社不二越
移動ロボットシステム
14日前
工機ホールディングス株式会社
作業機
3日前
ARMA株式会社
ジョイントフレーム
1か月前
トヨタ自動車株式会社
ロボット
6日前
株式会社不二越
ロボットシステム
1か月前
川崎重工業株式会社
塗装システム
3日前
株式会社不二越
エッジ仕上げ装置
24日前
本田技研工業株式会社
装置
17日前
株式会社不二越
ロボットシステム
1か月前
トヨタ自動車株式会社
歩行ロボット
1か月前
トヨタ自動車株式会社
軌道生成装置
6日前
株式会社不二越
垂直多関節ロボット
25日前
アネックスツール株式会社
ドライバービット
10日前
ライオン株式会社
移載システム
26日前
大和ハウス工業株式会社
ねじ回転工具
1か月前
シンフォニアテクノロジー株式会社
搬送装置
14日前
ダイハツ工業株式会社
移載治具
1か月前
工機ホールディングス株式会社
作業機
3日前
ワールド技研株式会社
ロボットセル装置
11日前
川崎重工業株式会社
ワーク搬送ロボット
3日前
株式会社マキタ
回転打撃工具
6日前
続きを見る
他の特許を見る