TOP
|
特許
|
意匠
|
商標
特許ウォッチ
Twitter
他の特許を見る
10個以上の画像は省略されています。
公開番号
2025131298
公報種別
公開特許公報(A)
公開日
2025-09-09
出願番号
2024028959
出願日
2024-02-28
発明の名称
制振ストッパー及び自動倉庫のラック
出願人
住友理工株式会社
,
村田機械株式会社
代理人
個人
,
個人
主分類
B65G
1/14 20060101AFI20250902BHJP(運搬;包装;貯蔵;薄板状または線条材料の取扱い)
要約
【課題】荷受部材のサイズに影響されることなく適用でき、既設のラックにも容易に施工可能となって設置性に優れたものとする。
【解決手段】制振ストッパー1は、積荷への係止部21を有する係止部材2と、荷受部材66に連結される第1連結部材30と、係止部材2と第1連結部材30との間に介在され、係止部材2と第1連結部材30との前後方向への相対移動によって剪断変形する粘弾性体32とを含む。そして、第1連結部材30は、荷受部材66の外側面67に取り付け可能で、第1連結部材30を外側面67に取り付けた状態で、第1連結部材30と、粘弾性体32と、係止部材2とが左右方向に積層されると共に、係止部21が荷受部材66よりも上方へ突出する。
【選択図】図1
特許請求の範囲
【請求項1】
自動倉庫のラックの棚部を形成して積荷の出し入れ方向となる前後方向へ水平に延びる筒状の荷受部材に取り付けられ、前記棚部から前後方向への積荷の落下を防止する制振ストッパーであって、
積荷への係止部を有する係止部材と、前記荷受部材に連結される連結部材と、前記係止部材と前記連結部材との間に介在され、前記係止部材と前記連結部材との前後方向への相対移動によって剪断変形する粘弾性体と、を少なくとも含み、
前記連結部材は、前記荷受部材の内側面又は外側面に取り付け可能で、前記連結部材を前記内側面又は前記外側面に取り付けた状態で、前記連結部材と、前記粘弾性体と、前記係止部材とが左右方向に積層されると共に、前記係止部が前記荷受部材よりも上方へ突出することを特徴とする制振ストッパー。
続きを表示(約 1,200 文字)
【請求項2】
前記係止部は、上下方向に対称な形状であることを特徴とする請求項1に記載の制振ストッパー。
【請求項3】
前記連結部材は、前記荷受部材の外側面に取り付け可能で、前記外側面への取り付け状態で、前記連結部材と、前記粘弾性体と、前記係止部材とが前記荷受部材の外側で左右方向に積層されることを特徴とする請求項1に記載の制振ストッパー。
【請求項4】
前記粘弾性体と前記係止部材との間に、第2の連結部材が介在されて、前記連結部材を前記内側面又は前記外側面に取り付けた状態で、前記連結部材と、前記粘弾性体と、前記第2の連結部材と、前記係止部材とが左右方向に積層されることを特徴とする請求項1に記載の制振ストッパー。
【請求項5】
前記連結部材は、前記荷受部材の内側面に取り付けられて、前記連結部材と、前記粘弾性体と、前記係止部材とが前記荷受部材の内部で左右方向に積層されることを特徴とする請求項1に記載の制振ストッパー。
【請求項6】
前記係止部材は、前記荷受部材の上側内面及び/又は下側内面に当接又は近接し、前記粘弾性体の前後方向の剪断変形に伴い前記上側内面及び/又は前記下側内面と摺動するガイド部を備えることを特徴とする請求項5に記載の制振ストッパー。
【請求項7】
自動倉庫のラックの棚部を形成して積荷の出し入れ方向となる前後方向へ水平に延びる筒状の荷受部材に取り付けられ、前記棚部から前後方向への積荷の落下を防止する制振ストッパーであって、
積荷への係止部を有する係止部材と、前記荷受部材に連結される連結部材と、前記係止部材と前記連結部材との間に介在され、前記係止部材と前記連結部材との前後方向への相対移動によって剪断変形する粘弾性体と、を少なくとも含み、
前記連結部材は、前記荷受部材の内側面又は外側面に取り付け可能で、前記連結部材を前記内側面又は前記外側面に取り付けた状態で、前記連結部材と、前記粘弾性体と、前記係止部材とが上下方向に積層されると共に、前記係止部が前記荷受部材よりも上方へ突出することを特徴とする制振ストッパー。
【請求項8】
前記係止部は、左右方向に対称な形状であることを特徴とする請求項7に記載の制振ストッパー。
【請求項9】
前記連結部材は、前記荷受部材の外側面に取り付け可能で、前記外側面への取り付け状態で、前記連結部材と、前記粘弾性体と、前記係止部材とが前記荷受部材の外側で上下方向に積層されることを特徴とする請求項7に記載の制振ストッパー。
【請求項10】
前記連結部材と前記粘弾性体との間に、第2の連結部材が介在されて、前記連結部材を前記内側面又は前記外側面に取り付けた状態で、前記連結部材と、前記第2の連結部材と、前記粘弾性体と、前記係止部材とが上下方向に積層されることを特徴とする請求項9に記載の制振ストッパー。
(【請求項11】以降は省略されています)
発明の詳細な説明
【技術分野】
【0001】
本開示は、自動倉庫のラックに設けた棚部に積荷の落下を防止するために設けられる制振ストッパーと、その制振ストッパーを設けた自動倉庫のラックとに関する。
続きを表示(約 5,700 文字)
【背景技術】
【0002】
自動倉庫のラックには、スタッカクレーンの経路に沿った水平方向である左右方向に、所定間隔をおいて複数の支柱が配列されると共に、その支柱の列が、左右方向と直交する前後方向に2列配列されている。この支柱によって、上下方向と左右方向とに複数の棚部が支持されている。各棚部は、支柱によって左右方向へ水平に支持される支持部材と、支持部材によって前後方向へ水平に支持される筒状の荷受部材とで形成されており、スタッカクレーンによって棚部の上面に積荷が前後方向から出し入れ可能となっている。
この棚部には、地震等による積荷の落下を防止するために制振ストッパーが設けられている。この制振ストッパーとして、例えば特許文献1には、鋼管からなる荷受部材の端部内に設けられるベース部材と、同じく荷受部材の端部内でベース部材に対向する突出部材と、ベース部材と突出部材との間に介在されて両部材に接着される粘弾性体とを有する構造が開示されている。ここでは突出部材が荷受部材から突出して上方へ延びる突出部を有しており、地震等で積荷が前後方向へ往復動すると、突出部材の突出部に衝突し、粘弾性体が剪断変形することで積荷の揺れが減衰されて落下が防止されるようになっている。
【先行技術文献】
【特許文献】
【0003】
特開2013-220941号公報
【発明の概要】
【発明が解決しようとする課題】
【0004】
特許文献1に開示の制振ストッパーは、ベース部材を貫通させたネジ部材にナットをねじ込んで突出部材を荷受部材に押圧させることで荷受部材の内部で固定される構造となっている。このため、制振ストッパーを収容できる特定サイズの荷受部材にのみ適用可能で、汎用性に問題があった。また、既設のラックの棚部へ後付けする場合、積荷が邪魔になる等して施工が困難な場合もあった。
【0005】
そこで、本開示は、荷受部材のサイズに影響されることなく適用でき、既設のラックにも容易に施工可能となって設置性に優れる制振ストッパー及び自動倉庫のラックを提供することを目的としたものである。
【課題を解決するための手段】
【0006】
上記目的を達成するために、本開示の第1の構成は、自動倉庫のラックの棚部を形成して積荷の出し入れ方向となる前後方向へ水平に延びる筒状の荷受部材に取り付けられ、棚部から前後方向への積荷の落下を防止する制振ストッパーであって、
積荷への係止部を有する係止部材と、荷受部材に連結される連結部材と、係止部材と連結部材との間に介在され、係止部材と連結部材との前後方向への相対移動によって剪断変形する粘弾性体と、を少なくとも含み、
連結部材は、荷受部材の内側面又は外側面に取り付け可能で、連結部材を内側面又は外側面に取り付けた状態で、連結部材と、粘弾性体と、係止部材とが左右方向に積層されると共に、係止部が荷受部材よりも上方へ突出することを特徴とする。
第1の構成の別の態様は、上記構成において、係止部は、上下方向に対称な形状であることを特徴とする。
第1の構成の別の態様は、上記構成において、連結部材は、荷受部材の外側面に取り付け可能で、外側面への取り付け状態で、連結部材と、粘弾性体と、係止部材とが荷受部材の外側で左右方向に積層されることを特徴とする。
第1の構成の別の態様は、上記構成において、粘弾性体と係止部材との間に、第2の連結部材が介在されて、連結部材を内側面又は外側面に取り付けた状態で、連結部材と、粘弾性体と、第2の連結部材と、係止部材とが左右方向に積層されることを特徴とする。
第1の構成の別の態様は、上記構成において、連結部材は、荷受部材の内側面に取り付けられて、連結部材と、粘弾性体と、係止部材とが荷受部材の内部で左右方向に積層されることを特徴とする。
第1の構成の別の態様は、上記構成において、係止部材は、荷受部材の上側内面及び/又は下側内面に当接又は近接し、粘弾性体の前後方向の剪断変形に伴い上側内面及び/又は下側内面と摺動するガイド部を備えることを特徴とする。
上記目的を達成するために、本開示の第2の構成は、自動倉庫のラックの棚部を形成して積荷の出し入れ方向となる前後方向へ水平に延びる筒状の荷受部材に取り付けられ、棚部から前後方向への積荷の落下を防止する制振ストッパーであって、
積荷への係止部を有する係止部材と、荷受部材に連結される連結部材と、係止部材と連結部材との間に介在され、係止部材と連結部材との前後方向への相対移動によって剪断変形する粘弾性体と、を少なくとも含み、
連結部材は、荷受部材の内側面又は外側面に取り付け可能で、連結部材を内側面又は外側面に取り付けた状態で、連結部材と、粘弾性体と、係止部材とが上下方向に積層されると共に、係止部が荷受部材よりも上方へ突出することを特徴とする。
第2の構成の別の態様は、上記構成において、係止部は、左右方向に対称な形状であることを特徴とする。
第2の構成の別の態様は、上記構成において、連結部材は、荷受部材の外側面に取り付け可能で、外側面への取り付け状態で、連結部材と、粘弾性体と、係止部材とが荷受部材の外側で上下方向に積層されることを特徴とする。
第2の構成の別の態様は、上記構成において、連結部材は、荷受部材の外側面に取り付け可能な縦連結部と、縦連結部の上下端にそれぞれ繋がる上下の横連結部とからなる横断面コ字状で、下側の横連結部に、第2の連結部材と粘弾性体と係止部材とが上下方向に積層されて、上側の横連結部は、係止部材の上面に近接又は当接していることを特徴とする。
第2の構成の別の態様は、上記構成において、連結部材は、荷受部材の内側面に取り付け可能で、内側面への取り付け状態で、連結部材と、粘弾性体と、係止部材とが荷受部材の内部で上下方向に積層されることを特徴とする。
上記目的を達成するために、本開示の第3の構成は、スタッカクレーンの経路に沿った水平方向である左右方向と、上下方向とに複数の棚部が配設されると共に、各棚部が、積荷の出し入れ方向となる前後方向へ水平に延びる筒状の荷受部材を含んで形成されてなる自動倉庫のラックであって、
各棚部の荷受部材に、第1の構成又は第2の構成の何れかに記載の制振ストッパーが取り付けられていることを特徴とする。
【発明の効果】
【0007】
本開示の制振ストッパー及び自動倉庫のラックによれば、連結部材が荷受部材の内側面又は外側面に取り付けられるため、荷受部材のサイズが異なっても取付可能となり、汎用性に優れる。また、既設のラックの棚部へ後付けする場合も、積荷が邪魔になることがない。よって、荷受部材のサイズに影響されることなく適用でき、既設のラックにも容易に施工可能となって設置性に優れたものとなる。そして、棚部からの積荷の落下を効果的に防止可能となる。
第1の構成の別の態様の制振ストッパーによれば、上記効果に加えて、係止部は、上下方向に対称な形状であるので、制振ストッパーを荷受部材の左右どちらの側面にも取付可能となる。よって、ラックへの取り付けの自由度が高まり、設置性がより向上する。勿論左右どちらの側面に取り付けてもストッパー機能は維持できる。
第1の構成の別の態様の制振ストッパーによれば、上記効果に加えて、連結部材は、荷受部材の外側面に取り付け可能で、外側面への取り付け状態で連結部材と粘弾性体と係止部材とが荷受部材の外側で左右方向に積層されるので、荷受部材の外側で制振ストッパーの設置作業がやりやすくなる。
第1の構成の別の態様の制振ストッパーによれば、上記効果に加えて、粘弾性体と係止部材との間に第2の連結部材が介在されて、連結部材を内側面又は外側面に取り付けた状態で、連結部材と粘弾性体と第2の連結部材と係止部材とが左右方向に積層されるので、連結部材と粘弾性体と第2の連結部材とを制振ユニットとして予め作製しておけば、施工現場では連結部材を荷受部材に取り付け、第2の連結部材に係止部材を取り付けることで、制振ストッパーの施工が容易に行える。
第1の構成の別の態様の制振ストッパーによれば、上記効果に加えて、連結部材は、荷受部材の内側面に取り付けられて、連結部材と粘弾性体と係止部材とが荷受部材の内部で左右方向に積層されるので、省スペースとなるのに加えて、外的要因から制振ストッパーが保護される。特に光やオゾンによる粘弾性体の劣化を低減可能となる。
第1の構成の別の態様の制振ストッパーによれば、上記効果に加えて、係止部材は、荷受部材の上側内面及び/又は下側内面に近接又は当接し、粘弾性体の前後方向の剪断変形に伴い上側内面及び/又は下側内面と摺動するガイド部を備えるので、係止部材が変位する際の傾きが抑えられて粘弾性体の上下方向への変形が規制される。よって、必要な減衰性能を維持できる。
第2の構成の別の態様の制振ストッパーによれば、上記効果に加えて、係止部は、左右方向に対称な形状であるので、制振ストッパーを荷受部材の左右どちらの側面にも取付可能となる。前後逆にすれば荷受部材の前後端のどちらにも取付可能となる。よって、ラックへの取り付けの自由度が高まり、設置性がより向上する。勿論左右どちらの側面に取り付けてもストッパー機能は維持できる。
第2の構成の別の態様の制振ストッパーによれば、上記効果に加えて、連結部材は、荷受部材の外側面に取り付け可能で、外側面への取り付け状態で、連結部材と粘弾性体と係止部材とが荷受部材の外側で上下方向に積層されるので、荷受部材の長手方向で中間部等の任意の箇所に取り付けることができる。よって、荷受部材上に複数の積荷が前後方向に並べて載置されるような場合でも、各積荷ごとに対応して制振ストッパーを設けることができる。
第2の構成の別の態様の制振ストッパーによれば、上記効果に加えて、連結部材は、荷受部材の内側面に取り付可能で、内側面への取り付け状態で、連結部材と粘弾性体と係止部材とが上下方向に積層されるので、省スペースとなるのに加えて、外的要因から制振ストッパーが保護され、光やオゾンによる粘弾性体の劣化を低減できる。
第2の構成の別の態様の制振ストッパーによれば、上記効果に加えて、連結部材は、横断面コ字状で、下側の横連結部に第2の連結部材と粘弾性体と係止部材とが上下方向に積層されて、上側の横連結部は、係止部材の上面に近接又は当接しているので、上側の横連結部により係止部の下方へのズレを抑えて積荷の移動規制を確実に行うことができる。
【図面の簡単な説明】
【0008】
形態1の制振ストッパーの説明図で、(A)が正面、(B)が平面、(C)が側面をそれぞれ示す。
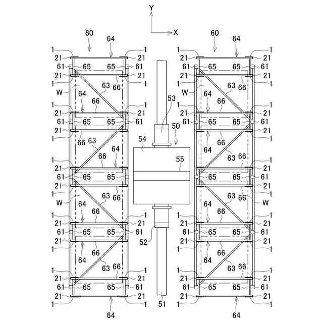
形態1の制振ストッパーを取り付けた自動倉庫のラックの側面図である。
形態1の制振ストッパーを取り付けた自動倉庫のラックの平面図である。
形態1の制振ストッパーにガイド部材を設けた変更例の説明図で、(A)が正面、(B)が平面、(C)が側面をそれぞれ示す。
形態1の制振ストッパーにガイド部材としてボルトを設けた変更例の説明図で、(A)が正面、(B)が平面、(C)が側面をそれぞれ示す。
形態2の制振ストッパーの説明図で、(A)が正面、(B)が平面、(C)が側面をそれぞれ示す。
形態3の制振ストッパーの説明図で、(A)が正面、(B)が平面、(C)が側面をそれぞれ示す。
形態3の制振ストッパーを棚部に取り付けた状態を示す説明図で、(A)は平面、(B)は(A)のA矢視図である。
形態3の変更例の制振ストッパーの説明図で、(A)が正面、(B)が平面、(C)が側面をそれぞれ示す。
【発明を実施するための形態】
【0009】
以下、本開示の実施の形態を図面に基づいて説明する。
[形態1]
図1は、第1の構成に係る制振ストッパーの一例を示す説明図で、(A)が正面、(B)が平面、(C)が側面をそれぞれ示している。
制振ストッパー1は、係止部材2と、制振ユニット3とを備えている。制振ストッパー1は、図2及び図3に示す自動倉庫のラック60において、積荷を載置する棚部64を形成する荷受部材66に取り付けられる。図1は、荷受部材66に取り付けられた状態を示している。
荷受部材66は、筒状の角鋼管で、積荷が出し入れされる前後方向へ水平に配置される。ここでは便宜上、図1(A)の上側を上方、同図(B)の左側を前方とし、荷受部材66に向かって見た場合で左右を規定する。他の形態及び変更例においても同じである。
【0010】
係止部材2は、荷受部材66の右側の外側面67と平行に前後方向へ延びる金属製の帯板である。係止部材2は、荷受部材66の上下高さの略半分の上下幅となっているが、前部は、前方へ向かうに従ってテーパ状に幅が拡がって荷受部材66の上下高さより僅かに上下幅が小さい幅広部20となっている。幅広部20は、荷受部材66の前方で左側へ直角に折り曲げられて、前端に係止部21を形成している。係止部21は、荷受部材66と前後方向で重なり、荷受部材66よりも上下寸法が大きい正面視縦長矩形状となっている。係止部21は、係止部材2の上下方向の中心に対して上下対称形状となっている。係止部材2には、リベット止め用の透孔22,22が、前後方向に所定間隔をおいて形成されている。
(【0011】以降は省略されています)
この特許をJ-PlatPat(特許庁公式サイト)で参照する
関連特許
住友理工株式会社
断熱材
24日前
住友理工株式会社
シール部材
4日前
住友理工株式会社
圧力センサ
3日前
住友理工株式会社
摩擦ダンパ
14日前
住友理工株式会社
仕切り部材
3日前
住友理工株式会社
防振ゴム部材
3日前
住友理工株式会社
筒型防振装置
5日前
住友理工株式会社
防振ゴム部材
3日前
住友理工株式会社
冷却用熱交換器
4日前
住友理工株式会社
冷却用熱交換器
1か月前
住友理工株式会社
断熱材の製造方法
1か月前
住友理工株式会社
筒型モータマウント
12日前
住友理工株式会社
口腔用圧力センサシート
1か月前
住友理工株式会社
電子写真機器用帯電ロール
5日前
住友理工株式会社
電子写真機器用帯電ロール
5日前
住友理工株式会社
電池モジュール用緩衝シート
3日前
住友理工株式会社
ラテックス組成物の評価方法
3日前
住友理工株式会社
制振ストッパー及び自動倉庫のラック
1か月前
住友理工株式会社
シート用振動低減装置および乗員状態推定システム
3日前
住友理工株式会社
建造物用ゴム製品の補修工法および建造物用ゴム製品
4日前
住友理工株式会社
押出成形用ゴム組成物、ホース、およびホースの製造方法
3日前
住友理工株式会社
咬合力センサシート
24日前
個人
箱
12か月前
個人
収容箱
2か月前
個人
ゴミ箱
12か月前
個人
コンベア
4か月前
個人
容器
8か月前
個人
段ボール箱
6か月前
個人
段ボール箱
6か月前
個人
ゴミ収集器
6か月前
個人
宅配システム
6か月前
個人
角筒状構造体
5か月前
個人
パウチ補助具
11か月前
個人
土嚢運搬器具
8か月前
個人
バンド
1か月前
個人
楽ちんハンド
4か月前
続きを見る
他の特許を見る