TOP
|
特許
|
意匠
|
商標
特許ウォッチ
Twitter
他の特許を見る
10個以上の画像は省略されています。
公開番号
2025007927
公報種別
公開特許公報(A)
公開日
2025-01-17
出願番号
2023109676
出願日
2023-07-03
発明の名称
容器
出願人
個人
代理人
個人
主分類
B65D
77/04 20060101AFI20250109BHJP(運搬;包装;貯蔵;薄板状または線条材料の取扱い)
要約
【課題】缶詰の販売現場である店舗等において開けた缶詰の内容物を容易に容器に移すことができ、よってより簡単に持ち運ぶことを可能にする構成を提供する。
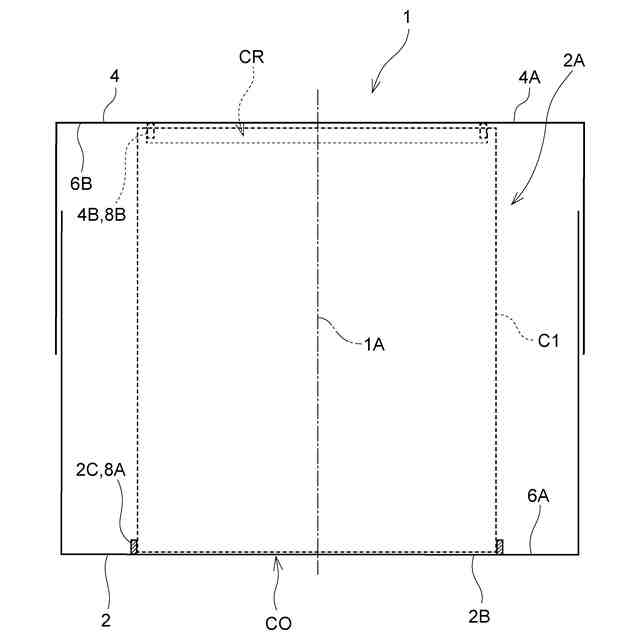
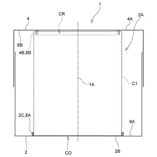
【解決手段】一実施形態に係る容器1は、開口部2Aを有する入物部2と、前記開口部2Aを閉じるように前記入物部2に着脱自在に取り付けられる蓋4と、入物部2の内側の缶詰保持補助部である突起2Cと、蓋4の内側の缶詰保持補助部である突起4Bとを備え、これらの缶詰保持補助部は、所定の缶詰形状に応じた形状を有する。
【選択図】図1
特許請求の範囲
【請求項1】
開口部を有する入物部と、
前記開口部を閉じるように前記入物部に着脱自在に取り付けられる蓋と
を備え、
前記入物部又は前記蓋の内側に、缶詰保持補助部を備え、
前記缶詰保持補助部は、所定の缶詰形状に応じた形状を有する、
容器。
続きを表示(約 400 文字)
【請求項2】
前記入物部及び前記蓋はそれぞれ、前記容器内の缶詰が当接するように構成された缶詰当接部を備え、
前記缶詰当接部に前記缶詰保持補助部が形成されている、
請求項1に記載の容器。
【請求項3】
前記缶詰保持補助部は、前記容器の軸線方向に延びるように形成されている、
請求項1に記載の容器。
【請求項4】
前記缶詰保持補助部は、前記所定の缶詰形状に応じた形状の溝又は突起を有する、
請求項1に記載の容器。
【請求項5】
前記溝又は前記突起は、前記容器の軸線の周りに無端形状を有して延在している、
請求項4に記載の容器。
【請求項6】
前記缶詰保持補助部は、前記入物部又は前記蓋の内側に露出するように設けられる弾性体に設けられている、
請求項1から5のいずれか一項に記載の容器。
発明の詳細な説明
【技術分野】
【0001】
本発明は、缶詰の内容物を移し替える容器に関する。
続きを表示(約 2,000 文字)
【背景技術】
【0002】
従来、水分の多い食品を金属製缶に詰めて、保存処理を施して密封した缶詰が販売されている。缶詰には、フルオープンエンド式のもの、スパイラル式のものなど種々の種類の缶詰がある。これらの缶詰を開けるための缶切り、オープナーなどが種々提案されている(例えば特許文献1、特許文献2)。
【先行技術文献】
【特許文献】
【0003】
特開2016-94237号公報
実用新案登録第3065146号
実用新案登録第3096724号
【発明の概要】
【発明が解決しようとする課題】
【0004】
ところで、缶詰は、次のようなメリットを持つ、優れた食品流通形態である。
1つ目は、長期保存が可能であることである。
2つ目は、食品保存に添加物等が不要で健康意識の高まりに適合していることである。
3つ目は、缶詰加工は大規模な設備や高度な技術を要せず実現できるため、生産現場に近い場所で比較的容易に加工できることである。
4つ目は、それにより嵩張り重たい素材段階での輸送が少なくコスト安となり、かつ新鮮な状態で加工できることである。
5つ目は、冷蔵・冷凍が不要であり、梱包しやすく振動などに強いので、運搬が容易であり、良い品質の製品を安く消費者に届けることが可能であることである。
6つ目は、店舗でも長期保存が可能なため食品ロスの低減につながることである。
7つ目は、空き缶は資源としての再利用上有利であり、環境対策上も優位性が高い。
8つ目は、缶詰の消費が拡大すれば自ずと缶詰の流通在庫が増加し、結果的に災害に対する社会全体としてのレジリエンスが強化されることである。
【0005】
しかし、家庭で缶を開ける危険、手間や、空き缶の保管や処分が面倒なことにより、その優位性に比べれば普及又は利用範囲は十分とは言い難い。またコンビニエンスストアなどの店舗等で惣菜や弁当を購入して出先で食べる需要は大きいが、缶詰はそうした需要に十分に応えることができていない。
こうした状況への対応として缶詰の販売現場である店舗等において、缶詰を開けてその内容物を容器に移し替えて家に持ち帰ることが考えられる。しかし、開けた缶詰の内容物を、食料品等を保管する容器(例えば特許文献3参照)に移し替えるとき、その内容物はこぼれやすい。つまり、従来の容器は、缶詰の内容物を容易に移し替えることに向けられていない。
【0006】
本発明は、缶詰の販売現場である店舗等において開けた缶詰の内容物を容易に容器に移すことができ、よってより簡単に持ち運ぶことを可能にする構成を提供することを目的とする。ひいては、本発明は、店舗等で缶詰を開けることで、空き缶を店舗等が引き取ることを容易にし、缶詰による食料消費を拡大し、環境負荷の少ない食品流通を実現することを目的とするものである。
【課題を解決するための手段】
【0007】
上記目的を達成するために、本発明の一態様は、
開口部を有する入物部と、
前記開口部を閉じるように前記入物部に着脱自在に取り付けられる蓋と
を備え、
前記入物部又は前記蓋の内側に、缶詰保持補助部を備え、
前記缶詰保持補助部は、所定の缶詰形状に応じた形状を有する、
容器
を提供する。
【0008】
本発明の一態様に係る上記構成の容器によれば、入物部又は蓋の内側に、缶詰保持補助部を備え、その缶詰保持補助部は、所定の缶詰形状に応じた形状を有するので、その缶詰保持補助部により容器内での缶詰の保持を補助することができる。よって、容器内に缶詰を保持した状態で、容器ごと上下を逆さにするなどして、缶詰の販売現場である店舗等において開けた缶詰の内容物を容易に容器に移すことができ、よってそれをより簡単に持ち運ぶことが可能になる。
【0009】
好ましくは、前記入物部及び前記蓋はそれぞれ、前記容器内の缶詰が当接するように構成された缶詰当接部を備え、前記缶詰当接部に前記缶詰保持補助部が形成されている。この構成によれば、入物部と蓋との間に缶詰を挟んで保持することができ、その缶詰の保持を缶詰保持補助部で補助することができる。よって、容器内に缶詰を保持した状態で、容器ごと上下を逆さにするとき、容器内での缶詰の位置を実質的に固定することができる。
【0010】
好ましくは、前記缶詰保持補助部は、前記容器の軸線方向に延びるように形成されている。この構成によれば、容器の軸線方向つまり、入物部又は蓋の軸線方向に缶詰を移動させることで、缶詰は缶詰保持補助部に接することが可能になる。
(【0011】以降は省略されています)
この特許をJ-PlatPat(特許庁公式サイト)で参照する
関連特許
個人
収容箱
3か月前
個人
コンベア
5か月前
個人
ゴミ収集器
7か月前
個人
段ボール箱
7か月前
個人
段ボール箱
7か月前
個人
容器
9か月前
個人
楽ちんハンド
5か月前
個人
角筒状構造体
5か月前
個人
土嚢運搬器具
8か月前
個人
宅配システム
7か月前
個人
バンド
2か月前
個人
包装容器
1か月前
個人
廃棄物収容容器
2か月前
個人
お薬の締結装置
6か月前
個人
コード類収納具
8か月前
個人
閉塞装置
10か月前
個人
把手付米袋
4か月前
株式会社和気
包装用箱
4日前
株式会社コロナ
梱包材
5か月前
株式会社バンダイ
物品
24日前
株式会社和気
包装用箱
9か月前
個人
貯蔵サイロ
7か月前
個人
蓋閉止構造
4か月前
個人
蓋閉止構造
4か月前
個人
積み重ね用補助具
2か月前
個人
ゴミ処理機
9か月前
個人
介護用コップ
2か月前
個人
輸送積荷用動吸振器
6か月前
個人
包装箱
10か月前
個人
袋入り即席麺
7か月前
三甲株式会社
容器
6か月前
株式会社イシダ
搬送装置
6か月前
三甲株式会社
容器
1か月前
個人
コード折り畳み器具
4か月前
三甲株式会社
蓋体
9か月前
三甲株式会社
容器
6か月前
続きを見る
他の特許を見る