TOP
|
特許
|
意匠
|
商標
特許ウォッチ
Twitter
他の特許を見る
10個以上の画像は省略されています。
公開番号
2025040364
公報種別
公開特許公報(A)
公開日
2025-03-24
出願番号
2023168859
出願日
2023-09-11
発明の名称
段ボール箱
出願人
個人
代理人
主分類
B65D
5/468 20060101AFI20250314BHJP(運搬;包装;貯蔵;薄板状または線条材料の取扱い)
要約
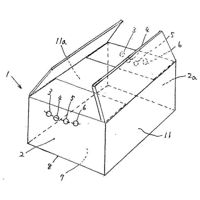
【課題】比較的重い内容商品が箱詰めされた輸送過程で積み替えを行う際に、ぶら下げるように持ち運ばれる場合でも、指掛け穴が裂けにくく、持ち運びし易い段ボール箱を提供する。
【解決手段】段ボール箱1における両幅面2,2a上方に、底面7の稜8方向に湾曲線上又は湾曲線付近上に中心を有する、人差し指、中指、薬指、小指それぞれの指を掛けるための各指掛け穴3、4、5、6を開口して備え、段ボール箱からの荷重を分散する。
【選択図】図1
特許請求の範囲
【請求項1】
段ボール箱における両幅面上方部分に、人差し指、中指、薬指、小指それぞれの指を掛
TIFF
2025040364000008.tif
11
170
して開口されて備えている段ボール箱。
続きを表示(約 520 文字)
【請求項2】
段ボール箱における両幅面上方部分に、人差し指、中指、薬指、小指それぞれの指を掛
TIFF
2025040364000009.tif
11
170
開口されて備えている段ボール箱。
【請求項3】
段ボール箱における両幅面上方部分に、人差し指を掛ける指掛け穴と、中指及び薬指との両指を掛ける共通の指掛け穴と、小指を掛ける指掛け穴と、をそれぞれ開口して備えている段ボール箱。
【請求項4】
それぞれの円形状の指掛け穴が、段ボール箱における一方の長さ面側と段ボール箱反対側の他方の長さ面側との両方向から、人差し指、中指、薬指、小指が掛けられる形状に開口した請求項1及び請求項2及び請求項3記載の段ボール箱。
【請求項5】
段ボール箱における両幅面上方部分に、人差し指及び中指との両指を掛ける共通の指掛け穴と、薬指及び小指との両指を掛ける共通の指掛け穴と、をそれぞれ開口して備えている段ボール箱。
【請求項6】
指掛け穴の上端より上方部に、長方形の補強材を貼付けて備えている請求項2、請求項3、請求項5記載の段ボール箱。
発明の詳細な説明
【技術分野】
【0001】
本発明は、平らな紙(ライナー)と波状の紙(中芯)とが接着剤で貼合され、1つの構造体となっている段ボールシートを加工して製造される段ボール箱において、段ボール箱の両幅面上方に手掛け穴を開口して設けた段ボール箱に関する。
続きを表示(約 1,700 文字)
【背景技術】
【0002】
上下平らな紙(ライナー)と1枚の波状の紙(中芯)の計3枚の紙によって構成されている段ボールシートを加工して製造される段ボール箱は、内容商品に合わせて最適な寸法に設計することができるために、例えば、レトルト包装や真空包装された食品などの輸送中の振動で商品同士がこすれて発生するピンホール(小さな穴)の発生の可能性が低く、商品の安全性が高く保たれ、また、食品メーカーをはじめ、さまざまな分野で輸送包装の主役として利用され、そして、内容商品に合わせて最適な寸法に設計する段ボール箱は、軽量で、無駄な空間が発生しないためにトラックへの積載効率や輸送効率も高まり、さらに、紙からできている段ボールは100%再生産可能な天然素材で、万が一、リサイクルされずに放置された場合でも最後は土に還るなどの数々の長所を備えている。
【発明の概要】
【発明が解決しようとする課題】
【0003】
ところで、上記のような段ボール箱は、比較的重い内容商品が箱詰めされた輸送過程で積み替えを行う際(スーパーなどでの品出し時など)、両幅面上方に開口して設けられた(図6に示す)それぞれの手掛け穴に手を掛け、ぶら下げるように持ち運ばれることがある。そして、両手掛け穴には、親指を除いた、人差し指、中指、薬指、そして小指を揃えて掛けていた。また、多くの手掛け穴の平面形状は、楕円形や楕円形を長軸方向で二分割した内の上方の半楕円形状(図6に示す)などに開口されている。よって、人差し指、中指、薬指、そして小指を揃えて掛けていた手掛け穴においては、特に、人差し指外側上方の手掛け穴部分と小指外側上方の手掛け穴部分とから裂ける場合があり、裂けた場合においては運びにくく、ケース売りができないこともある。
【0004】
そこで、本発明は、上記課題を解決するためになされたもので、手掛け穴に替えて、人差し指、中指、薬指、そして小指それぞれを掛けるための指掛け穴を有すことにより、段ボール箱からの荷重を分散し、それぞれの指掛け穴が裂けにくく、また、持ち運びし易い段ボール箱を提供することを目的とする。
【課題を解決するための手段】
【0005】
上記課題を解決するため、請求項1の発明は、段ボール箱における両幅面上方部分に人
TIFF
2025040364000002.tif
11
170
曲した湾曲線上又は湾曲線付近上に中心を有して開口されて備えていることを特徴とする段ボール箱である。
【0006】
請求項2の発明は、段ボール箱における両幅面上方部分に、人差し指、中指、薬指、小
TIFF
2025040364000003.tif
11
170
近上に中心を有して開口されて備えている段ボール箱である。
【0007】
請求項3の発明は、段ボール箱における両幅面上方部分に、人差し指を掛ける指掛け穴と、中指と薬指との両指を掛ける共通の指掛け穴と、小指を掛ける指掛け穴と、をそれぞれ開口して備えている段ボール箱である。
【0008】
請求項4の発明は、それぞれの円形状の指掛け穴が、段ボール箱における一方の長さ面側と段ボール箱反対側の他方の長さ面側との両方向から、人差し指、中指、薬指、小指が掛けられる形状に開口した請求項1及び請求項2及び請求項3記載の段ボール箱である。
【0009】
請求項5の発明は、人差し指と中指との両指を掛ける共通の指掛け穴と、薬指と小指との両指を掛ける共通の指掛け穴と、をそれぞれ開口して備えている段ボール箱である。
【0010】
請求項6の発明は、指掛け穴の上端より上方部に、長方形状などの補強材を貼付けて備えている請求項2、請求項3、請求項5記載の段ボール箱である。
【発明の効果】
(【0011】以降は省略されています)
この特許をJ-PlatPat(特許庁公式サイト)で参照する
関連特許
個人
収容箱
3か月前
個人
コンベア
5か月前
個人
容器
9か月前
個人
段ボール箱
7か月前
個人
段ボール箱
7か月前
個人
ゴミ収集器
7か月前
個人
角筒状構造体
5か月前
個人
土嚢運搬器具
8か月前
個人
宅配システム
7か月前
個人
楽ちんハンド
5か月前
個人
バンド
2か月前
個人
廃棄物収容容器
2か月前
個人
コード類収納具
8か月前
個人
包装容器
1か月前
個人
お薬の締結装置
6か月前
個人
閉塞装置
10か月前
個人
蓋閉止構造
4か月前
株式会社和気
包装用箱
9か月前
個人
蓋閉止構造
4か月前
個人
貯蔵サイロ
7か月前
株式会社和気
包装用箱
4日前
個人
積み重ね用補助具
2か月前
個人
ゴミ処理機
9か月前
株式会社コロナ
梱包材
5か月前
株式会社バンダイ
物品
24日前
個人
把手付米袋
4か月前
三甲株式会社
容器
8日前
株式会社KY7
封止装置
3か月前
個人
袋入り即席麺
7か月前
個人
搬送システム
6か月前
個人
コード折り畳み器具
4か月前
個人
包装箱
10か月前
個人
輸送積荷用動吸振器
6か月前
株式会社新弘
容器
3か月前
株式会社イシダ
搬送装置
6か月前
個人
介護用コップ
2か月前
続きを見る
他の特許を見る