TOP
|
特許
|
意匠
|
商標
特許ウォッチ
Twitter
他の特許を見る
公開番号
2025135812
公報種別
公開特許公報(A)
公開日
2025-09-19
出願番号
2024033795
出願日
2024-03-06
発明の名称
断熱材
出願人
住友理工株式会社
代理人
個人
,
個人
,
個人
主分類
F16L
59/02 20060101AFI20250911BHJP(機械要素または単位;機械または装置の効果的機能を生じ維持するための一般的手段)
要約
【課題】 バッテリーパックに用いられ、断熱性に優れる断熱材を提供する。また、断熱性に加えて、強度が高くハンドリング性に優れる断熱材を提供する。
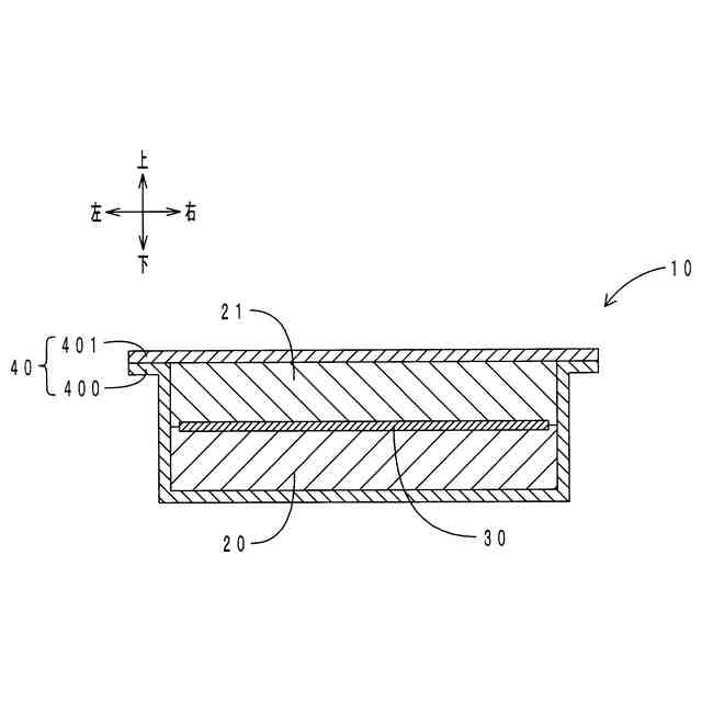
【解決手段】 断熱材10は、複数のバッテリーセルの積層体において、積層方向に隣り合う任意の一対の該バッテリーセル間に配置される。断熱材10は、複数の一次粒子が連結して骨格をなし、該骨格間に細孔を有する多孔質構造体を有する断熱層20、21と、断熱層20、21に積層され、金属および無機繊維から選ばれる一種以上を有する補強層30と、断熱層20、21および補強層30を収容する外装材40と、を備える。該積層方向に対して交差する方向を沿層方向として、補強層30の該沿層方向の大きさは、補強層30に隣接する断熱層20、21の該沿層方向の大きさよりも小さい。
【選択図】 図1
特許請求の範囲
【請求項1】
複数のバッテリーセルの積層体において、積層方向に隣り合う任意の一対の該バッテリーセル間に配置される断熱材であって、
複数の一次粒子が連結して骨格をなし、該骨格間に細孔を有する多孔質構造体を有する断熱層と、
該断熱層に積層され、金属および無機繊維から選ばれる一種以上を有する補強層と、
該断熱層および該補強層を収容する外装材と、
を備え、
該積層方向に対して交差する方向を沿層方向として、該補強層の該沿層方向の大きさは、該補強層に隣接する該断熱層の該沿層方向の大きさよりも小さいことを特徴とする断熱材。
続きを表示(約 620 文字)
【請求項2】
前記補強層は、金属シートと、無機繊維から形成される布と、から選ばれる一種以上を有する請求項1に記載の断熱材。
【請求項3】
前記補強層は、アルミ箔およびガラスクロスの少なくとも一方を有する請求項1に記載の断熱材。
【請求項4】
前記補強層の厚さは、1μm以上500μm以下である請求項1に記載の断熱材。
【請求項5】
前記沿層方向に延在する面を比較した場合、前記補強層の面積は、該補強層に隣接する前記断熱層の面積の94%以上である請求項1に記載の断熱材。
【請求項6】
前記断熱層の厚さは、0.5mm以上5mm以下である請求項1に記載の断熱材。
【請求項7】
前記多孔質構造体は、シリカエアロゲルである請求項1に記載の断熱材。
【請求項8】
前記断熱層は、前記多孔質構造体の分散剤、赤外線遮蔽粒子、無機繊維、補強無機粒子、および難燃剤から選ばれる一種以上を有する請求項1に記載の断熱材。
【請求項9】
前記積層方向において、前記補強層は、前記断熱層の両側に配置される請求項1に記載の断熱材。
【請求項10】
前記断熱層は、前記積層方向に二つ以上配置され、
前記補強層は、隣り合う二つの該断熱層の間に配置され、該補強層の全体が二つの該断熱層の積層体に埋入される請求項1に記載の断熱材。
発明の詳細な説明
【技術分野】
【0001】
本開示は、複数のバッテリーセルが収容されるバッテリーパックにおいて、隣り合うバッテリーセル間などに配置される断熱材であって、特にエアロゲルなどの多孔質構造体を用いた断熱材に関する。
続きを表示(約 2,200 文字)
【背景技術】
【0002】
ハイブリッド自動車や電気自動車には、複数のバッテリーセルを収容したバッテリーパックが搭載される。バッテリーパックにおいては、複数のバッテリーセルの積層体が、積層方向の両側から締結部材により固定された状態で筐体内に収容される。積層方向に隣り合うバッテリーセル間などには、バッテリーセルが異常に発熱した場合に熱の移動を抑制し、熱暴走を抑制するために、断熱材が配置される。
【0003】
断熱材の材料としては、シリカエアロゲルなどの多孔質構造体が知られている。例えば、特許文献1には、多孔質構造体を有する断熱層と、該断熱層の厚さ方向両側に配置され、耐火性および輻射放熱性の少なくとも一方を有する機能層と、を備える断熱材が記載されている。また、特許文献2には、複数のバッテリーセルが接続される組電池に使用される熱伝達抑制シートとして、一対の断熱材と、その間に配置され該断熱材よりも熱伝導率が大きい熱拡散シートと、少なくとも該断熱材を内包して封止する樹脂フィルムと、を有する熱伝達抑制シートが記載されている。
【先行技術文献】
【特許文献】
【0004】
国際公開第2023/276441号
特開2023-56745号公報
【発明の概要】
【発明が解決しようとする課題】
【0005】
バッテリーパック用の断熱材には、高い断熱性が要求される。また、エアロゲルなどの多孔質構造体は、比較的柔軟で脆いため、多孔質構造体を用いる場合には、断熱材の強度を高め、ハンドリング性を向上させることが望まれる。しかしながら、バッテリーパックの小型化、軽量化などの観点から、断熱材の厚さを大きくすることは難しく、断熱材を薄肉化しつつ、断熱性や強度を向上させることは容易ではない。
【0006】
本開示は、このような実情に鑑みてなされたものであり、バッテリーパックに用いられ、断熱性に優れる断熱材を提供することを課題とする。また、断熱性に加えて、強度が高くハンドリング性に優れる断熱材を提供することを課題とする。
【課題を解決するための手段】
【0007】
(1)上記課題を解決するため、本開示の断熱材は、複数のバッテリーセルの積層体において、積層方向に隣り合う任意の一対の該バッテリーセル間に配置される断熱材であって、複数の一次粒子が連結して骨格をなし、該骨格間に細孔を有する多孔質構造体を有する断熱層と、該断熱層に積層され、金属および無機繊維から選ばれる一種以上を有する補強層と、該断熱層および該補強層を収容する外装材と、を備え、該積層方向に対して交差する方向を沿層方向として、該補強層の該沿層方向の大きさは、該補強層に隣接する該断熱層の該沿層方向の大きさよりも小さいことを特徴とする。
【0008】
本開示の断熱材は、断熱層に加えて、金属および無機繊維から選ばれる一種以上を有する補強層を有する。補強層により熱の移動が阻害されるため、断熱層のみの場合と比較して断熱性が向上する。また、補強層は、材料や配置の仕方により、強度を高める効果も発揮する。これにより、断熱性およびハンドリング性に優れる断熱材を実現することができる。このように、補強層は、断熱性を補強する、すなわち断熱性を向上させる役割の他、強度を補強する、すなわち強度を高める役割を果たす場合がある。本明細書においては、断熱性の向上と強度の向上とのいずれか一方、または両方をまとめて、補強効果と称する。
【0009】
バッテリーセルは、充放電に伴い膨張、収縮する。したがって、バッテリーセル間に配置される断熱材においては、バッテリーセルの膨張、収縮に追従して変形し、断熱性を維持できることが望ましい。この点、本開示の断熱材によると、補強層の沿層方向の大きさは、補強層に隣接する断熱層の沿層方向の大きさよりも小さい。換言すると、断熱材を積層方向から見た場合に、補強層の面積は、隣接する断熱層の面積より小さい。これにより、バッテリーセルの膨張、収縮に対する断熱層の追従変形性が、補強層により阻害されにくい。また、断熱層に対して補強層が沿層方向に突出していないため、補強層を介した導通、熱伝導が抑制される。これにより、断熱材における電気絶縁性および断熱性を維持することができる。
【0010】
ちなみに、上記特許文献1に記載されている断熱材においては、断熱層の両側に一対の機能層が配置されている。加えて、二つの断熱層の間に輻射反射層が配置される形態が記載されている。しかしながら、特許文献1には、機能層、輻射反射層の大きさに関する記載はない。また、上記特許文献2に記載されている熱伝達抑制シートにおいては、一対の断熱材の間に熱拡散シートを配置して、熱を面方向(沿層方向)に拡散させている。ここで、熱拡散シートの面方向の大きさは断熱材のそれよりも大きく、熱拡散シートは断熱材よりも外側に突出している。そして、熱拡散シートの突出部を熱伝達部材に接触させて、外部に熱を放出させている。このように、特許文献2には 熱拡散シートを断熱材よりも小さくするという技術思想はない。
(【0011】以降は省略されています)
この特許をJ-PlatPat(特許庁公式サイト)で参照する
関連特許
住友理工株式会社
断熱材
1か月前
住友理工株式会社
断熱材
20日前
住友理工株式会社
ブッシュ
1か月前
住友理工株式会社
シール部材
今日
住友理工株式会社
摩擦ダンパ
10日前
住友理工株式会社
被覆金属物品
1か月前
住友理工株式会社
産業用ホース
1か月前
住友理工株式会社
ブロック装置
1か月前
住友理工株式会社
接触検知装置
1か月前
住友理工株式会社
防振ブッシュ
1か月前
住友理工株式会社
動作判別装置
2か月前
住友理工株式会社
筒型防振装置
1日前
住友理工株式会社
冷却用熱交換器
3か月前
住友理工株式会社
冷却用熱交換器
1か月前
住友理工株式会社
生体振動センサ
1か月前
住友理工株式会社
冷却用熱交換器
今日
住友理工株式会社
冷却用熱交換器
3か月前
住友理工株式会社
動作判別システム
2か月前
住友理工株式会社
断熱材の製造方法
1か月前
住友理工株式会社
筒型モータマウント
8日前
住友理工株式会社
カップ付シートラバー
1か月前
住友理工株式会社
口腔用圧力センサシート
1か月前
住友理工株式会社
電子写真機器用現像ロール
1か月前
住友理工株式会社
電子写真機器用帯電ロール
1日前
住友理工株式会社
電子写真機器用帯電ロール
1日前
住友理工株式会社
電子写真機器用導電性ロール
1か月前
住友理工株式会社
モータ支持用の筒型防振装置
3か月前
住友理工株式会社
電動コンプレッサの支持構造
3か月前
住友理工株式会社
モータマウント用の筒型防振装置
2か月前
住友理工株式会社
モータマウント用の筒型防振装置
1か月前
住友理工株式会社
制振ストッパー及び自動倉庫のラック
1か月前
住友理工株式会社
冷却用熱交換器及び冷却用熱交換器の製造方法
2か月前
トヨタ自動車株式会社
エンジン周辺構造の支持装置
2か月前
住友理工株式会社
建造物用ゴム製品の補修工法および建造物用ゴム製品
今日
住友理工株式会社
車両用冷却液輸送ホース用組成物および車両用冷却液輸送ホース
3か月前
住友理工株式会社
咬合力センサシート
20日前
続きを見る
他の特許を見る