TOP
|
特許
|
意匠
|
商標
特許ウォッチ
Twitter
他の特許を見る
10個以上の画像は省略されています。
公開番号
2025133443
公報種別
公開特許公報(A)
公開日
2025-09-11
出願番号
2024031392
出願日
2024-03-01
発明の名称
手押台車
出願人
センターピア株式会社
代理人
個人
,
個人
主分類
B62B
3/02 20060101AFI20250904BHJP(鉄道以外の路面車両)
要約
【課題】使用に際して簡単に組み立てることができ、また、荷物の搬送が終了した後には簡単に折りたたむことができる手押台車を提供すること。
【解決手段】荷物を運搬するときに用いる手押台車1であって、荷台フレーム2と、荷台フレーム2に、その一端が回動可能に連結された四つの柱部3と、柱部3と係合して、柱部3を保持する保持部4と、を備え、柱部3は保持部4と係合することにより、荷台フレーム2に対して直立した状態で保持され、保持部4との係合を解除することにより、荷台フレーム2に積み重ね可能になり、保持部4の長さが柱部3の長さよりも短い。
【選択図】図1
特許請求の範囲
【請求項1】
荷物を運搬するときに用いる手押台車であって、
荷台フレームと、
前記荷台フレームに、一端が回動可能に連結された四つの柱部と、
前記柱部と係合して、前記柱部を保持する保持部を備え、
前記柱部は、
前記保持部と係合することにより、前記荷台フレームに対して直立した状態で保持され、
前記保持部との係合を解除することにより、前記荷台フレームに積み重ね可能になり、
前記保持部の長さが前記柱部の長さよりも短いことを特徴とする手押台車。
続きを表示(約 1,000 文字)
【請求項2】
四つの前記柱部のうち、同方向に回動可能な二つの前記柱部を連結する連結部を備えている、請求項1に記載の手押台車。
【請求項3】
前記保持部が溝部を備えており、
前記柱部は、前記保持部と係合した状態において、前記溝部に嵌合する、請求項1に記載の手押台車。
【請求項4】
前記溝部の断面がコの字状であり、
前記柱部の断面が前記溝部と嵌り合う矩形である、請求項3に記載の手押台車。
【請求項5】
荷物を運搬するときに用いる手押台車であって、
前記荷台フレーム、前記柱部および前記保持部を備えたユニットを複数有し、
複数の前記ユニットは、最下段の基台ユニットと、当該基台ユニットに直接または間接的に積み重ね可能な積み上げユニットからなり、
前記積み上げユニットは、前記荷台フレームにおける前記柱部とは反対側に、積上用係合部を備えており、
前記積上用係合部は、
前記柱部と前記保持部とが係合した状態において、前記柱部の端部と係合可能であり、
前記柱部と前記保持部との係合が解除された状態において、前記保持部の端部と係合可能である、請求項1に記載の手押台車。
【請求項6】
前記積み上げユニットがそれぞれ前記積上用係合部を四つ備えており、
四つの前記積上用係合部のうちの一つは、他の三つの前記積上用係合部よりも前記荷台フレームからの高さが高い位置決用係合部であり、
前記ユニットは、
前記柱部と前記積上用係合部とが係合した状態において前記位置決用係合部と係合する位置決用柱部が、前記位置決用係合部が他の前記積上用係合部よりも高さが高い分だけ、他の前記柱部よりも高さが低く、
前記柱部と前記積上用係合部との係合が解除された状態において前記位置決用係合部と係合する位置決用保持部が、前記位置決用係合部が他の前記積上用係合部よりも高さが高い分だけ、他の前記保持部よりも高さが低い、請求項5に記載の手押台車。
【請求項7】
前記積み上げユニットが二つであり、
一方の前記積み上げユニットにおける前記位置決用係合部の位置と、
他方の前記積み上げユニットにおける前記位置決用係合部の位置と、が異なる、請求項6に記載の手押台車。
【請求項8】
タイヤ運搬用である、請求項1に記載の手押台車。
発明の詳細な説明
【技術分野】
【0001】
本発明は、荷物をトラックなどに積み込んで輸送する際に使用される、折りたたみ可能な手押台車に関する。
続きを表示(約 2,200 文字)
【背景技術】
【0002】
荷物をトラックに積み込んで搬送する際に荷物運搬用の手押台車が用いられる。
特許文献1には、段積みされた複数本のタイヤを同時に運搬するための段積みタイヤの運搬装置が記載されている。しかし、同文献記載のタイヤの運搬装置は折りたたむことができず、搬送が終了した後においても広いスペースを占める。手押台車は、荷物の搬送が終了した後においてトラックの荷台で保管されるため、コンパクトに収納できることが好ましい。
そこで、特許文献2には、支持台、背枠および側枠に分解可能に構成されたタイヤ輸送用台車が提案されている。
【先行技術文献】
【特許文献】
【0003】
実開平4-125974号公報
実開平3- 57102号公報
【発明の開示】
【発明が解決しようとする課題】
【0004】
しかし、特許文献2に記載のタイヤ輸送用台車は、支持台、背枠および側枠が着脱可能に連結されたものであるため、使用前における組み立て作業と、使用後における分解作業が煩雑であるという問題がある。
そこで、本発明は、使用に際して簡単に組み立てることができ、また、荷物の搬送が終了した後には簡単に折りたたむことができる手押台車の提供を目的とする。
【課題を解決するための手段】
【0005】
本発明は、上記の課題を解決するための手段として以下の構成を備えている。
荷物を運搬するときに用いる手押台車であって、荷台フレームと、前記荷台フレームに、一端が回動可能に連結された四つの柱部と、前記柱部と係合して、前記柱部を保持する保持部を備え、前記柱部は、前記保持部と係合することにより、前記荷台フレームに対して直立した状態で保持され、前記保持部との係合を解除することにより、前記荷台フレームに積み重ね可能になり、前記保持部の長さが前記柱部の長さよりも短いことを特徴とする手押台車。
柱部と保持部とを係合させることで簡単に組み立てることができ、また、使用後には係合を解除することで簡単に折りたたむことができる。また、柱部と保持部との係合を解除して柱部を荷台フレームに積み重ねた状態において、荷台フレームから直立する部分が柱部よりも短い保持部になるため、手押台車の使用を終了して収納する際の高さ方向のサイズがコンパクトになる。
【0006】
四つの前記柱部のうち、同方向に回動可能な二つの前記柱部を連結する連結部を備えていてもよい。
連結部によって二つの柱部を同時に動かすことができるため、柱部と保持部との係合状態を変化させる際の取り扱い性が向上する。また、連結部によって連結された二つの柱部が二つの保持部によって保持されるため、柱部に加わった力を分散させることができ、柱部の剛性が向上する。
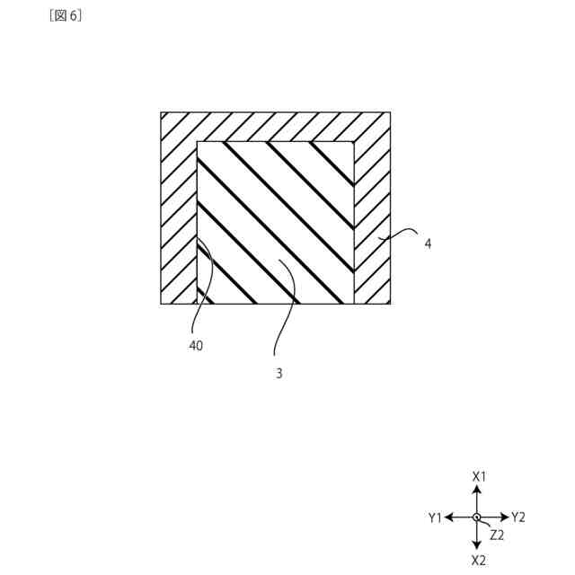
【0007】
前記保持部が溝部を備えており、前記柱部は、前記保持部と係合した状態において、前記溝部に嵌合する構成としてもよい。
前記溝部の断面がコの字状であり、前記柱部の断面が前記溝部と嵌り合う矩形であってもよい。
柱部が保持部と係合した状態において柱部が保持部の溝部と嵌り合うことで、保持部によって柱部を所定の位置に安定的に保持することができる。
【0008】
荷物を運搬するときに用いる手押台車であって、前記荷台フレーム、前記柱部および前記保持部を備えたユニットを複数有し、複数の前記ユニットは、最下段の基台ユニットと、当該基台ユニットに直接または間接的に積み重ね可能な積み上げユニットからなり、前記積み上げユニットは、前記荷台フレームにおける前記柱部とは反対側に、積上用係合部を備えており、前記積上用係合部は、前記柱部と前記保持部とが係合した状態において、前記柱部の端部と係合可能であり、前記柱部と前記保持部との係合が解除された状態において、前記保持部の端部と係合可能であってもよい。
【0009】
柱部が荷台フレームに対して直立した状態において、積上用係合部を柱部の端部と係合させ、複数のユニットを積み上げた状態とすることで沢山の荷物を搬送できる。また、柱部を荷台フレームに積み重ねた状態において、積上用係合部を保持部の端部と係合させることにより、複数のユニットをコンパクトに重ねて収納できる。
【0010】
前記積み上げユニットがそれぞれ前記積上用係合部を四つ備えており、四つの前記積上用係合部のうちの一つは、他の三つの前記積上用係合部よりも前記荷台フレームからの高さが高い位置決用係合部であり、前記ユニットは、前記柱部と前記積上用係合部とが係合した状態において、前記位置決用係合部と係合する位置決用柱部が、前記位置決用係合部が他の前記積上用係合部よりも高さが高い分だけ、他の前記柱部よりも高さが低く、前記柱部と前記積上用係合部との係合が解除された状態において、前記位置決用係合部と係合する位置決用保持部が、前記位置決用係合部が他の前記積上用係合部よりも高さが高い分だけ、他の前記保持部よりも高さが低くてもよい。
(【0011】以降は省略されています)
この特許をJ-PlatPat(特許庁公式サイト)で参照する
関連特許
センターピア株式会社
手押台車
24日前
個人
カート
3か月前
個人
走行装置
3か月前
個人
乗り物
4か月前
個人
電動走行車両
3か月前
個人
折り畳み自転車
10か月前
個人
発音装置
7か月前
個人
閂式ハンドル錠
3か月前
個人
駐輪設備
1か月前
個人
電動モビリティ
7か月前
個人
ボギー・フレーム
1か月前
個人
自転車用傘捕捉具
11か月前
個人
“zen-go.”
2か月前
個人
自由方向乗車自転車
7か月前
個人
体重掛けリフト台車
10か月前
個人
ルーフ付きトライク
2か月前
個人
ルーフ付きトライク
1か月前
個人
パワーアシスト自転車
1か月前
個人
アタッチメント
11か月前
個人
自転車用荷物台
10か月前
個人
キャンピングトライク
8か月前
個人
ステアリングの操向部材
8か月前
株式会社CPM
駐輪機
11か月前
株式会社豊田自動織機
産業車両
4か月前
個人
フロントフットブレーキ。
3か月前
株式会社三五
リアサブフレーム
10か月前
個人
ホイールハブ駆動構造
4か月前
個人
乗用自動車のディフューザー
10日前
ヤマハ発動機株式会社
車両
11か月前
豊田鉄工株式会社
小型車両
2か月前
ヤマハ発動機株式会社
車両
11か月前
ヤマハ発動機株式会社
車両
11か月前
ヤマハ発動機株式会社
車両
11か月前
学校法人千葉工業大学
車両
9か月前
学校法人千葉工業大学
車両
9か月前
豊田合成株式会社
操舵装置
11か月前
続きを見る
他の特許を見る