TOP
|
特許
|
意匠
|
商標
特許ウォッチ
Twitter
他の特許を見る
10個以上の画像は省略されています。
公開番号
2025134395
公報種別
公開特許公報(A)
公開日
2025-09-17
出願番号
2024032276
出願日
2024-03-04
発明の名称
車両用カバー
出願人
豊田鉄工株式会社
代理人
個人
主分類
B62D
25/20 20060101AFI20250909BHJP(鉄道以外の路面車両)
要約
【課題】車両の下部を広範囲に保護することのできる車両用カバーを提供する。
【解決手段】前輪21と、前輪21とサスペンションメンバ28とを繋ぐサスペンションアーム25と、前輪21およびサスペンションアーム25を収容するタイヤハウス23とを有する車両20に、サスアンダーカバー40は設けられる。サスアンダーカバー40は、カバー本体41と移動部43とを備える。カバー本体41は、タイヤハウス23の下部開口におけるサスペンションアーム25の下側の部分を覆う。移動部43は、前輪21の実舵角に応じて、カバー本体41の車幅方向における前輪21に近い側の外側端部412を車幅方向に移動させることが可能に構成される。
【選択図】図1
特許請求の範囲
【請求項1】
操舵輪と、前記操舵輪とサスペンションメンバとを繋ぐサスペンションアームと、前記操舵輪および前記サスペンションアームを収容するタイヤハウスと、を有する車両に適用され、
前記タイヤハウスの下部開口における前記サスペンションアームの車両下側の部分を覆うカバー本体と、
前記操舵輪の実舵角に応じて、前記カバー本体の車幅方向における前記操舵輪に近い側の端部を車幅方向に移動させることが可能に構成される移動部と、を備える車両用カバー。
続きを表示(約 580 文字)
【請求項2】
前記カバー本体は、車幅方向における前記操舵輪から遠い側の端部が前記サスペンションメンバに固定されており、且つ、車幅方向に伸縮可能に構成されている、
請求項1に記載の車両用カバー。
【請求項3】
前記カバー本体は弾性材料によって形成されており、
前記カバー本体の少なくとも一部は、車幅方向において山折りと谷折りとが交互に繰り返す蛇腹状をなしている、
請求項2に記載の車両用カバー。
【請求項4】
前記移動部は、前記カバー本体の前記操舵輪に近い側の端部を、同端部における車両前側の第1部分および車両後側の第2部分の一方が車幅方向の外側に移動するとともに他方が車幅方向の内側に移動するように、移動させるものである、
請求項1~3のいずれか一項に記載の車両用カバー。
【請求項5】
前記移動部は、操作ロッドと取付部材とを有し、
前記操作ロッドは、一端が前記操舵輪が取り付けられるハブにおける車両前側の部分に固定されるとともに、他端が前記カバー本体の前記第1部分に固定されるものであり、
前記取付部材は、タイロッドに一体に設けられるものであり、且つ、前記カバー本体の前記第2部分が固定されるものである、
請求項4に記載の車両用カバー。
発明の詳細な説明
【技術分野】
【0001】
本発明は、車両用カバーに関するものである。
続きを表示(約 1,800 文字)
【背景技術】
【0002】
自動車等の車両は、操舵輪や、同操舵輪とサスペンションメンバとを繋ぐサスペンションアーム、車両下方に向けて開口するように車両下部に設けられるとともに操舵輪およびサスペンションアームを収容するタイヤハウスを備える。
【0003】
近年、車両下面の保護や車両空力性能の向上のために、車両下面を覆うカバーを設けることが提案されている(特許文献1参照)。
【先行技術文献】
【特許文献】
【0004】
特開2019-166984号公報
【発明の概要】
【発明が解決しようとする課題】
【0005】
上記車両では、操舵輪の実舵角が変更されると、これに伴って操舵輪とタイヤハウスとの位置関係が変化する。そのため、前記カバーによってタイヤハウスの下部開口を含む車両下面を覆う場合には、操舵輪の実舵角が如何なる角度になった場合であっても同操舵輪とカバーとが接触しないように、カバーの形状を設定せざるを得ない。この場合には、車両下面において上記カバーで覆われる範囲が狭くなってしまう。これにより、カバーによって車両下面を保護する効果や車両の空力性能を向上させる効果が小さくなってしまう。
【課題を解決するための手段】
【0006】
上記課題を解決するための車両用カバーは、操舵輪と、前記操舵輪とサスペンションメンバとを繋ぐサスペンションアームと、前記操舵輪および前記サスペンションアームを収容するタイヤハウスと、を有する車両に適用され、前記タイヤハウスの下部開口における前記サスペンションアームの車両下側の部分を覆うカバー本体と、前記操舵輪の実舵角に応じて、前記カバー本体の車幅方向における前記操舵輪に近い側の端部を車幅方向に移動させることが可能に構成される移動部と、を備える。
【図面の簡単な説明】
【0007】
第1実施形態のサスアンダーカバーおよびその周辺を車両下方から見た下面図である。
第1実施形態のサスアンダーカバーが適用される車両の概略構成を示す下面図である。
右旋回時における同サスアンダーカバーを車両下方から見た下面図である。
左旋回時における同サスアンダーカバーを車両下方から見た下面図である。
第2実施形態の車両用カバーを車両下方から見た下面図である。
案内ピンによるカバー本体の係止構造を示す断面図である。
右旋回時における第2実施形態のサスアンダーカバーおよびその周辺を車両下方から見た下面図である。
左旋回時における同サスアンダーカバーを車両下方から見た下面図である。
変更例のサスアンダーカバーを車両下方から見た下面図である。
他の変更例のサスアンダーカバーを車両下方から見た下面図である。
【発明を実施するための形態】
【0008】
<第1実施形態>
以下、図1~図4を参照して、第1実施形態の車両用カバーについて説明する。
以降において、車両の幅方向を車幅方向Xとし、車両の前後方向を前後方向Yとし、車両が水平面上に位置しているときの車両の上下方向を上下方向Zとして説明する。また、車幅方向Xにおける右側および左側をそれぞれ単に「右側」および「左側」とし、前後方向Yにおける前側および後側をそれぞれ単に「前側」および「後側」とし、上下方向Zにおける上側および下側をそれぞれ単に「上側」および「下側」として説明する。
【0009】
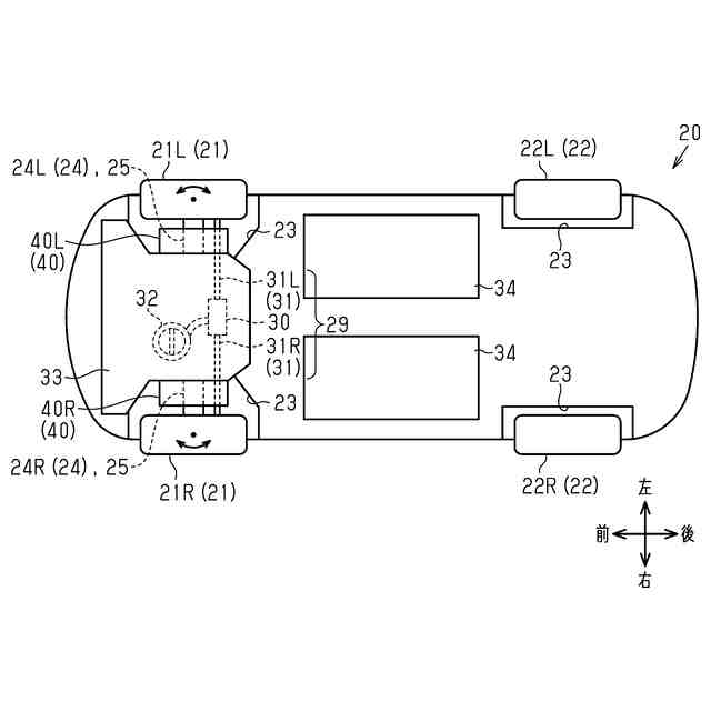
<車両20>
図2に示すように、車両20は2つの前輪21と2つの後輪22とを有する4輪の車両である。詳しくは、車両20は、右側の前輪21である右前輪21Rと、左側の前輪21である左前輪21Lと、右側の後輪22である右後輪22Rと、左側の後輪22である左後輪22Lとを有している。
【0010】
車両20は、右前輪21R、左前輪21L、右後輪22R、および左後輪22Lを各別に収容する4つのタイヤハウス23を備えている。各タイヤハウス23は、下側に向けて開口するように、車両20の下部に設けられている。
(【0011】以降は省略されています)
この特許をJ-PlatPat(特許庁公式サイト)で参照する
関連特許
豊田鉄工株式会社
金型
2か月前
豊田鉄工株式会社
小型車両
2か月前
豊田鉄工株式会社
車両用カバー
15日前
豊田鉄工株式会社
車体端部構造
21日前
豊田鉄工株式会社
クラッシュボックス
1か月前
個人
カート
2か月前
個人
走行装置
3か月前
個人
電動走行車両
3か月前
個人
乗り物
4か月前
個人
発音装置
6か月前
個人
閂式ハンドル錠
3か月前
個人
折り畳み自転車
10か月前
個人
電動モビリティ
7か月前
個人
駐輪設備
28日前
個人
自転車用傘捕捉具
11か月前
個人
ボギー・フレーム
1か月前
個人
ルーフ付きトライク
2か月前
個人
ルーフ付きトライク
1か月前
個人
自由方向乗車自転車
7か月前
個人
体重掛けリフト台車
10か月前
個人
“zen-go.”
2か月前
個人
アタッチメント
11か月前
個人
パワーアシスト自転車
1か月前
個人
自転車用荷物台
10か月前
個人
キャンピングトライク
8か月前
個人
ステアリングの操向部材
8か月前
株式会社CPM
駐輪機
11か月前
個人
フロントフットブレーキ。
3か月前
株式会社三五
リアサブフレーム
10か月前
株式会社豊田自動織機
産業車両
4か月前
個人
ホイールハブ駆動構造
3か月前
個人
乗用自動車のディフューザー
7日前
学校法人千葉工業大学
車両
9か月前
学校法人千葉工業大学
車両
9か月前
豊田合成株式会社
操舵装置
11か月前
ヤマハ発動機株式会社
車両
11か月前
続きを見る
他の特許を見る