TOP
|
特許
|
意匠
|
商標
特許ウォッチ
Twitter
他の特許を見る
10個以上の画像は省略されています。
公開番号
2025134440
公報種別
公開特許公報(A)
公開日
2025-09-17
出願番号
2024032337
出願日
2024-03-04
発明の名称
浮体式原子力発電システム
出願人
Advanced Float株式会社
代理人
弁理士法人秀和特許事務所
主分類
G21C
1/00 20180101AFI20250909BHJP(核物理;核工学)
要約
【課題】本願は、浮体の利点を原子炉の冷却に生かすことが可能な浮体式原子力発電システムを開示する。
【解決手段】原子炉と、原子炉の熱によって発生した蒸気で駆動するタービン発電機と、原子炉とタービン発電機が配置されており、海上に係留される浮体と、非常時に原子炉がある圧力容器内または格納容器内で発生した蒸気を貯蔵水の冷熱で凝縮させ、復水として圧力容器内または格納容器内へ戻す復水器と、貯蔵水を蓄える貯水部と、を備え、貯水部は、少なくとも底部が浮体の喫水線より低く設定されており、且つ、浮体周辺の水を直接的または間接的に流入させるための連通弁が設けられている、浮体式原子力発電システムである。
【選択図】図6
特許請求の範囲
【請求項1】
原子炉と、
前記原子炉の熱によって発生した蒸気で駆動するタービン発電機と、
前記原子炉と前記タービン発電機が配置されており、海上に係留される浮体と、
非常時に前記原子炉がある圧力容器内または格納容器内で発生した蒸気を貯蔵水の冷熱で凝縮させ、復水として前記圧力容器内または前記格納容器内へ戻す復水器と、
前記貯蔵水を蓄える貯水部と、を備え、
前記貯水部は、少なくとも底部が前記浮体の喫水線より低く設定されており、且つ、前記浮体周辺の水を直接的または間接的に流入させるための連通弁が設けられている、
浮体式原子力発電システム。
続きを表示(約 320 文字)
【請求項2】
前記浮体は、二重船殻構造によって前記浮体の側面部分に形成される側面バラストタンクを少なくとも有しており、
前記貯水部は、前記連通弁として、前記貯水部内と前記側面バラストタンクとを連通する第1連通弁を有する、
請求項1に記載の浮体式原子力発電システム。
【請求項3】
前記貯水部は、前記連通弁として、前記浮体の周囲の水を前記貯水部内流入させる第2連通弁を有する、
請求項1に記載の浮体式原子力発電システム。
【請求項4】
前記復水器は、前記浮体において少なくとも前記原子炉より高い位置に設置される、
請求項1から3の何れか一項に記載の浮体式原子力発電システム。
発明の詳細な説明
【技術分野】
【0001】
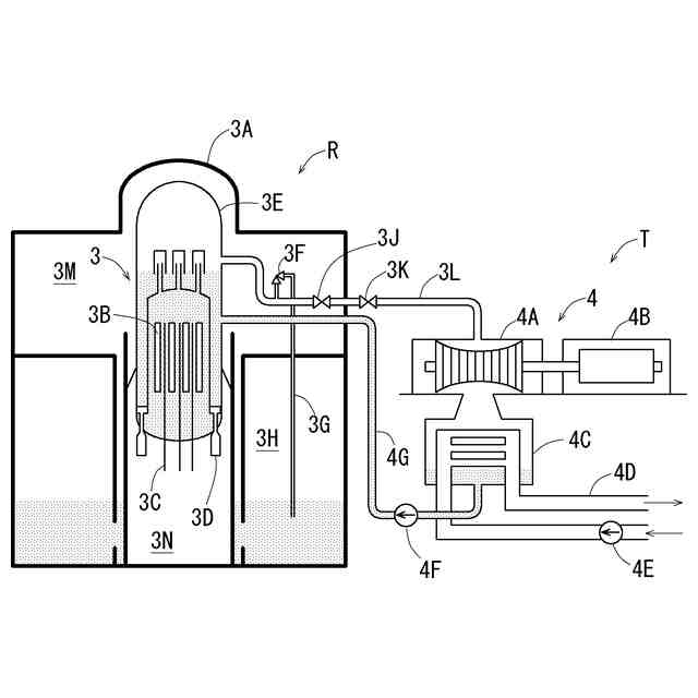
本発明は、浮体式原子力発電システムに関する。
続きを表示(約 1,600 文字)
【背景技術】
【0002】
原子力発電システムには、地上に設置する形態のみならず、海上に浮かべる浮体式の形態も提案されている(例えば、特許文献1-3を参照)。
【先行技術文献】
【特許文献】
【0003】
特開昭63-151898号公報
特開昭63-151899号公報
特開昭52-149589号公報
【非特許文献】
【0004】
Buongiorno, J. et al. “The Offshore Floating Nuclear Plant Concept.” Nuclear Technology 194.1 (2016)
浮場式原子力発電所浮体構造物の地震応答特性(その2)-底部に空気室を有する浮体の上下免震特性- 電力中央研究所 萩原豊 他、1987/8/1
【発明の概要】
【発明が解決しようとする課題】
【0005】
原子力発電システムを海上に浮かべる場合、浮体の周囲は海に囲まれるため、本来的には原子炉の冷却に有利な環境である。しかし、原子炉は、放射性物質が環境へ放出されるのを防ぐために格納容器等で厳重に保護されている。このため、陸上に設置される原子力発電システムをそのまま海上に浮かべても、浮体の周囲が海に囲まれていることの利点を原子炉の冷却に生かすことができない。
【0006】
そこで、本願は、浮体の利点を原子炉の冷却に生かすことが可能な浮体式原子力発電システムを開示する。
【課題を解決するための手段】
【0007】
上記課題を解決するため、本発明では、非常時に原子炉がある圧力容器内または格納容器内で発生した蒸気を凝縮させて復水に戻すための貯蔵水を蓄える貯水部を、少なくとも底部が浮体の喫水線より低くなるように設定し、且つ、浮体周辺の水を直接的または間接的に流入させるための連通弁を設けることにした。
【0008】
詳細には、本発明は、原子炉と、原子炉の熱によって発生した蒸気で駆動するタービン発電機と、原子炉とタービン発電機が配置されており、海上に係留される浮体と、非常時に原子炉がある圧力容器内または格納容器内で発生した蒸気を貯蔵水の冷熱で凝縮させ、復水として圧力容器内または格納容器内へ戻す復水器と、貯蔵水を蓄える貯水部と、を備え、貯水部は、少なくとも底部が浮体の喫水線より低く設定されており、且つ、浮体周辺の水を直接的または間接的に流入させるための連通弁が設けられている、浮体式原子力発電システムである。
【0009】
上記の浮体式原子力発電システムであれば、非常時に原子炉がある圧力容器内または格納容器内で発生した蒸気を凝縮させて復水に戻すための貯蔵水を蓄える貯水部の底部が、浮体の喫水線より低くなるように設定されており、且つ、浮体周辺の水を直接的または間
接的に流入させるための連通弁が設けられているため、貯水部の貯蔵水が減少しても、連通弁を開くだけで浮体周辺の水を直接的または間接的に貯水部へ流入させることが可能である。よって、このような浮体式原子力発電システムであれば、浮体の利点を原子炉の冷却に生かすことが可能であると言える。
【0010】
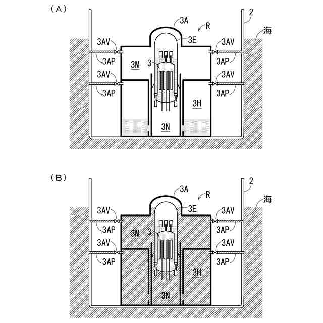
なお、浮体は、二重船殻構造によって浮体の側面部分に形成される側面バラストタンクを少なくとも有しており、貯水部は、連通弁として、貯水部内と側面バラストタンクとを連通する第1連通弁を有するものであってもよい。これによれば、貯水部の貯蔵水が減少した場合に、第1連通弁を開くだけで側面バラストタンク内のバラスト水を貯水部へ流入させることが可能である。よって、このような浮体式原子力発電システムであれば、浮体の利点を原子炉の冷却に生かすことが可能であると言える。
(【0011】以降は省略されています)
この特許をJ-PlatPat(特許庁公式サイト)で参照する
関連特許
個人
常温核融合装置
6か月前
個人
常温核融合装置
6か月前
個人
常温核融合装置
6か月前
個人
原子力プラント
6日前
個人
超音波振動子の利用
6日前
個人
トリチウムの除去装置
6か月前
個人
廃炉方法及び固化材
21日前
個人
元素変換用固体核融合工程
4か月前
個人
安山岩を利用した放射線消去装置
5か月前
個人
安山岩を利用した放射線消去装置
3か月前
パテントフレア株式会社
核融合反応促進法
5か月前
個人
コンクリート船に乗せた、原子力発電
7か月前
パテントフレア株式会社
核融合反応促進法
6か月前
個人
はんれい岩を利用した放射線消去装置
3か月前
個人
金属製軽水炉使用済核燃料増殖原子炉
6か月前
個人
装置、加速器、減速器、核変換システム
6か月前
合同会社日本レプトン
電子発生ペースト
25日前
株式会社エー・アンド・デイ
X線検査装置
5か月前
株式会社エー・アンド・デイ
X線検査装置
5か月前
個人
ホウ素を用いるミューオン触媒核融合システム
6か月前
個人
核変換システム、加工装置、除去装置、切除装置
5か月前
栗田工業株式会社
放射性廃液の処理方法
21日前
PDRファーマ株式会社
遮蔽容器
5か月前
個人
過剰熱発生方法
7か月前
国立大学法人大阪大学
原子力発電装置
5か月前
住友重機械工業株式会社
搬送システム
3か月前
株式会社シェルタージャパン
放射線遮蔽構造
7か月前
浜松ホトニクス株式会社
電子線照射装置
6か月前
合同会社日本レプトン
電子発生器具及びその製造方法
25日前
合同会社日本レプトン
電子発生器具及びその製造方法
25日前
浜松ホトニクス株式会社
電子線照射装置
6か月前
個人
共振励起型固体核融合装置と元素変換用固体核融合工程
3か月前
日揮株式会社
放射性廃棄物の固化処理方法
6か月前
株式会社アキュサイト
放射性物質の処理装置および方法
6か月前
個人
過剰熱起電力発生方法
4か月前
三菱重工業株式会社
加圧容器
1か月前
続きを見る
他の特許を見る