TOP
|
特許
|
意匠
|
商標
特許ウォッチ
Twitter
他の特許を見る
10個以上の画像は省略されています。
公開番号
2025134635
公報種別
公開特許公報(A)
公開日
2025-09-17
出願番号
2025015186,2024232466
出願日
2025-01-31,2024-12-27
発明の名称
香りの持続性向上方法、入浴剤
出願人
アース製薬株式会社
代理人
弁理士法人栄光事務所
主分類
A61K
8/02 20060101AFI20250909BHJP(医学または獣医学;衛生学)
要約
【課題】香り立ちが良好で、かつ香りの持続性を高めた発泡性圧縮成形物を提供すること、および、発泡性圧縮成形物の香りの持続性を向上させる方法を提供すること。
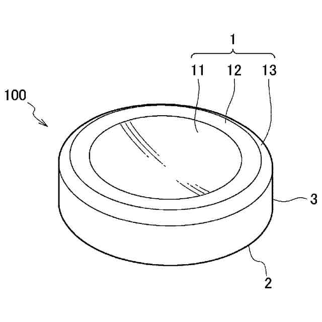
【解決手段】凹部を有し、香料を含有する発泡性圧縮成形物からなる入浴剤であって、前記凹部の体積と前記発泡性圧縮成形物の体積との体積比〔凹部の体積/発泡性圧縮成形物の体積〕が0.03以上であり、前記入浴剤を水中に沈めた際に、発生したガスを前記凹部内に一時的に留め、直径1cm以上の泡を水中に放出できる、入浴剤。
【選択図】図1
特許請求の範囲
【請求項1】
凹部を有し、香料を含有する発泡性圧縮成形物からなる入浴剤であって、
前記凹部の体積と前記発泡性圧縮成形物の体積との体積比〔凹部の体積/発泡性圧縮成形物の体積〕が0.03以上であり、
前記入浴剤を水中に沈めた際に、発生したガスを前記凹部内に一時的に留め、直径1cm以上の泡を水中に放出できる、入浴剤。
続きを表示(約 480 文字)
【請求項2】
前記凹部の体積が2000mm
3
以上である、請求項1に記載の入浴剤。
【請求項3】
前記体積比〔凹部の体積/発泡性圧縮成形物の体積〕が0.15以下である、請求項1または2に記載の入浴剤。
【請求項4】
有機酸を含み、
前記有機酸の含有量が10~65質量%である、請求項1または2に記載の入浴剤。
【請求項5】
炭酸塩を含み、
前記炭酸塩の含有量が20~90質量%である、請求項1または2に記載の入浴剤。
【請求項6】
香料を含有する発泡性圧縮成形物からなる入浴剤を用いて前記香料の香りの持続性を向上させる方法であって、
前記発泡性圧縮成形物は、凹部を有し、
前記凹部の体積と前記発泡性圧縮成形物の体積との体積比〔凹部の体積/発泡性圧縮成形物の体積〕が0.03以上であり、
前記入浴剤は、前記入浴剤を水中に沈めた際に、発生したガスを前記凹部内に一時的に留め、直径1cm以上の泡を水中に放出する、香りの持続性向上方法。
発明の詳細な説明
【技術分野】
【0001】
本発明は、香りの持続性向上方法、発泡性圧縮成形物、入浴剤に関する。
続きを表示(約 1,600 文字)
【背景技術】
【0002】
近年、浴湯に芳香や色調を与え入浴の気分を爽快にしたり、新陳代謝を活発にして冷え性などを改善、温浴効果を得る目的で、浴湯に入浴剤を入れることが一般に普及しており、バスソルト、タブレット、液剤など各種形態のものが販売されている。その中でも、炭酸塩と酸とを組み合わせた炭酸ガス発生物を配合した入浴剤は、浴湯中で炭酸ガスを発生し、浴湯に溶け込んだ炭酸ガスにより毛細血管を拡張し、新陳代謝を増進させるので、血行促進や疲労回復等の効果が期待されている。
【0003】
また、入浴剤として期待される重要な効果の1つとして、香りによるアロマテラピー効果があり、入浴中にこれらの効果を高めるために、香りを安定に維持することが重要になっている。そこで、特許文献1には、入浴剤の香り立ちを高める技術として、粒子径が小さく表面積の大きい顆粒状の入浴剤とすることが報告されている。
【先行技術文献】
【特許文献】
【0004】
特開2009-062319号公報
【発明の概要】
【発明が解決しようとする課題】
【0005】
これまで、炭酸塩と酸とを組み合わせた発泡性の入浴剤として、発生した炭酸ガスを浴湯に溶け込みやすくするため、浴湯中に沈むように、錠剤等の固形に圧縮した入浴剤が普及してきた。しかしながら、これらの入浴剤は浴湯中に沈むがゆえに、顆粒状の入浴剤よりも香り立ちが良好とはいえない。一方で、香り立ちをより良くするために固形圧縮型の入浴剤において香料を多く配合すると製剤の安定性が悪化するおそれがあった。
【0006】
また、固形圧縮型入浴剤は、溶解直後は香りを感じやすいが香りが持続しないことが課題であった。特に、浴湯に溶解させた使用者は香りを感じやすいが、その後続いて入浴する人は香りを感じにくかった。
【0007】
そこで本発明は、香り立ちが良好で、かつ香りの持続性を高めた発泡性圧縮成形物を提供すること、および、発泡性圧縮成形物の香りの持続性を向上させる方法を提供することを目的とする。なお、本発明では香り立ちとは、発泡性圧縮成形物を水等に溶解した直後に、香りが拡散し、香りを感じることを意味する。
【課題を解決するための手段】
【0008】
本発明は以下の通りである。
(1)凹部を有し、香料を含有する発泡性圧縮成形物からなる入浴剤であって、
前記凹部の体積と前記発泡性圧縮成形物の体積との体積比〔凹部の体積/発泡性圧縮成形物の体積〕が0.03以上であり、
前記入浴剤を水中に沈めた際に、発生したガスを前記凹部内に一時的に留め、直径1cm以上の泡を水中に放出できる、入浴剤。
【0009】
(2)前記凹部の体積が2000mm
3
以上である、(1)に記載の入浴剤。
(3)前記体積比〔凹部の体積/発泡性圧縮成形物の体積〕が0.15以下である、(1)または(2)に記載の入浴剤。
(4)有機酸を含み、
前記有機酸の含有量が10~65質量%である、(1)~(3)のいずれかに記載の入浴剤。
(5)炭酸塩を含み、
前記炭酸塩の含有量が20~90質量%である、(1)~(4)のいずれかに記載の入浴剤。
【0010】
(6)香料を含有する発泡性圧縮成形物からなる入浴剤を用いて前記香料の香りの持続性を向上させる方法であって、
前記発泡性圧縮成形物は、凹部を有し、
前記凹部の体積と前記発泡性圧縮成形物の体積との体積比〔凹部の体積/発泡性圧縮成形物の体積〕が0.03以上であり、
前記入浴剤は、前記入浴剤を水中に沈めた際に、発生したガスを前記凹部内に一時的に留め、直径1cm以上の泡を水中に放出する、香りの持続性向上方法。
【発明の効果】
(【0011】以降は省略されています)
この特許をJ-PlatPat(特許庁公式サイト)で参照する
関連特許
アース製薬株式会社
燻煙装置
19日前
アース製薬株式会社
燻煙装置
5日前
アース製薬株式会社
発泡性成形物および香料の香りを持続させる方法
19日前
アース製薬株式会社
香りの持続性向上方法、発泡性圧縮成形物、入浴剤
19日前
アース製薬株式会社
発泡性圧縮成形物および香料の香りを持続させる方法
19日前
アース製薬株式会社
口腔用組成物、及び口腔内のタンパク質を可視化する方法
1か月前
アース製薬株式会社
香りの持続性向上方法、入浴剤
19日前
アース製薬株式会社
発泡性圧縮成形物および香料の香りを持続させる方法
19日前
個人
健康器具
7か月前
個人
短下肢装具
2か月前
個人
鼾防止用具
7か月前
個人
歯茎みが品
8か月前
個人
マッサージ機
8か月前
個人
洗井間専家。
6か月前
個人
導電香
8か月前
個人
白内障治療法
6か月前
個人
嚥下鍛錬装置
3か月前
個人
前腕誘導装置
2か月前
個人
脈波測定方法
7か月前
個人
脈波測定方法
7か月前
個人
矯正椅子
4か月前
個人
胸骨圧迫補助具
1か月前
個人
片足歩行支援具
8か月前
個人
ホバーアイロン
6か月前
個人
歯の修復用材料
3か月前
個人
アイマスク装置
1か月前
個人
バッグ式オムツ
3か月前
個人
クリップ
8か月前
個人
汚れ防止シート
7日前
個人
哺乳瓶冷まし容器
2か月前
個人
シャンプー
5か月前
個人
口内洗浄具
7か月前
個人
歯の保護用シール
4か月前
三生医薬株式会社
錠剤
6か月前
個人
車椅子持ち上げ器
6か月前
個人
湿布連続貼り機。
1か月前
続きを見る
他の特許を見る