TOP
|
特許
|
意匠
|
商標
特許ウォッチ
Twitter
他の特許を見る
公開番号
2025136800
公報種別
公開特許公報(A)
公開日
2025-09-19
出願番号
2024035655
出願日
2024-03-08
発明の名称
重荷重タイヤ用ゴム組成物、及び、重荷重タイヤ
出願人
横浜ゴム株式会社
代理人
個人
,
個人
,
個人
,
個人
主分類
C08L
9/00 20060101AFI20250911BHJP(有機高分子化合物;その製造または化学的加工;それに基づく組成物)
要約
【課題】優れた雪上性能、低燃費性能、耐チッピング性能及び耐摩耗性能を示す重荷重タイヤ用ゴム組成物、重荷重タイヤを提供する。
【解決手段】ゴム成分と充填剤とを含有し、ゴム成分がイソプレン系ゴムと変性共役ジエン系ゴムとを含み、イソプレン系ゴムの割合が50質量%以上であり、変性共役ジエン系ゴムが、式(1)を満たし、且つ、窒素原子、ケイ素原子及びそれに隣接する酸素原子を含む変性基を有し、充填剤がN
2
SA70m
2
/g以上のカーボンブラックとシリカとを含み、シリカの割合が10~70質量%であり、ゴム成分100質量部に対する充填剤の含有量が80質量部以下である、重荷重タイヤ用ゴム組成物。
IVw
10%
≦3.1×10
-6
×Mw
10%
-2.77 (1)
示差屈折率検出器による高分子量側10%の重量平均分子量をMw
10%
、粘度検出器による高分子量側10%の重量平均固有粘度をIVw
10%
とする。
【選択図】図2
特許請求の範囲
【請求項1】
ゴム成分と充填剤とを含有し、
前記ゴム成分が、イソプレン系ゴムと、変性共役ジエン系ゴムとを含み、
前記変性共役ジエン系ゴムが、下記式(1)を満たし、且つ、窒素原子、ケイ素原子及びそれに隣接する酸素原子を含む変性基を有する、共役ジエン系ゴムであり、
前記ゴム成分中の前記イソプレン系ゴムの割合が、50質量%以上であり、
前記充填剤が、窒素吸着比表面積が70m
2
/g以上のカーボンブラックと、シリカとを含み、
前記充填剤中の前記シリカの割合が、10~70質量%であり、
前記ゴム成分100質量部に対する前記充填剤の含有量が、80質量部以下である、重荷重タイヤ用ゴム組成物。
IVw
10%
≦3.1×10
-6
×Mw
10%
-2.77 (1)
式(1)中のMw
10%
及びIVw
10%
については以下のとおりである。
変性共役ジエン系ゴムについて示差屈折率検出器及び粘度検出器を検出器とするゲルパーミエーションクロマトグラフィー測定を行う。示差屈折率検出器によるクロマトグラムのピークのうち、ピーク全体の面積の10%の面積となる高分子量側の部分を用いて求められた重量平均分子量をMw
10%
とする。ただし、Mw
10%
は200×10
4
以上である。また、粘度検出器によるクロマトグラムのピークのうち、ピーク全体の面積の10%の面積となる高分子量側の部分を用いて求められた重量平均固有粘度をIVw
10%
とする。ただし、重量平均固有粘度の単位はdL/gである。
続きを表示(約 210 文字)
【請求項2】
前記変性共役ジエン系ゴムのガラス転移温度が、-51℃以下である、請求項1に記載の重荷重タイヤ用ゴム組成物。
【請求項3】
前記ゴム成分100質量部に対する、オイルと樹脂と可塑剤との合計の含有量が、10質量部以下である、請求項1に記載の重荷重タイヤ用ゴム組成物。
【請求項4】
請求項1~3のいずれか1項に記載の重荷重タイヤ用ゴム組成物を用いて製造された、重荷重タイヤ。
発明の詳細な説明
【技術分野】
【0001】
本発明は、重荷重タイヤ用ゴム組成物、及び、重荷重タイヤに関する。
続きを表示(約 1,900 文字)
【背景技術】
【0002】
従来、性能向上の観点からカーボンブラックやシリカを配合したタイヤ用ゴム組成物が知られている(例えば、特許文献1)。
【先行技術文献】
【特許文献】
【0003】
特開2014-28902号公報
【発明の概要】
【発明が解決しようとする課題】
【0004】
昨今、安全性等の観点から、タイヤ(特に、トラックやバス等に使用される重荷重タイヤ)に対して、雪上性能、耐チッピング性能、耐摩耗性能等の性能のさらなる向上が求められている。また、環境問題等の観点から、低燃費性能のさらなる向上も求められている。
このようななか、本発明者が特許文献1等に記載のタイヤ用ゴム組成物について検討したところ、今後高まるであろう要求を考慮すると、さらなる改善が望ましいことが明らかになった。
【0005】
そこで、本発明は、上記実情を鑑みて、タイヤにしたときに優れた雪上性能、低燃費性能、耐チッピング性能及び耐摩耗性能を示す重荷重タイヤ用ゴム組成物、並びに、上記重荷重タイヤ用ゴム組成物を用いて製造された重荷重タイヤを提供することを目的とする。
【課題を解決するための手段】
【0006】
本発明者は、上記課題について鋭意検討した結果、ゴム成分としてイソプレン系ゴムと特定の変性共役ジエン系ゴムと特定の充填剤とを使用するとともに、幾つかの成分について含有量を最適化することで、上記課題が解決できることを見出し、本発明に至った。
すなわち、本発明者は、以下の構成により上記課題が解決できることを見出した。
【0007】
(1) ゴム成分と充填剤とを含有し、
上記ゴム成分が、イソプレン系ゴムと、変性共役ジエン系ゴムとを含み、
上記変性共役ジエン系ゴムが、後述する式(1)を満たし、且つ、窒素原子、ケイ素原子及びそれに隣接する酸素原子を含む変性基を有する、共役ジエン系ゴムであり、
上記ゴム成分中の上記イソプレン系ゴムの割合が、50質量%以上であり、
上記充填剤が、窒素吸着比表面積が70m
2
/g以上のカーボンブラックと、シリカとを含み、
上記充填剤中の上記シリカの割合が、10~70質量%であり、
上記ゴム成分100質量部に対する上記充填剤の含有量が、80質量部以下である、重荷重タイヤ用ゴム組成物。
(2) 上記変性共役ジエン系ゴムのガラス転移温度が、-51℃以下である、上記(1)に記載の重荷重タイヤ用ゴム組成物。
(3) 上記ゴム成分100質量部に対する、オイルと樹脂と可塑剤との合計の含有量が、10質量部以下である、上記(1)又は(2)に記載の重荷重タイヤ用ゴム組成物。
(4) 上記(1)~(3)のいずれかに記載の重荷重タイヤ用ゴム組成物を用いて製造された、重荷重タイヤ。
【発明の効果】
【0008】
以下に示すように、本発明によれば、タイヤにしたときに優れた雪上性能、低燃費性能、耐チッピング性能及び耐摩耗性能を示す重荷重タイヤ用ゴム組成物、並びに、上記重荷重タイヤ用ゴム組成物を用いて製造された重荷重タイヤを提供することができる。
【図面の簡単な説明】
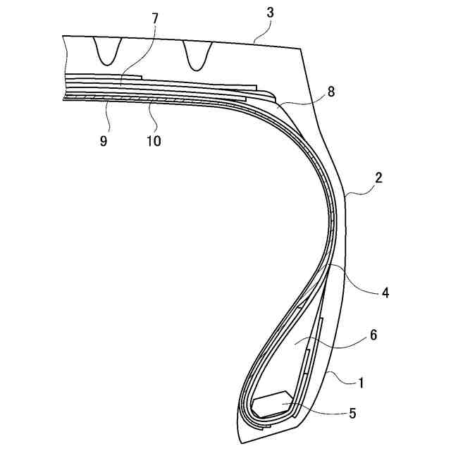
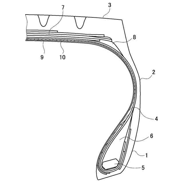
【0009】
GPCのクロマトグラムの一例である。
本発明のタイヤの実施態様の一例を表す部分断面概略図である。
【発明を実施するための形態】
【0010】
以下に、本発明の重荷重タイヤ用ゴム組成物等について説明する。
なお、本明細書において「~」を用いて表される数値範囲は、「~」の前後に記載される数値を下限値及び上限値として含む範囲を意味する。
また、各成分は、1種を単独でも用いても、2種以上を併用してもよい。ここで、各成分について2種以上を併用する場合、その成分について含有量とは、特段の断りが無い限り、合計の含有量を指す。
また、重荷重タイヤ用ゴム組成物について、タイヤにしたときの、雪上性能、低燃費性能、耐チッピング性能、耐摩耗性能を、それぞれ単に「雪上性能」、「低燃費性能」、「耐チッピング性能」、「耐摩耗性能」とも言う。
また、雪上性能、低燃費性能、耐チッピング性能、耐摩耗性能が優れることを、「本発明の効果が優れる」とも言う。
また、本明細書において、10のべき乗をEで表すことがある。例えば、E+5は10の5乗を表す。
(【0011】以降は省略されています)
この特許をJ-PlatPat(特許庁公式サイト)で参照する
関連特許
横浜ゴム株式会社
タイヤ
今日
横浜ゴム株式会社
タイヤ
13日前
横浜ゴム株式会社
タイヤ
24日前
横浜ゴム株式会社
タイヤ
24日前
横浜ゴム株式会社
タイヤ
24日前
横浜ゴム株式会社
タイヤ
24日前
横浜ゴム株式会社
タイヤ
今日
横浜ゴム株式会社
タイヤ
20日前
横浜ゴム株式会社
タイヤ
20日前
横浜ゴム株式会社
タイヤ
14日前
横浜ゴム株式会社
タイヤ
14日前
横浜ゴム株式会社
タイヤ
1か月前
横浜ゴム株式会社
タイヤ
13日前
横浜ゴム株式会社
タイヤ
8日前
横浜ゴム株式会社
重荷重タイヤ
20日前
横浜ゴム株式会社
空気入りタイヤ
今日
横浜ゴム株式会社
空気入りタイヤ
24日前
横浜ゴム株式会社
空気入りタイヤ
21日前
横浜ゴム株式会社
タイヤの製造方法
13日前
横浜ゴム株式会社
熱可塑性樹脂組成物
13日前
横浜ゴム株式会社
積層体、およびその製造方法
14日前
横浜ゴム株式会社
更生タイヤ及びその製造方法
24日前
横浜ゴム株式会社
化学計算モデル分子の作成方法
28日前
横浜ゴム株式会社
架橋ゴム分子鎖の配向評価方法
15日前
横浜ゴム株式会社
ホース用ゴム組成物及びホース
8日前
横浜ゴム株式会社
センサユニットを備えるタイヤ
20日前
横浜ゴム株式会社
センサユニットを備えるタイヤ
20日前
横浜ゴム株式会社
センサユニットを備えるタイヤ
20日前
横浜ゴム株式会社
タイヤ用ゴム組成物およびタイヤ
20日前
横浜ゴム株式会社
ゴム組成物、及び、コンベヤベルト
13日前
横浜ゴム株式会社
金属製品、および金属製品の製造方法
27日前
横浜ゴム株式会社
機能部品組立体及びそれを備えたタイヤ
今日
横浜ゴム株式会社
混練ゴムの製造方法および製造システム
今日
横浜ゴム株式会社
未加硫ゴムシートの供給装置および方法
9日前
横浜ゴム株式会社
熱可塑性樹脂組成物のフィルムの成形方法
24日前
横浜ゴム株式会社
タイヤの成形装置およびタイヤの製造方法
15日前
続きを見る
他の特許を見る