TOP
|
特許
|
意匠
|
商標
特許ウォッチ
Twitter
他の特許を見る
10個以上の画像は省略されています。
公開番号
2025146513
公報種別
公開特許公報(A)
公開日
2025-10-03
出願番号
2024047338
出願日
2024-03-22
発明の名称
タイヤ
出願人
横浜ゴム株式会社
代理人
弁理士法人酒井国際特許事務所
主分類
B60C
19/08 20060101AFI20250926BHJP(車両一般)
要約
【課題】電気抵抗低減の性能を長期的に維持する。
【解決手段】タイヤは、一対のビード部と、前記一対のビード部の間に架け渡されるカーカス層と、前記カーカス層のタイヤ径方向外側に設けられるベルト層と、前記ベルト層の径方向外側に設けられるトレッド部と、を含み、前記カーカス層は、複数のカーカスコードと、前記複数のカーカスコードを覆うコートゴムと、導電線状体と、を含み、前記一対のビード部は、一対のビードコアと、前記一対のビードコアそれぞれの周りに設けられ、リムへの装着状態において、前記リムと接触するゴム部と、を有し、前記導電線状体の延在長さの少なくとも20[%]は、前記カーカス層の延在方向に垂直な方向の断面において、前記コートゴムに覆われている。
【選択図】図1
特許請求の範囲
【請求項1】
一対のビード部と、前記一対のビード部の間に架け渡されるカーカス層と、前記カーカス層のタイヤ径方向外側に設けられるベルト層と、前記ベルト層の径方向外側に設けられるトレッド部と、
を含み、
前記カーカス層は、
複数のカーカスコードと、前記複数のカーカスコードを覆うコートゴムと、導電線状体と、
を含み、
前記一対のビード部は、
一対のビードコアと、前記一対のビードコアそれぞれの周りに設けられ、リムへの装着状態において、前記リムと接触するゴム部と、
を有し、
前記導電線状体の延在長さの少なくとも20[%]は、前記カーカス層の延在方向に垂直な方向の断面において、前記コートゴムに覆われている
タイヤ。
続きを表示(約 1,000 文字)
【請求項2】
前記トレッド部に設けられるアースゴムをさらに含み、
タイヤ子午断面において前記アースゴムの一端は前記ベルト層に接触し、前記アースゴムの他端は前記トレッド部の踏面に露出している
請求項1に記載のタイヤ。
【請求項3】
前記カーカス層の体積抵抗率は、1×10^8[Ω・cm]以上であり、
前記ゴム部の体積抵抗率は、1×10^8[Ω・cm]未満であり、
前記導電線状体の体積抵抗率は、1×10^8[Ω・cm]未満である
請求項1または請求項2に記載のタイヤ。
【請求項4】
前記カーカス層の延在方向に垂直な方向の断面において、
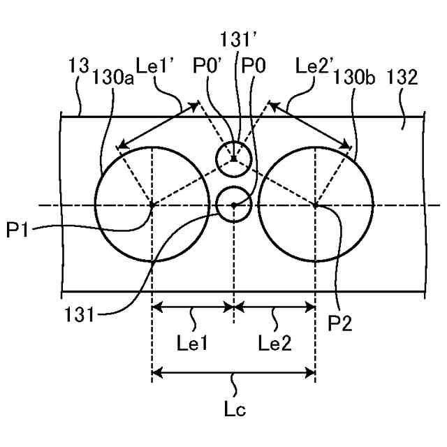
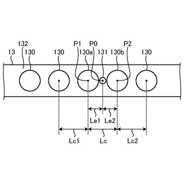
前記導電線状体の中心と前記導電線状体に隣接する第1カーカスコードの中心との距離Le1と、
前記導電線状体の中心と前記導電線状体に隣接する第2カーカスコードの中心との距離Le2と、
前記第1カーカスコードの中心と前記第2カーカスコードの中心との距離Lcとの関係が、
1.0≦(Le1+Le2)/Lc≦1.6
である
請求項1または請求項2に記載のタイヤ。
【請求項5】
前記第1カーカスコードと前記第2カーカスコードとの中心間の距離Lcに対する、他の2つのカーカスコードの中心間同士の距離Lc’の比Lc’/Lcが
0.95≦Lc’/Lc≦1.05
である
請求項4に記載のタイヤ。
【請求項6】
前記カーカスコードの繊度Tcに対する、前記導電線状体の繊度Teが、
0.0050≦Te/Tc<1
である
請求項1または請求項2に記載のタイヤ。
【請求項7】
前記導電線状体は、前記カーカス層のスプライス部内に含まれる
請求項1または請求項2に記載のタイヤ。
【請求項8】
前記導電線状体の伸び率は1.0[%]以上70.0[%]以下である
請求項1または請求項2に記載のタイヤ。
【請求項9】
前記導電線状体は金属繊維を含む
請求項1または請求項2に記載のタイヤ。
【請求項10】
前記導電線状体は、体積抵抗が10^8[Ω・cm]未満の導電性繊維と、10^8[Ω・cm]以上の非導電性繊維と、を含む混紡糸である
請求項1または請求項2に記載のタイヤ。
(【請求項11】以降は省略されています)
発明の詳細な説明
【技術分野】
【0001】
本開示は、タイヤに関する。
続きを表示(約 1,900 文字)
【背景技術】
【0002】
タイヤの低燃費性能を向上させるために、キャップトレッド、アンダートレッド、サイドウォールゴムなどを構成するゴムコンパウンドのシリカ含有量を増加させることがある。シリカは絶縁特性が高いため、キャップトレッドのシリカ含有量が増加するとキャップトレッドの抵抗値が増加して、タイヤの帯電抑制性能が低下する。特許文献1に開示のタイヤにおいては、有機繊維の表面に金属の薄層、つまりメッキを施した導電繊維を、カーカスコードのコートゴム表面に露出させて設けている。
【先行技術文献】
【特許文献】
【0003】
特開2019-112047号公報
【発明の概要】
【発明が解決しようとする課題】
【0004】
しかしながら、メッキを施した導電繊維を用いたり、コートゴム表面に露出させて設けたりする場合、タイヤの変形に伴って薄膜が損傷する可能性がある。このため、電気抵抗低減の性能を長期的に維持することについて改善の余地がある。
【0005】
本開示は、上記に鑑みてなされたものであって、その目的は、電気抵抗低減の性能を長期的に維持できるタイヤを提供することである。
【課題を解決するための手段】
【0006】
上述した課題を解決し、目的を達成するために、本開示のある態様によるタイヤは、一対のビード部と、前記一対のビード部の間に架け渡されるカーカス層と、前記カーカス層のタイヤ径方向外側に設けられるベルト層と、前記ベルト層の径方向外側に設けられるトレッド部と、を含み、前記カーカス層は、複数のカーカスコードと、前記複数のカーカスコードを覆うコートゴムと、導電線状体と、を含み、前記一対のビード部は、一対のビードコアと、前記一対のビードコアそれぞれの周りに設けられ、リムへの装着状態において、前記リムと接触するゴム部と、を有し、前記導電線状体の延在長さの少なくとも20[%]は、前記カーカス層の延在方向に垂直な方向の断面において、前記コートゴムに覆われている。
【発明の効果】
【0007】
本開示にかかるタイヤは、電気抵抗低減の性能を長期的に維持できる。
【図面の簡単な説明】
【0008】
図1は、第1実施形態に係るタイヤのタイヤ子午線方向の断面図である。
図2は、カーカス層の延在方向に垂直な方向の断面の例を示す図である。
図3は、2つのカーカスコードと、それらの間に設けられている導電線状体との配置例を示す断面図である。
図4は、カーカス層のスプライス部の例を示す断面図である。
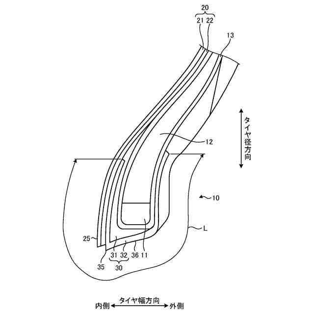
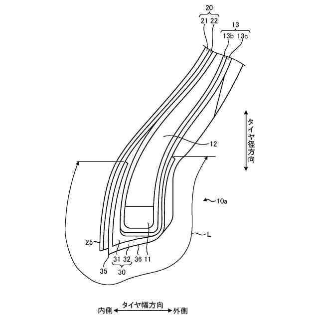
図5は、図1に示すタイヤのビード部を拡大して示す図である。
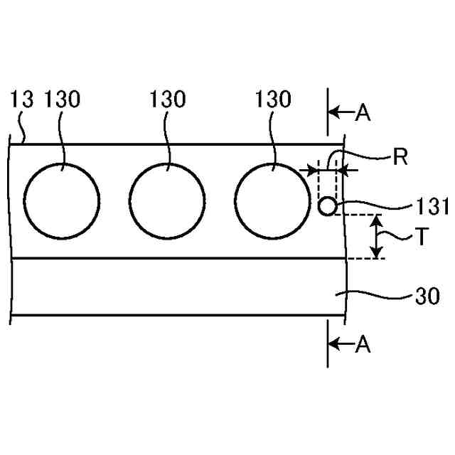
図6は、導電線状体の直径、導電線状体を含む箇所のカーカス層のコートゴムの厚さ、を説明する図である。
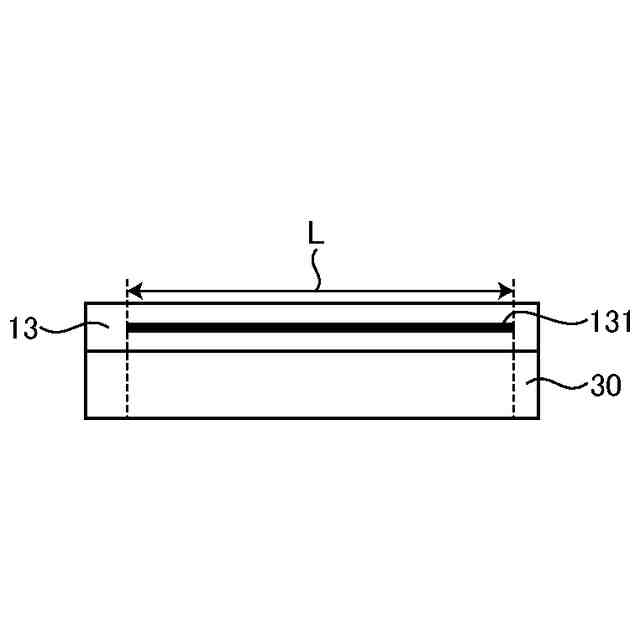
図7は、カーカス層の、ゴム部と接触する部分のペリフェリ長さ、を説明する図である。
図8は、本開示のタイヤの変形例である第2実施形態の要部を示す図である。
図9は、本開示のタイヤの他の変形例である第3実施形態の要部を示す図である。
図10Aは、本開示のタイヤの性能試験の結果を示す図表である。
図10Bは、本開示のタイヤの性能試験の結果を示す図表である。
図10Cは、本開示のタイヤの性能試験の結果を示す図表である。
【発明を実施するための形態】
【0009】
以下に、本発明の実施形態を図面に基づいて詳細に説明する。以下の各実施形態の説明において、他の実施形態と同一又は同等の構成部分については同一の符号を付し、その説明を簡略又は省略する。各実施形態により本発明が限定されるものではない。また、各実施形態の構成要素には、当業者が置換可能かつ容易なもの、あるいは実質的に同一のものが含まれる。なお、以下に記載した構成は適宜組み合わせることが可能である。また、発明の要旨を逸脱しない範囲で構成の省略、置換又は変更を行うことができる。
【0010】
(タイヤ)
図1は、第1実施形態に係るタイヤ1のタイヤ子午線方向の断面図である。図1は、タイヤ径方向の片側領域を示している。図1は、タイヤ1の一例として、乗用車用ラジアルタイヤを示している。本実施形態によるタイヤ1は、空気入りタイヤであることが好ましい。タイヤ1に充填する気体としては、通常の或いは酸素分圧を調整した空気の他、窒素、アルゴン、ヘリウム等の不活性ガスを用いることができる。
(【0011】以降は省略されています)
この特許をJ-PlatPat(特許庁公式サイト)で参照する
関連特許
横浜ゴム株式会社
タイヤ
今日
横浜ゴム株式会社
タイヤ
24日前
横浜ゴム株式会社
タイヤ
14日前
横浜ゴム株式会社
タイヤ
14日前
横浜ゴム株式会社
タイヤ
14日前
横浜ゴム株式会社
タイヤ
14日前
横浜ゴム株式会社
タイヤ
23日前
横浜ゴム株式会社
タイヤ
23日前
横浜ゴム株式会社
タイヤ
1か月前
横浜ゴム株式会社
タイヤ
24日前
横浜ゴム株式会社
タイヤ
25日前
横浜ゴム株式会社
タイヤ
2か月前
横浜ゴム株式会社
タイヤ
今日
横浜ゴム株式会社
音響窓
1か月前
横浜ゴム株式会社
タイヤ
1か月前
横浜ゴム株式会社
タイヤ
1か月前
横浜ゴム株式会社
タイヤ
1か月前
横浜ゴム株式会社
タイヤ
1か月前
横浜ゴム株式会社
タイヤ
1か月前
横浜ゴム株式会社
タイヤ
1か月前
横浜ゴム株式会社
タイヤ
1か月前
横浜ゴム株式会社
タイヤ
2か月前
横浜ゴム株式会社
タイヤ
14日前
横浜ゴム株式会社
タイヤ
2か月前
横浜ゴム株式会社
タイヤ
4日前
横浜ゴム株式会社
タイヤ
2か月前
横浜ゴム株式会社
タイヤ
2か月前
横浜ゴム株式会社
タイヤ
1か月前
横浜ゴム株式会社
タイヤ
2か月前
横浜ゴム株式会社
タイヤ
4日前
横浜ゴム株式会社
タイヤ
2か月前
横浜ゴム株式会社
タイヤ
4日前
横浜ゴム株式会社
タイヤ
2か月前
横浜ゴム株式会社
タイヤ
4日前
横浜ゴム株式会社
重荷重タイヤ
今日
横浜ゴム株式会社
空気入りタイヤ
1か月前
続きを見る
他の特許を見る