TOP
|
特許
|
意匠
|
商標
特許ウォッチ
Twitter
他の特許を見る
公開番号
2025140588
公報種別
公開特許公報(A)
公開日
2025-09-29
出願番号
2024040085
出願日
2024-03-14
発明の名称
空気入りタイヤ
出願人
横浜ゴム株式会社
代理人
清流国際弁理士法人
,
個人
,
個人
主分類
B60C
19/00 20060101AFI20250919BHJP(車両一般)
要約
【課題】トランスポンダの損傷を防止しながら、タイヤの耐久性を改善することを可能にした空気入りタイヤを提供する。
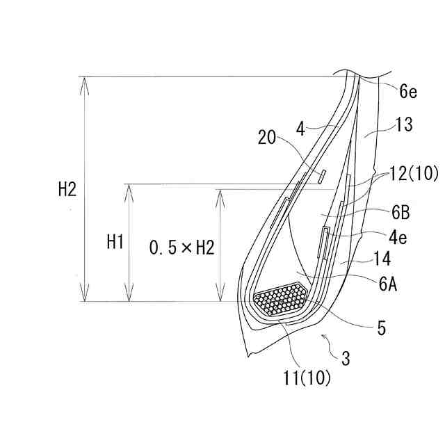
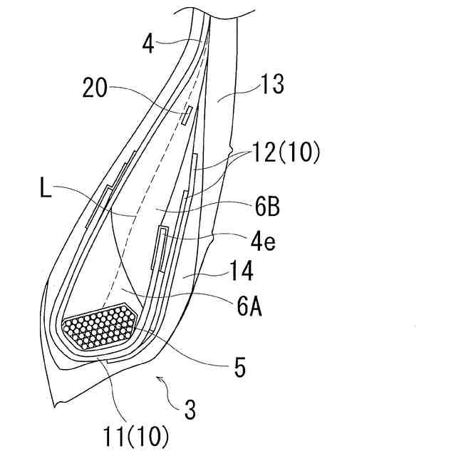
【解決手段】タイヤ周方向に延在して環状をなすトレッド部1と、トレッド部1の両側に配置された一対のサイドウォール部2と、これらサイドウォール部2のタイヤ径方向内側に配置された一対のビード部3とを備え、各ビード部3のビードコア5の外周上にビードフィラー6が配置され、一対のビード部3間にカーカス層4が装架され、カーカス層4がビードコア5の廻りにタイヤ内側から外側へ巻き上げられた構造を有する空気入りタイヤにおいて、ビードフィラー6の内部にトランスポンダ20の少なくとも一部が埋設されている。
【選択図】図1
特許請求の範囲
【請求項1】
タイヤ周方向に延在して環状をなすトレッド部と、このトレッド部の両側に配置された一対のサイドウォール部と、これらサイドウォール部のタイヤ径方向内側に配置された一対のビード部とを備え、各ビード部のビードコアの外周上にビードフィラーが配置され、前記一対のビード部間にカーカス層が装架され、このカーカス層が前記ビードコアの廻りにタイヤ内側から外側へ巻き上げられた構造を有する空気入りタイヤにおいて、前記ビードフィラーの内部にトランスポンダの少なくとも一部が埋設されていることを特徴とする空気入りタイヤ。
続きを表示(約 950 文字)
【請求項2】
前記トランスポンダの全体が前記ビードフィラーの内部に配置されていることを特徴とする請求項1に記載の空気入りタイヤ。
【請求項3】
前記ビードフィラーが、前記ビードコアのタイヤ径方向外側に隣接して配置された第1のビードフィラーと、この第1のビードフィラーのタイヤ径方向外側に隣接して配置された第2のビードフィラーから構成され、前記トランスポンダが前記第2のビードフィラーの内部に配置されていることを特徴とする請求項1又は2に記載の空気入りタイヤ。
【請求項4】
前記第2のビードフィラーの硬度が前記第1のビードフィラーの硬度よりも低く、かつ55~65の範囲にあることを特徴とする請求項3に記載の空気入りタイヤ。
【請求項5】
前記カーカス層を構成するカーカスコードが金属コードであることを特徴とする請求項1又は2に記載の空気入りタイヤ。
【請求項6】
前記トランスポンダが前記カーカス層の巻き上げ端部よりタイヤ径方向外側に配置されていることを特徴とする請求項1又は2に記載の空気入りタイヤ。
【請求項7】
前記トランスポンダが前記ビードコアの中心からタイヤ径方向外側に25mm以上離間して配置されており、前記ビードコアの中心から前記第2のビードフィラーのタイヤ径方向外側の端部までの高さに対する前記ビードコアの中心から前記トランスポンダまでの高さの比率が50%以上であることを特徴とする請求項3に記載の空気入りタイヤ。
【請求項8】
前記ビードフィラーのタイヤ幅方向外側に補強層が配置されており、前記トランスポンダが前記補強層のタイヤ径方向外側の端部よりタイヤ径方向外側に配置されていることを特徴とする請求項1又は2に記載の空気入りタイヤ。
【請求項9】
前記トランスポンダが前記ビードフィラーのタイヤ幅方向の中心線よりタイヤ幅方向外側に配置されていることを特徴とする請求項1又は2に記載の空気入りタイヤ。
【請求項10】
前記トランスポンダが前記ビードフィラーのスプライス部に配置されていることを特徴とする請求項1又は2に記載の空気入りタイヤ。
発明の詳細な説明
【技術分野】
【0001】
本発明は、トランスポンダが埋設された空気入りタイヤに関し、更に詳しくは、トランスポンダの損傷を防止しながら、タイヤの耐久性を改善することを可能にした空気入りタイヤに関する。
続きを表示(約 1,500 文字)
【背景技術】
【0002】
空気入りタイヤにおいて、RFIDタグ(トランスポンダ)をタイヤ内に埋設することが提案されている(例えば、特許文献1参照)。しかしながら、トランスポンダをタイヤ内に埋設する位置によっては、トランスポンダが破損する、或いはタイヤの耐久性が悪化するという問題がある。
【先行技術文献】
【特許文献】
【0003】
特開平7-137510号公報
【発明の概要】
【発明が解決しようとする課題】
【0004】
本発明の目的は、トランスポンダの損傷を防止しながら、タイヤの耐久性を改善することを可能にした空気入りタイヤを提供することにある。
【課題を解決するための手段】
【0005】
上記目的を達成するための本発明の空気入りタイヤは、タイヤ周方向に延在して環状をなすトレッド部と、このトレッド部の両側に配置された一対のサイドウォール部と、これらサイドウォール部のタイヤ径方向内側に配置された一対のビード部とを備え、各ビード部のビードコアの外周上にビードフィラーが配置され、前記一対のビード部間にカーカス層が装架され、このカーカス層が前記ビードコアの廻りにタイヤ内側から外側へ巻き上げられた構造を有する空気入りタイヤにおいて、前記ビードフィラーの内部にトランスポンダの少なくとも一部が埋設されていることを特徴とするものである。
【発明の効果】
【0006】
本発明では、ビードフィラーの内部にトランスポンダの少なくとも一部が埋設されている。ビードフィラーは、タイヤに負荷が掛かった場合でも変形が少ない部材であるため、このようなビードフィラーの内部にトランスポンダの少なくとも一部が配置されていることで、トランスポンダの損傷を防止することができる。トランスポンダの損傷を防止することにより、トランスポンダの埋設箇所でのタイヤ内部の損傷を回避できるため、タイヤの耐久性を改善することができる。
【0007】
本発明の空気入りタイヤにおいて、トランスポンダの全体がビードフィラーの内部に配置されていることが好ましい。これにより、トランスポンダの損傷をより効果的に防止することができるので、タイヤの耐久性に対する改善効果を十分に得ることができる。
【0008】
ビードフィラーは、ビードコアのタイヤ径方向外側に隣接して配置された第1のビードフィラーと、この第1のビードフィラーのタイヤ径方向外側に隣接して配置された第2のビードフィラーから構成され、トランスポンダは第2のビードフィラーの内部に配置されていることが好ましい。これにより、トランスポンダを第1のビードフィラーに配置した場合よりもサイドウォール部の外表面に近づくので、トランスポンダの通信性を効果的に改善することができる。
【0009】
第2のビードフィラーの硬度は第1のビードフィラーの硬度よりも低く、かつ55~65の範囲にあることが好ましい。トランスポンダが埋設されている第2のビードフィラーが相対的に軟らかいゴムであることにより、第2のビードフィラーが衝撃を吸収し、トランスポンダに衝撃が伝わりにくくなる。これにより、トランスポンダの損傷をより効果的に防止でき、タイヤの耐久性に対する改善効果を十分に得ることができる。
【0010】
カーカス層を構成するカーカスコードは金属コードであることが好ましい。トラックやバス向けの重荷重用タイヤとして使用する場合に好適であり、タイヤの耐久性を効果的に改善することができる。
(【0011】以降は省略されています)
この特許をJ-PlatPat(特許庁公式サイト)で参照する
関連特許
横浜ゴム株式会社
タイヤ
1か月前
横浜ゴム株式会社
タイヤ
20日前
横浜ゴム株式会社
タイヤ
1か月前
横浜ゴム株式会社
タイヤ
20日前
横浜ゴム株式会社
タイヤ
1か月前
横浜ゴム株式会社
タイヤ
20日前
横浜ゴム株式会社
タイヤ
1か月前
横浜ゴム株式会社
タイヤ
1か月前
横浜ゴム株式会社
タイヤ
1か月前
横浜ゴム株式会社
タイヤ
4日前
横浜ゴム株式会社
タイヤ
1か月前
横浜ゴム株式会社
タイヤ
1か月前
横浜ゴム株式会社
タイヤ
1か月前
横浜ゴム株式会社
タイヤ
1か月前
横浜ゴム株式会社
タイヤ
16日前
横浜ゴム株式会社
タイヤ
16日前
横浜ゴム株式会社
タイヤ
1か月前
横浜ゴム株式会社
タイヤ
2か月前
横浜ゴム株式会社
タイヤ
1か月前
横浜ゴム株式会社
タイヤ
1か月前
横浜ゴム株式会社
タイヤ
1か月前
横浜ゴム株式会社
タイヤ
1か月前
横浜ゴム株式会社
タイヤ
9日前
横浜ゴム株式会社
タイヤ
9日前
横浜ゴム株式会社
タイヤ
10日前
横浜ゴム株式会社
タイヤ
1か月前
横浜ゴム株式会社
タイヤ
10日前
横浜ゴム株式会社
タイヤ
1か月前
横浜ゴム株式会社
タイヤ
1か月前
横浜ゴム株式会社
タイヤ
20日前
横浜ゴム株式会社
重荷重タイヤ
16日前
横浜ゴム株式会社
空気入りタイヤ
1か月前
横浜ゴム株式会社
空気入りタイヤ
1か月前
横浜ゴム株式会社
空気入りタイヤ
17日前
横浜ゴム株式会社
空気入りタイヤ
2か月前
横浜ゴム株式会社
空気入りタイヤ
20日前
続きを見る
他の特許を見る