TOP
|
特許
|
意匠
|
商標
特許ウォッチ
Twitter
他の特許を見る
公開番号
2025145426
公報種別
公開特許公報(A)
公開日
2025-10-03
出願番号
2024045602
出願日
2024-03-21
発明の名称
センサユニットを備えるタイヤ
出願人
横浜ゴム株式会社
代理人
個人
,
個人
,
個人
,
個人
,
個人
主分類
B60C
19/00 20060101AFI20250926BHJP(車両一般)
要約
【課題】複数の磁気センサ素子から出力される信号を用いてタイヤの撓みを決定することを前提に、外部接続端子による渦電流の影響を受けずにタイヤの撓みを高精度に決定することのできるセンサユニットを備えるタイヤを提供すること。
【解決手段】センサユニット(10)は、非磁性体であって非伸縮性の可撓性シート(16)と、可撓性シート上に形成された、1つの永久磁石(12)、少なくとも2つの磁気センサ素子(14a、14b)及び少なくとも1つの外部接続端子(18a~18b)と、を含み、凹状円内においてシート表面基準線の一方側と他方側のそれぞれの領域に、少なくとも1つの磁気センサ素子が配置されており、少なくとも1つの外部接続端子は、それぞれが接続される磁気センサ素子よりも、シート表面基準線から離れて配置されている。
【選択図】図1
特許請求の範囲
【請求項1】
タイヤの曲げ変形時に前記タイヤの撓みを決定するセンサユニットをタイヤ内腔面に備えるタイヤであって、
前記センサユニットは、非磁性体であって非伸縮性の可撓性シートと、前記可撓性シート上に形成された、1つの永久磁石、少なくとも2つの磁気センサ素子及び少なくとも1つの外部接続端子と、を含み、
前記少なくとも2つの磁気センサ素子のそれぞれから出力される信号を用いて演算することにより、前記タイヤの撓みが決定され、
前記永久磁石の重心を中心とし、前記重心からタイヤ表面に下した垂線を含む直線に垂直な面に含まれ、かつ、この直線と前記磁気センサ素子との最長距離を半径とする円を前記タイヤ表面に投影した凹状円を決定し、
次いで前記凹状円の直径のうち曲率半径が最も大きな直径を含む線をシート表面基準線とした場合に、前記凹状円内において前記シート表面基準線の一方側と他方側のそれぞれの領域に、少なくとも1つの磁気センサ素子が配置されており、
前記少なくとも1つの外部接続端子は、それぞれが接続される前記磁気センサ素子よりも、前記シート表面基準線から離れて配置されていることを特徴とする、タイヤ。
続きを表示(約 1,200 文字)
【請求項2】
平面視で、前記磁気センサ素子と前記外部接続端子とを接続する電気配線は、前記シート表面基準線と交差しない、請求項1に記載のタイヤ。
【請求項3】
複数の前記外部接続端子が、前記シート表面基準線の少なくとも一方側において、前記長手方向の端部に整列されている、請求項1又は2に記載のタイヤ。
【請求項4】
前記可撓性シートの形状は、前記シート表面基準線と直交する方向に沿う長辺と、前記シート表面基準線の方向に沿う短辺と、を有する略長方形であり、前記シート表面基準線と直交する方向における最大寸法Lmaxと前記シート表面基準線の方向における最大寸法Wmaxとの比Lmax/Wmaxが3以上30以下であり、前記外部接続端子は少なくとも2つ配置され、前記外部接続端子は前記短辺に略平行に整列している、請求項1又は2に記載のタイヤ。
【請求項5】
前記可撓性シートについて、前記シート表面基準線の位置における幅Vと、前記シート表面基準線の方向における最大幅Vmaxとの比V/Vmaxが0.20以上0.95以下である、請求項1又は2に記載のタイヤ。
【請求項6】
平面視で、前記シート表面基準線に平行であって前記磁気センサ素子を前記シート表面基準線側に含むとともに前記磁気センサ素子の端部を通る2本の線をそれぞれシート表面外線とし、2本の前記シート表面外線の間に存在する前記可撓性シートの領域をセンシング領域とした場合に、
前記センシング領域の裏面の60%以上が、前記タイヤに接着されている、請求項1又は2に記載のタイヤ。
【請求項7】
前記可撓性シートを前記弾性体に配置していない状態において、前記可撓性シートから前記磁気センサ素子の最高点までの寸法Hcと、前記永久磁石と前記磁気センサ素子との間の距離d(mm)は、以下の関係を満たす、請求項1又は2に記載のセンサユニット。
Hc≦30-120{cos(d/50)―0.5)}
2
【請求項8】
タイヤ内腔面に前記センサユニットを配置した、前記タイヤの曲げ変形前の状態において、前記磁気センサ素子は、前記可撓性シートの前記凹状曲面のうち、
前記凹状曲面への前記永久磁石の配置高さの中心線上に配置され、或いは
前記中心線に対して前記永久磁石の配置面とは逆側に配置されている、
請求項1又は2に記載のタイヤ。
【請求項9】
前記可撓性シートはフレキシブル基板であり、
導電体からなる電気配線を備え、前記磁気センサ素子が前記電気配線に接続するように実装されている、請求項1又は2に記載のタイヤ。
【請求項10】
前記シート表面基準線がタイヤ周方向に沿って延在している、請求項1又は2に記載のタイヤ。
(【請求項11】以降は省略されています)
発明の詳細な説明
【技術分野】
【0001】
本発明は、撓みを高精度に決定することができるセンサユニットを備えるタイヤに関する。
続きを表示(約 3,800 文字)
【背景技術】
【0002】
従来、柔軟に変形可能な材料により略シート状に形成され、タイヤに設置される基材と、前記基材に設けられ、前記タイヤの歪(撓み)を検出するセンサと、を備えるタイヤセンサユニットが開示されている(例えば、特許文献1、図2)。特許文献1のタイヤセンサユニットによれば、センサが設けられた基材をタイヤに設置するという簡単な工程でタイヤセンサユニットをタイヤに設置することができるため、タイヤセンサユニットのタイヤへの設置を容易に行うことができ、タイヤの生産性を良好に保持できる、とされている。
【先行技術文献】
【特許文献】
【0003】
特開2006-64565号公報
【発明の概要】
【発明が解決しようとする課題】
【0004】
しかしながら、特許文献1のタイヤセンサユニットにおいては、センサが1つの磁石と1つの磁気センサ素子とから構成されている。このため、磁気センサ素子から出力される1つの信号によりタイヤの撓みを決定せねばならず、特にタイヤに多方向からの応力が加わった場合などの、タイヤが複雑な変形挙動を示す際には、タイヤの撓みを高精度に決定することができないおそれがある。
【0005】
また、物体の撓みを物体の特定領域近傍の磁束密度の変化によって決定するにあたり、測定した磁束密度に関する情報を撓みに関する情報に演算処理する電子回路を用いる場合には、この電子回路に接続される外部接続端子が渦電流(ノイズ)を発生させることがある。この渦電流の発生は、電子回路へ供給される電力や電子回路で処理した信号にノイズが混じることに繋がり、ひいては磁気センサ素子による撓みの決定に悪影響を及ぼすおそれがある。このため、近年では、物体の撓みをより高精度に決定すべく、上述のような渦電流の影響をなるべく受けないで物体の撓みを決定することが望まれている。
【0006】
本発明は、上記事情に鑑みてなされたものであって、その目的は、複数の磁気センサ素子から出力される信号を用いてタイヤの撓みを決定することを前提に、外部接続端子による渦電流の影響を受けずにタイヤの撓みを高精度に決定することのできるセンサユニットを備えるタイヤを提供することにある。
【課題を解決するための手段】
【0007】
本発明のタイヤは、タイヤの曲げ変形時に前記タイヤの撓みを決定するセンサユニットをタイヤ内腔面に備えるタイヤであって、
前記センサユニットは、非磁性体であって非伸縮性の可撓性シートと、前記可撓性シート上に形成された、1つの永久磁石、少なくとも2つの磁気センサ素子及び少なくとも1つの外部接続端子と、を含み、
前記少なくとも2つの磁気センサ素子のそれぞれから出力される信号を用いて演算することにより、前記タイヤの撓みが決定され、
前記永久磁石の重心を中心とし、前記重心からタイヤ表面に下した垂線を含む直線に垂直な面に含まれ、かつ、この直線と前記磁気センサ素子との最長距離を半径とする円を前記タイヤ表面に投影した凹状円を決定し、
次いで前記凹状円の直径のうち曲率半径が最も大きな直径を含む線をシート表面基準線とした場合に、前記凹状円内において前記シート表面基準線の一方側と他方側のそれぞれの領域に、少なくとも1つの磁気センサ素子が配置されており、
前記少なくとも1つの外部接続端子は、それぞれが接続される前記磁気センサ素子よりも、前記シート表面基準線から離れて配置されていることを特徴とする。
【発明の効果】
【0008】
本発明に係るタイヤでは、1つのセンサユニットの中に2つ以上の磁気センサ素子が含まれる。このため、各磁気センサ素子から出力される信号の値を時系列的に比較したり、複数の磁気センサ素子から出力される信号の値の差分を時系列的に比較したりすることができる他、複数の磁気センサ素子から出力される信号の値を組み合わせることで、タイヤが複雑な変形挙動を示す場合であっても、タイヤの撓みを高精度に決定することできる。
【0009】
また、本発明に係るタイヤでは、少なくとも1つの外部接続端子を、それぞれが接続される磁気センサ素子よりも、シート表面基準線から離して配置している。このため、永久磁石によって形成される磁界を受けた外部接続端子において渦電流が発生し、各磁気センサ素子から出力される信号にノイズが混入することを抑制することができることから、タイヤの曲げ変形をセンシングする感度を低減することなくタイヤの撓みを高精度に決定することができる。
【図面の簡単な説明】
【0010】
図1は、本実施形態のタイヤを示すタイヤ子午断面図である。
図2は、センサユニットをタイヤ内腔面に配置した状態での永久磁石と磁気センサ素子との三次元的な位置関係を示す図である。
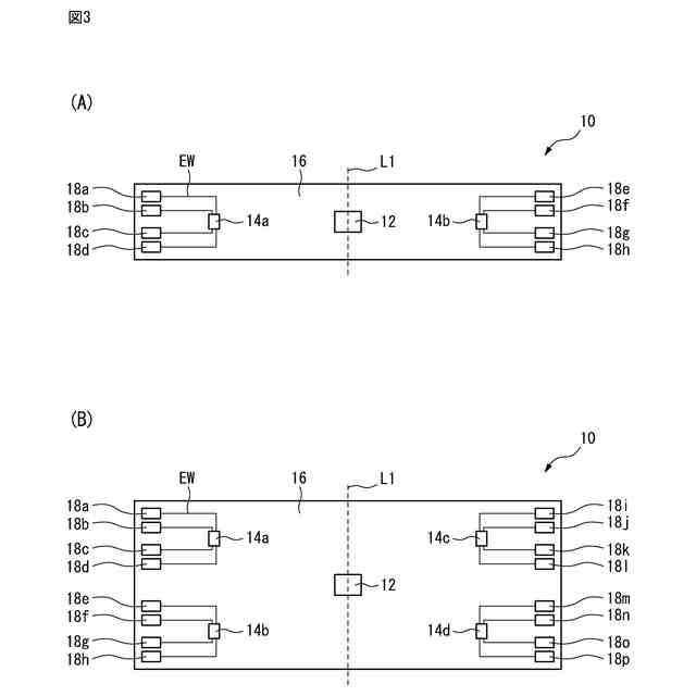
図3は、センサユニットを示す平面図であり、(A)はシート表面基準線の各側に1つの磁気センサ素子が配置されている例を示し、(B)はシート表面基準線の各側に2つの磁気センサ素子が配置されている例を示す。
図4は、センサユニットを示す平面図であり、(A)は磁気センサ素子と外部接続端子とを接続する電気配線が、シート表面基準線と交差しない例(好適な例)を示し、(B)は磁気センサ素子と外部接続端子とを接続する電気配線が、シート表面基準線と交差する例(不適な例)を示す。
図5は、センサユニットを示す平面図であり、(A)、(B)は外部接続端子がシート表面基準線の各側において長手方向の端部に配置されている例(好適な例)を示し、(C)は外部接続端子がシート表面基準線の一方側において長手方向の端部に配置されていない例(不適な例)を示す。
図6は、センサユニットの平面図であり、(A)は長方形、(B)は5角形、(C)は楕円、(D)は台形、及び(E)はH形、の可撓性シートの例を示す。
図7は、センサユニットの平面図であり、(A)は長方形の可撓性シートに1列の外部接続端子が整列している例を示し、(B)は長方形の可撓性シートに1列及び2列の外部接続端子が整列している例を示し、(C)はH形の可撓性シートに1列の外部接続端子が整列している例を示す。
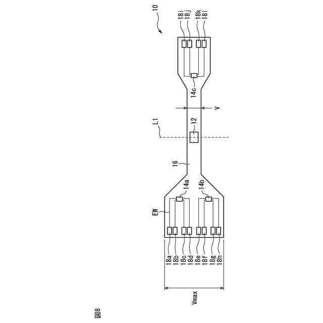
図8は、シート表面基準線L1の位置における幅Vと、シート表面基準線L1の方向における最大幅寸法Wmaxとの関係を示した、センサユニットの平面図である。
図9は、タイヤ内腔面上での可撓性シートの接着状態を示す図である。
図10は、タイヤ内腔面への可撓性シート(センサユニット)の配置前後における、永久磁石と磁気センサ素子との位置関係を示す図であり、配置前において着磁方向が可撓性シートに平行な方向である例を示す。
図11は、タイヤの表面にセンサユニットを配置する場合に、磁気センサ素子の位置について好適な例(A)、(B)と不適な例(C)とを示す図である。
図12は、本実施形態のタイヤの一部を示すタイヤ子午断面図である。
図13は、センサユニットを構成する永久磁石と2つの磁気センサ素子との各重心を通る円を示す図である。
図14は、タイヤ内腔面における基準線の位置を示すタイヤ子午断面図であり、(A)は基準線のみならずタイヤ幅方向内側の磁気センサ素子についても所定の範囲に位置する例を示す一方、(B)はタイヤ幅方向内側の磁気センサ素子については所定の範囲に位置しない例を示す。
図15は、タイヤ内腔面における基準線の位置と、可撓性シートのトレッド表面上かつタイヤ赤道面上の点から近い側の端部の位置と、を示すタイヤ子午断面図である。
図16は、永久磁石と、磁気センサ素子と、ベルトとの位置関係を示す図であり、(A)は磁気センサ素子とベルトとの位置関係を示し、(B)は永久磁石と磁気センサ素子との位置関係を示す。
図17は、シート表面基準線と、永久磁石の3方向についての関係を示す図である。
図18は、永久磁石の寸法とタイヤ厚みとの関係を示すタイヤ子午断面図である。
図19は、センサユニットに接続される回路基板を配置するのに好適な位置を示すタイヤ子午断面図であり、(A)は回路基板が、配置するのに不所望な領域よりもトレッド部中央側に配置された例を示し、(B)は回路基板が、配置するのに不所望な領域よりもビード部側に配置された例を示す。
図20は、センサユニットにおける磁気センサ素子の位置を示す平面図であり、(A)は所定の領域に2つの磁気センサ素子が配置されている例を示し、(B)は(A)に示す例において所定の領域以外の領域にさらに2つの磁気センサ素子が配置されている例を示し、(C)は所定の領域に3つの磁気センサ素子が配置されている例を示し、(D)は所定の領域に4つの磁気センサ素子が配置されている例を示す。
【発明を実施するための形態】
(【0011】以降は省略されています)
この特許をJ-PlatPat(特許庁公式サイト)で参照する
関連特許
横浜ゴム株式会社
タイヤ
1か月前
横浜ゴム株式会社
タイヤ
16日前
横浜ゴム株式会社
タイヤ
20日前
横浜ゴム株式会社
タイヤ
1か月前
横浜ゴム株式会社
タイヤ
20日前
横浜ゴム株式会社
タイヤ
1か月前
横浜ゴム株式会社
タイヤ
1か月前
横浜ゴム株式会社
タイヤ
1か月前
横浜ゴム株式会社
タイヤ
1か月前
横浜ゴム株式会社
タイヤ
1か月前
横浜ゴム株式会社
タイヤ
20日前
横浜ゴム株式会社
タイヤ
1か月前
横浜ゴム株式会社
タイヤ
16日前
横浜ゴム株式会社
タイヤ
1か月前
横浜ゴム株式会社
タイヤ
20日前
横浜ゴム株式会社
タイヤ
1か月前
横浜ゴム株式会社
タイヤ
1か月前
横浜ゴム株式会社
タイヤ
10日前
横浜ゴム株式会社
タイヤ
4日前
横浜ゴム株式会社
タイヤ
10日前
横浜ゴム株式会社
タイヤ
9日前
横浜ゴム株式会社
タイヤ
9日前
横浜ゴム株式会社
タイヤ
1か月前
横浜ゴム株式会社
タイヤ
1か月前
横浜ゴム株式会社
タイヤ
1か月前
横浜ゴム株式会社
タイヤ
1か月前
横浜ゴム株式会社
タイヤ
1か月前
横浜ゴム株式会社
タイヤ
1か月前
横浜ゴム株式会社
重荷重タイヤ
16日前
横浜ゴム株式会社
空気入りタイヤ
1か月前
横浜ゴム株式会社
空気入りタイヤ
20日前
横浜ゴム株式会社
空気入りタイヤ
17日前
横浜ゴム株式会社
空気入りタイヤ
1か月前
横浜ゴム株式会社
タイヤの製造方法
9日前
横浜ゴム株式会社
熱可塑性樹脂組成物
9日前
横浜ゴム株式会社
更生タイヤ及びその製造方法
20日前
続きを見る
他の特許を見る