TOP
|
特許
|
意匠
|
商標
特許ウォッチ
Twitter
他の特許を見る
公開番号
2025153522
公報種別
公開特許公報(A)
公開日
2025-10-10
出願番号
2024056050
出願日
2024-03-29
発明の名称
タイヤ
出願人
横浜ゴム株式会社
代理人
清流国際弁理士法人
,
個人
,
個人
主分類
B60C
11/00 20060101AFI20251002BHJP(車両一般)
要約
【課題】膨出した踏面を有する陸部を設けた場合と同等のウェット性能を維持しながら操舵力を低減することを可能にしたタイヤを提供する。
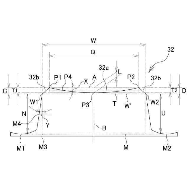
【解決手段】ショルダー陸部31を除く少なくとも1列の陸部30を、タイヤ周方向に沿って連続して延在し、タイヤ子午線断面における踏面の輪郭線がタイヤ径方向内側に窪んだ凹部32aを含む凹リブ32とし、正規リムに装着し正規内圧を付与した無負荷状態におけるタイヤ子午断面視において、凹部32aのタイヤ幅方向の端点P1,P2と凹部32aの最深部(点P3)とに基づき、点P1と点P2を結ぶ直線A、直線Aと直交し点P3を通る直線Bを引いたとき、直線Aと直線Bとの交点と点P3との距離Lが、凹リブ32の幅Wとトレッドゴムの硬度Hsとに対して0<(L/W)×100≦6、0<((L/W)×100)/Hs≦0.06、且つHsが55以上78以下の関係を満たすようにする。
【選択図】図2
特許請求の範囲
【請求項1】
タイヤ周方向に延在して環状をなすトレッド部を備えたタイヤにおいて、
前記トレッド部は、タイヤ周方向に沿って延在する少なくとも2本の周方向主溝と、前記周方向主溝により区画された複数列の陸部を備え、
前記複数の陸部のうちタイヤ幅方向最外側に位置する一対のショルダー陸部を除く少なくとも1列の陸部はタイヤ周方向に沿って連続して延在する凹リブであり、
前記凹リブは、タイヤ子午線断面における踏面の輪郭線がタイヤ径方向内側に窪んだ凹部を含み、
正規リムに装着し正規内圧を付与した無負荷状態におけるタイヤ子午断面視において、前記凹部のタイヤ幅方向一方側の端点を点P1、前記凹部のタイヤ幅方向他方側の端点を点P2、前記凹部の最深部を点P3とし、前記点P1と前記点P2を結ぶ直線Aと、前記直線Aと直交し点P3を通る直線Bを引いたとき、
前記直線Aと前記直線Bとの交点と前記点P3との距離Lは、前記凹リブの幅Wと前記トレッド部を構成するトレッドゴムの硬度Hsとに対して0<(L/W)×100≦6、且つ0<((L/W)×100)/Hs≦0.06の関係を満たし、前記トレッドゴムの硬度Hsが55以上78以下であることを特徴とするタイヤ。
続きを表示(約 990 文字)
【請求項2】
前記直線Aと前記直線Bとの交点と前記点P3との中点を通り前記直線Aと平行な直線と前記凹部の輪郭線との交点を点P4としたときに前記点P4と前記点P1とを結ぶ直線が前記直線Aに対して成す角度Xと、前記凹リブに隣接する周方向主溝の溝壁角度Yとが、0.02≦X/Y<1の関係を満たすことを特徴とする請求項1に記載のタイヤ。
【請求項3】
前記点P3が、前記凹リブのタイヤ幅方向中心からタイヤ幅方向両側に前記凹リブの幅Wの15%以内の範囲に配置されたことを特徴とする請求項1または2に記載のタイヤ。
【請求項4】
前記凹部の輪郭線が、前記点P1および前記点P3を結んだ直線と前記点P2および前記点P3を結んだ直線の両方よりもタイヤ径方向内側に凸となるように湾曲していることを特徴とする請求項1または2に記載のタイヤ。
【請求項5】
前記凹リブに隣接する一対の周方向主溝の最深点どうしを結んだ直線Mと平行であり前記点P3を通る直線Tを引いたとき、前記点P1と前記直線Tとの距離T1が前記点P2と前記直線Tとの距離T2と0.7≦T1/T2≦1.5の関係を満たすことを特徴とする請求項1または2に記載のタイヤ。
【請求項6】
前記凹リブのタイヤ幅方向両側のエッジに面取り部が設けられ、
前記点P1側の前記面取り部のタイヤ径方向内側端W1と前記点P2側の前記面取り部のタイヤ径方向内側端W2とを結んだ直線を直線W’とし、前記凹リブに隣接する一対の周方向主溝の最深点どうしを結んだ直線を直線Mとしたとき、
前記点P1と前記直線W’との距離C、前記点P2と前記直線W’との距離D、前記面取り部のタイヤ径方向内側端W1と前記直線Mとの距離N、前記面取り部のタイヤ径方向内側端W2と前記直線Mとの距離Uとが、0.05≦C/N≦0.98且つ0.05≦D/U≦0.98の関係を満たし、更に前記点P1と前記点P2との距離Qと、前記凹リブの幅Wとが0.7≦Q/W≦0.97の関係を満たすことを特徴とする請求項1または2に記載のタイヤ。
【請求項7】
前記複数の陸部のうちタイヤ幅方向最外側に位置する一対のショルダー陸部を除くすべての陸部が前記凹リブであることを特徴とする請求項1または2に記載のタイヤ。
発明の詳細な説明
【技術分野】
【0001】
本発明は、タイヤ周方向に沿って連続的に延在するリブ状の陸部を備えたタイヤに関し、更に詳しくは、停止時の操舵力(据え切り時)を増大させることなくウェット性能の向上を可能にしたタイヤに関する。
続きを表示(約 2,200 文字)
【背景技術】
【0002】
タイヤのウェット性能を向上させるために、トレッド部に形成された陸部の踏面を、トレッドプロファイルの基準輪郭線からタイヤ径方向外側に部分的に膨出させた形状にする技術が知られている(例えば特許文献1を参照)。このようなタイヤでは、陸部が膨出した踏面を有することにより、当該陸部の接地圧が増加し、ウェット路面走行時における当該陸部の踏面と路面との接地特性が向上してウェット性能を向上することができる。しかしながら、膨出した踏面を有することで接地長が増大し、それによりハンドルの操舵力(特に据え切り時の操舵力)が大きくなるという問題がある。
【先行技術文献】
【特許文献】
【0003】
特開2020‐100170号公報
【発明の概要】
【発明が解決しようとする課題】
【0004】
本発明の目的は、膨出した踏面を有する陸部を設けた場合と同等のウェット性能を維持しながら停止時の操舵力(据え切り時)を低減することを可能にしたタイヤを提供することにある。
【課題を解決するための手段】
【0005】
上記目的を達成するための本発明のタイヤは、タイヤ周方向に延在して環状をなすトレッド部を備えたタイヤにおいて、前記トレッド部は、タイヤ周方向に沿って延在する少なくとも2本の周方向主溝と、前記周方向主溝により区画された複数列の陸部を備え、前記複数の陸部のうちタイヤ幅方向最外側に位置する一対のショルダー陸部を除く少なくとも1列の陸部はタイヤ周方向に沿って連続して延在する凹リブであり、前記凹リブは、タイヤ子午線断面における踏面の輪郭線がタイヤ径方向内側に窪んだ凹部を含み、正規リムに装着し正規内圧を付与した無負荷状態におけるタイヤ子午断面視において、前記凹部のタイヤ幅方向一方側の端点を点P1、前記凹部のタイヤ幅方向他方側の端点を点P2、前記凹部の最深部を点P3とし、前記点P1と前記点P2を結ぶ直線Aと、前記直線Aと直交し点P3を通る直線Bを引いたとき、前記直線Aと前記直線Bとの交点と前記点P3との距離Lは、前記凹リブの幅Wと前記トレッド部を構成するトレッドゴムの硬度Hsとに対して0<(L/W)×100≦6、且つ0<((L/W)×100)/Hs≦0.06の関係を満たし、前記トレッドゴムの硬度Hsが55以上78以下であることを特徴とする。
【発明の効果】
【0006】
本発明のタイヤは、上記のように、一対のショルダー陸部を除く少なくとも1列の陸部が上述の特徴を備えた凹リブであるため、凹部によって適度な排水性を発揮して膨出した踏面を有する陸部を設けた場合と同等のウェット性能を確保する一方で、膨出した踏面を有する陸部を設けた場合のように接地長が長くなることを回避して操舵力を低減することができる。特に、凹部のタイヤ幅方向一方側の端点(点P1)、凹部のタイヤ幅方向他方側の端点(点P2)、凹部の最深部(点P3)、点P1と点P2を結ぶ直線A、直線Aと直交し点P3を通る直線Bとから規定される距離Lと、凹リブの幅Wと、トレッド部を構成するトレッドゴムの硬度Hsとが0<(L/W)×100≦6、且つ0<((L/W)×100)/Hs≦0.06の関係を満たし、前記トレッドゴムの硬度Hsが55以上78以下であるため、ウェット性能の維持と操舵力の低減をバランスよく高度に両立することができる。
【0007】
本発明においては、直線Aと直線Bとの交点と点P3との中点を通り直線Aと平行な直線と凹部の輪郭線との交点を点P4としたときに点P4と点P1とを結ぶ直線が直線Aに対して成す角度Xと、凹リブに隣接する周方向主溝の溝壁角度Yとが、0.02≦X/Y<1の関係を満たすことが好ましい。これにより、凹部の形状(凹部の窪みの程度)と凹リブ全体の形状(凹リブに隣接する周方向主溝の溝壁、即ち凹リブのタイヤ幅方向外側の側面の傾斜の程度)とのバランスが良好になり、ウェット性能の維持と操舵力の低減を両立するには有利になる。
【0008】
本発明においては、点P3が、凹リブのタイヤ幅方向中心からタイヤ幅方向両側に凹リブの幅Wの15%以内の範囲に配置されたことが好ましい。これにより、凹リブの形状が凹リブのタイヤ幅方向中心の両側で略均一になり、据え切り時の操舵力の左右差を抑制することができ、操舵力を効果的に低減することができる。
【0009】
本発明においては、凹部の輪郭線が、点P1および点P3を結んだ直線と点P2および点P3を結んだ直線の両方よりもタイヤ径方向内側に凸となるように湾曲していることが好ましい。このように凹部を湾曲形状とすることで、凹リブの形状が良好になり、ウェット性能の維持と操舵力の低減を両立するには有利になる。
【0010】
本発明においては、凹リブに隣接する一対の周方向主溝の最深点どうしを結んだ直線Mと平行であり前記点P3を通る直線Tを引いたとき、点P1と直線Tとの距離T1が点P2と直線Tとの距離T2と0.7≦T1/T2≦1.5の関係を満たすことが好ましい。これにより、点P1と点P2の周方向溝の溝底位置からの高さが略均等になり、据え切り時の操舵力の左右差を抑制することができ、操舵力を効果的に低減することができる。
(【0011】以降は省略されています)
この特許をJ-PlatPat(特許庁公式サイト)で参照する
関連特許
横浜ゴム株式会社
タイヤ
3日前
横浜ゴム株式会社
タイヤ
8日前
横浜ゴム株式会社
タイヤ
8日前
横浜ゴム株式会社
タイヤ
9日前
横浜ゴム株式会社
タイヤの製造方法
8日前
横浜ゴム株式会社
熱可塑性樹脂組成物
8日前
横浜ゴム株式会社
ホース用ゴム組成物及びホース
3日前
横浜ゴム株式会社
ゴム組成物、及び、コンベヤベルト
8日前
横浜ゴム株式会社
未加硫ゴムシートの供給装置および方法
4日前
横浜ゴム株式会社
未加硫ゴムシートの状態検知装置および方法
4日前
個人
タイヤレバー
2か月前
個人
前輪キャスター
1か月前
個人
上部一体型自動車
15日前
個人
ルーフ付きトライク
2か月前
個人
タイヤ脱落防止構造
1か月前
日本精機株式会社
表示装置
2か月前
個人
マスタシリンダ
22日前
日本精機株式会社
表示装置
2か月前
日本精機株式会社
表示装置
2か月前
日本精機株式会社
表示装置
2か月前
日本精機株式会社
画像投映装置
11日前
株式会社豊田自動織機
産業車両
2か月前
日本精機株式会社
車載表示装置
1か月前
株式会社ニフコ
照明装置
1か月前
日本精機株式会社
車室演出装置
1か月前
株式会社ニフコ
収納装置
1か月前
日本精機株式会社
車両用投影装置
29日前
極東開発工業株式会社
車両
2か月前
日本精機株式会社
車両用投射装置
16日前
日本精機株式会社
車両用表示装置
11日前
井関農機株式会社
作業車両
29日前
株式会社SUBARU
車両
9日前
日本精機株式会社
車両用表示装置
2か月前
日本化薬株式会社
ガス発生器
1か月前
日本化薬株式会社
ガス発生器
11日前
日本化薬株式会社
ガス発生器
9日前
続きを見る
他の特許を見る