TOP
|
特許
|
意匠
|
商標
特許ウォッチ
Twitter
他の特許を見る
10個以上の画像は省略されています。
公開番号
2025136093
公報種別
公開特許公報(A)
公開日
2025-09-19
出願番号
2024034295
出願日
2024-03-06
発明の名称
タイヤ
出願人
横浜ゴム株式会社
代理人
弁理士法人酒井国際特許事務所
主分類
B60C
11/03 20060101AFI20250911BHJP(車両一般)
要約
【課題】低転がり抵抗性能とウェットトラクション性能を両立すること。
【解決手段】トレッド面15Aに、2本の周方向細溝22と、隣り合う各周方向細溝にそれぞれの端が連通して複数のセンターブロック31Baを区画する貫通センターラグ溝43と、を有し、貫通センターラグ溝は、隣り合うそれぞれの周方向細溝に一端が連通し接地時に溝壁同士が接触しない一対の非接触溝部431と、各非接触溝部431の他端を繋いて接地時に溝壁同士の少なくとも一部が接触する接触溝部432と、を含み、センターブロックは、他のセンターブロックとタイヤ幅方向で隣り合うラップ部を有しており、ブロック面積BSが、トレッド面15A全体のトレッド面積Sに対して、0.3[%]≦BS/S≦0.8[%]の関係を満たし、タイヤ周方向長BLが、タイヤ周長Lに対して、4.0[%]≦BL/L≦9.0[%]の関係を満たす。
【選択図】図12
特許請求の範囲
【請求項1】
トレッド面に、
タイヤ周方向に延びてタイヤ幅方向に並ぶ少なくとも2本の周方向溝と、
隣り合う各前記周方向溝にタイヤ幅方向に延びるそれぞれの端が連通して複数のブロックを区画するようにタイヤ周方向に複数並ぶ貫通ラグ溝と、
を有し、
前記貫通ラグ溝は、隣り合うそれぞれの前記周方向溝に一端が連通して設けられて接地時に溝壁同士が接触しない一対の非接触溝部と、各前記非接触溝部の他端を繋いてタイヤ周方向に沿って設けられて接地時に溝壁同士の少なくとも一部が接触する接触溝部と、を含み、
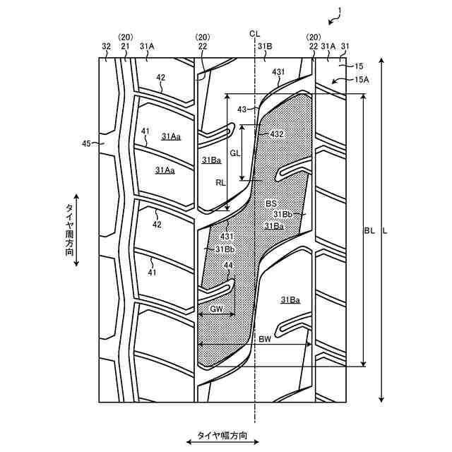
前記ブロックは、前記貫通ラグ溝を境にして他の前記ブロックとタイヤ幅方向で隣り合うラップ部を有しており、ブロック面積BSが、前記トレッド面全体のトレッド面積Sに対して、0.3[%]≦BS/S≦0.8[%]の関係を満たし、タイヤ周方向長BLが、タイヤ周長Lに対して、4.0[%]≦BL/L≦9.0[%]の関係を満たす、
タイヤ。
続きを表示(約 1,300 文字)
【請求項2】
前記ブロックのタイヤ周方向長BL、前記ラップ部のタイヤ周方向のラップ長RL、前記接触溝部のタイヤ周方向の溝長GLが、0.20≦RL/BL≦0.45、0.35≦GL/RL≦0.65の関係を満たす、
請求項1に記載のタイヤ。
【請求項3】
タイヤ幅方向に延びて前記周方向溝に一端が連通し前記ブロックの内部で他端が終端して設けられる非貫通ラグ溝を有し、
前記非貫通ラグ溝は、接地時に溝深さの少なくとも20[%]の範囲で溝壁同士が接触しトレッド面では開口部が開口するように構成されており、
前記非貫通ラグ溝のタイヤ幅方向の溝長GW、前記ブロックのタイヤ幅方向長BWが、0.15≦GW/BW≦0.40の関係を満たす、
請求項1に記載のタイヤ。
【請求項4】
タイヤ幅方向に延びて前記周方向溝に一端が連通し前記ブロックの内部で他端が終端して設けられる非貫通ラグ溝を有し、
前記非貫通ラグ溝の最小の溝幅W8b、開口部の溝幅W8aが、0.2≦W8b/W8a≦0.5の関係を満たす、
請求項1に記載のタイヤ。
【請求項5】
各前記周方向溝は、少なくとも2本の他の周方向溝のタイヤ幅方向内側に設けられており、接地時に溝深さの少なくとも20[%]の範囲で溝壁同士が接触する、
請求項1に記載のタイヤ。
【請求項6】
各前記周方向溝のタイヤ幅方向両外側にそれぞれ他の周方向溝が設けられて区画されるミドル陸部と、
前記ミドル陸部を複数のミドルブロックに区画するように隣り合う前記周方向溝にタイヤ幅方向に延びるそれぞれの端が連通してタイヤ周方向に複数並ぶ貫通ミドルラグ溝と、
を有し、
貫通ミドルラグ溝は、接地時に溝深さの少なくとも20[%]の範囲で溝壁同士が接触しトレッド面では開口部が開口するように構成される、
請求項1に記載のタイヤ。
【請求項7】
各前記周方向溝のタイヤ幅方向両外側においてミドル陸部を区画するように他の周方向溝が設けられ、
前記他の周方向溝の溝幅W3、前記周方向溝の溝幅W1が、0.05≦W3/W1≦0.30の関係を満たす、
請求項1に記載のタイヤ。
【請求項8】
各前記周方向溝のタイヤ幅方向両外側においてタイヤ幅方向最外側にそれぞれ他の周方向溝が配置されており、
前記他の周方向溝は、
その子午断面形状が、前記トレッド面から溝底側に延びる一対の第一溝壁と、
それぞれの前記第一溝壁の溝底側に繋がり前記トレッド面に沿う壇を形成する一対の壇部と、
それぞれの前記第一溝壁よりも溝中心側に位置し、それぞれの前記壇部から溝底側に延びる一対の第二溝壁と、
を有し、
前記他の周方向溝のタイヤ幅方向外側に区画されるショルダー部において、タイヤ幅方向に延びてタイヤ周方向に複数配置され前記他の周方向溝に一端が連通し、溝底に底上部が形成されるショルダーラグ溝が設けられ、
前記ショルダーラグ溝の底上部と、前記他の周方向溝の前記壇部と、が円弧によって滑らかに繋がる、
請求項1に記載のタイヤ。
発明の詳細な説明
【技術分野】
【0001】
この発明は、タイヤに関する。
続きを表示(約 2,200 文字)
【背景技術】
【0002】
例えば、特許文献1には、トレッド面に、タイヤ周方向に沿って延びる一対の周方向主溝を、タイヤ赤道面を挟んで配設して、トレッド面を中央域と両側方域とに区分し、中央域に、タイヤ周方向に沿って延びる3本の周方向細溝を配設して、4つの中央リブ状陸部を区画形成し、接地時に、周方向細溝の開口が閉じることにより、周方向細溝を挟んで隣接して位置する中央リブ状陸部同士が接触して支えあう構成を有する重荷重用空気入りタイヤが示されている。
【先行技術文献】
【特許文献】
【0003】
特許第5693069号公報
【発明の概要】
【発明が解決しようとする課題】
【0004】
ここで、低転がり抵抗化のために、ブロック剛性の増加を目的として、センター部の主溝幅を細溝とし、センター部にブロック列を集中配置するパターンの採用が進んでいる。しかし、そのようなタイヤは、溝容積が減少して排水性能が悪化することからブロックパターン本来のウェットトラクション性能が低下する懸念がある。
【0005】
この発明は、低転がり抵抗性能とウェットトラクション性能を両立することのできるタイヤを提供することを目的とする。
【課題を解決するための手段】
【0006】
上記目的を達成するため、本発明の一態様に係るタイヤは、トレッド面に、タイヤ周方向に延びてタイヤ幅方向に並ぶ少なくとも2本の周方向溝と、隣り合う各前記周方向溝にタイヤ幅方向に延びるそれぞれの端が連通して複数のブロックを区画するようにタイヤ周方向に複数並ぶ貫通ラグ溝と、を有し、前記貫通ラグ溝は、隣り合うそれぞれの前記周方向溝に一端が連通して設けられて接地時に溝壁同士が接触しない一対の非接触溝部と、各前記非接触溝部の他端を繋いてタイヤ周方向に沿って設けられて接地時に溝壁同士の少なくとも一部が接触する接触溝部と、を含み、前記ブロックは、前記貫通ラグ溝を境にして他の前記ブロックとタイヤ幅方向で隣り合うラップ部を有しており、ブロック面積BSが、前記トレッド面全体のトレッド面積Sに対して、0.3[%]≦BS/S≦0.8[%]の関係を満たし、タイヤ周方向長BLが、タイヤ周長Lに対して、4.0[%]≦BL/L≦9.0[%]の関係を満たす。
【発明の効果】
【0007】
この発明によれば、低転がり抵抗性能とウェットトラクション性能を両立できる。
【図面の簡単な説明】
【0008】
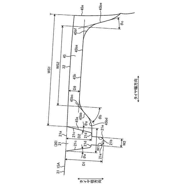
図1は、実施形態に係る空気入りタイヤの子午断面図である。
図2は、実施形態に係る空気入りタイヤのトレッド面の平面図である。
図3は、図2におけるA-A断面図である。
図4は、図2におけるB-B断面図である。
図5は、図2におけるC-C断面図である。
図6は、図2におけるD-D断面図である。
図7は、図2におけるE-E断面図である。
図8は、図2におけるF-F断面図である。
図9は、図2におけるG-G断面図である。
図10は、図2におけるG-G断面図の他の例である。
図11は、図2におけるH-H断面図である。
図12は、実施形態に係る空気入りタイヤのトレッド面の拡大平面図である。
図13は、実施形態に係る空気入りタイヤの性能試験の結果を示す図表である。
図14は、実施形態に係る空気入りタイヤの性能試験の結果を示す図表である。
図15は、実施形態に係る空気入りタイヤの性能試験の結果を示す図表である。
【発明を実施するための形態】
【0009】
以下に、本発明に係る実施形態を図面に基づいて詳細に説明する。なお、この実施形態によりこの発明が限定されるものではない。また、この実施形態の構成要素には、発明の同一性を維持しつつ置換可能かつ置換自明なものが含まれる。また、この実施形態に記載された複数の変形例は、当業者自明の範囲内にて任意に組み合わせが可能である。
【0010】
以下の説明において、タイヤ径方向とは、実施形態の空気入りタイヤ1の回転軸であるタイヤ回転軸(図示省略)と直交する方向をいい、タイヤ径方向内側とはタイヤ径方向においてタイヤ回転軸に向かう側、タイヤ径方向外側とはタイヤ径方向においてタイヤ回転軸から離れる側をいう。また、タイヤ周方向とは、タイヤ回転軸を中心軸とする周り方向をいう。また、タイヤ幅方向とは、タイヤ回転軸と平行な方向をいい、タイヤ幅方向内側とはタイヤ幅方向においてタイヤ赤道面(タイヤ赤道線)CLに向かう側、タイヤ幅方向外側とはタイヤ幅方向においてタイヤ赤道面CLから離れる側をいう。タイヤ赤道面CLとは、タイヤ回転軸に直交すると共に、空気入りタイヤ1のタイヤ幅の中心を通る平面であり、タイヤ赤道面CLは、空気入りタイヤ1のタイヤ幅方向における中心位置であるタイヤ幅方向中心線と、タイヤ幅方向における位置が一致する。タイヤ赤道線とは、タイヤ赤道面CL上にあって空気入りタイヤ1のタイヤ周方向に沿う線をいう。また、タイヤ子午線方向の断面(子午断面図)とは、タイヤ回転軸を含む平面でタイヤを切断したときの断面をいう。
(【0011】以降は省略されています)
この特許をJ-PlatPat(特許庁公式サイト)で参照する
関連特許
横浜ゴム株式会社
タイヤ
29日前
横浜ゴム株式会社
タイヤ
1か月前
横浜ゴム株式会社
タイヤ
19日前
横浜ゴム株式会社
タイヤ
19日前
横浜ゴム株式会社
タイヤ
19日前
横浜ゴム株式会社
タイヤ
19日前
横浜ゴム株式会社
タイヤ
1か月前
横浜ゴム株式会社
タイヤ
1か月前
横浜ゴム株式会社
タイヤ
1か月前
横浜ゴム株式会社
タイヤ
1か月前
横浜ゴム株式会社
タイヤ
1か月前
横浜ゴム株式会社
タイヤ
9日前
横浜ゴム株式会社
タイヤ
9日前
横浜ゴム株式会社
タイヤ
29日前
横浜ゴム株式会社
タイヤ
9日前
横浜ゴム株式会社
タイヤ
1か月前
横浜ゴム株式会社
タイヤ
9日前
横浜ゴム株式会社
タイヤ
1か月前
横浜ゴム株式会社
タイヤ
28日前
横浜ゴム株式会社
タイヤ
5日前
横浜ゴム株式会社
タイヤ
5日前
横浜ゴム株式会社
音響窓
2か月前
横浜ゴム株式会社
タイヤ
19日前
横浜ゴム株式会社
タイヤ
28日前
横浜ゴム株式会社
タイヤ
1か月前
横浜ゴム株式会社
タイヤ
1か月前
横浜ゴム株式会社
重荷重タイヤ
5日前
横浜ゴム株式会社
空気入りタイヤ
9日前
横浜ゴム株式会社
空気入りタイヤ
1か月前
横浜ゴム株式会社
空気入りタイヤ
6日前
横浜ゴム株式会社
空気入りタイヤ
1か月前
横浜ゴム株式会社
空気入りタイヤ
1か月前
横浜ゴム株式会社
タイヤ及びその製造方法
2か月前
横浜ゴム株式会社
高分子微粒子集合体の製造法
27日前
横浜ゴム株式会社
更生タイヤ及びその製造方法
9日前
横浜ゴム株式会社
機能部品付き収容体及びタイヤ
1か月前
続きを見る
他の特許を見る