TOP
|
特許
|
意匠
|
商標
特許ウォッチ
Twitter
他の特許を見る
公開番号
2025137406
公報種別
公開特許公報(A)
公開日
2025-09-19
出願番号
2025009740
出願日
2025-01-23
発明の名称
ガスケット
出願人
株式会社荒井製作所
代理人
個人
主分類
F16J
15/10 20060101AFI20250911BHJP(機械要素または単位;機械または装置の効果的機能を生じ維持するための一般的手段)
要約
【課題】成型設備の大型化及び金型保管スペースの確保等種々の課題を解消し得るガスケットを提供する。
【解決手段】無端紐状の弾性体によりなるガスケット本体3を、密封部の凹溝に組み込んで使用するガスケット1において、ガスケット本体3は、並行する2本3aと3bの間にスリット状の内側領域5を有し、当該内側領域5が長さ方向に渦巻形となるように巻回した形状に成型される。そして、成型されたガスケット本体3を、その内側領域5を大きく広げるように展開して凹溝に組み込むようにする。また、成型されたガスケット本体3は、その端部に反転部7a、7bを有し、凹溝への組み込み時には、当該反転部を起点として組み込まれるものする。
【選択図】図1
特許請求の範囲
【請求項1】
無端紐状の弾性体によりなるガスケット本体を、密封部の凹溝に組み込んで使用するガスケットであって、
前記ガスケット本体は、並行する2本の間にスリット状の内側領域を有し、当該内側領域が長さ方向に渦巻形となるように巻回した形状に成型され、
成型された前記ガスケット本体を、前記内側領域を広げるように展開して前記凹溝に組み込むようにしたことを特徴とするガスケット。
続きを表示(約 400 文字)
【請求項2】
無端紐状の弾性体によりなるガスケット本体を、密封部の凹溝に組み込んで使用するガスケットであって、
前記ガスケット本体は、並行する2本の間にスリット状の内側領域を有し、当該内側領域が長さ方向に渦巻形となるように巻回した渦巻状部を一部に有する形状に成型され、
成型された前記ガスケット本体を、前記内側領域を広げるように展開して前記凹溝に組み込むようにしたことを特徴とするガスケット。
【請求項3】
前記ガスケット本体は、前記内側領域が前記ガスケット本体の線径よりも大きい幅を有するように成型されることを特徴とする請求項1または2に記載のガスケット。
【請求項4】
成型された前記ガスケット本体は、その端部に反転部を有し、前記凹溝への組み込み時には、当該反転部を起点として組み込まれることを特徴とする請求項1または2に記載のガスケット。
発明の詳細な説明
【技術分野】
【0001】
本発明は、密封(気密・液密)の必要な箇所に組み込まれるガスケットに関する。
続きを表示(約 1,200 文字)
【背景技術】
【0002】
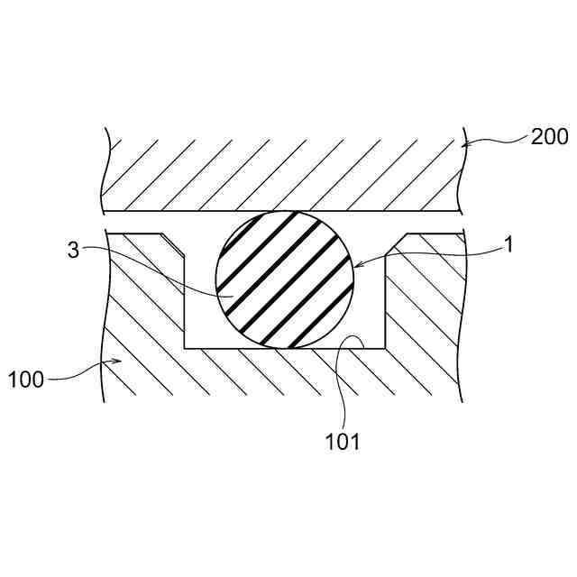
例えば、空圧式アクチュエータの場合、ハウジングと蓋体との間には、密封性を高めるため、弾性体によりなるガスケットが組み込まれている。
また、各種配管等の継ぎ目領域、あるいはオートバイのキャブレターとフロートチャンバーとの間等にも様々なガスケットが組み込まれている。
【0003】
特許文献1には、配管の接合面に設けた環状凹部に、弾性を有するリング状のガスケットを採用した一例が開示されている。また、特許文献2には、空圧式・油圧式アクチュエータの圧力機器に用いられるガスケットが提案されている。
【0004】
一般に、この種の弾性を有するガスケットの場合、組み込み対象とされる密封部に対応したサイズ(周長)のリング状に形成される。すなわち、密封領域が大きい場合、それに適応する大型サイズのガスケットが用意される。
【0005】
このようなガスケットは、通常、金型を用いて成型される。
従って、サイズの大きなガスケットを成型するとなると、それに応じた大きな金型も必要となるため、成型設備の大型化・金型保管スペースの確保など、種々の課題が生じ得る。
【先行技術文献】
【特許文献】
【0006】
実用新案登録第3104291号公報
特開2006-329400号公報
【発明の概要】
【発明が解決しようとする課題】
【0007】
本発明は、このような課題を解決するためになされており、その目的とするところは、成型設備の大型化及び金型保管スペースの確保等種々の課題を解消し得るガスケットを提供することにある。
【課題を解決するための手段】
【0008】
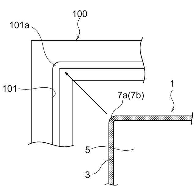
このような目的を達成するために、第1の本発明は、無端紐状の弾性体によりなるガスケット本体を、密封部の凹溝に組み込んで使用するガスケットであって、
ガスケット本体は、並行する2本の間にスリット状の内側領域を有し、当該内側領域が長さ方向に渦巻形となるように巻回した形状に成型され、
成型されたガスケット本体を、その内側領域を広げるように展開して凹溝に組み込むようにしたものである。
【0009】
第2の本発明は、無端紐状の弾性体によりなるガスケット本体を、密封部の凹溝に組み込んで使用するガスケットであって、
ガスケット本体は、並行する2本の間にスリット状の内側領域を有し、当該内側領域が長さ方向に渦巻形となるように巻回した渦巻状部を一部に有する形状に成型され、
成型された前記ガスケット本体を、その内側領域を広げるように展開して凹溝に組み込むようにしたものである。
【0010】
第3の本発明は、第1の本発明または第2の本発明において、ガスケット本体は、その内側領域がガスケット本体の線径よりも大きい幅を有するように成型されるものである。
(【0011】以降は省略されています)
この特許をJ-PlatPat(特許庁公式サイト)で参照する
関連特許
株式会社荒井製作所
ガスケット
13日前
株式会社荒井製作所
ガスケット
13日前
株式会社荒井製作所
グロメット
29日前
個人
流路体
8か月前
個人
鍋虫ねじ
1か月前
個人
紛体用仕切弁
1か月前
個人
ホース保持具
5か月前
個人
回転伝達機構
1か月前
個人
トーションバー
6か月前
個人
差動歯車用歯形
3か月前
個人
ジョイント
13日前
個人
地震の揺れ回避装置
2か月前
株式会社不二工機
電磁弁
3か月前
個人
ボルトナットセット
6か月前
個人
ナット
14日前
個人
固着具と成形品部材
8か月前
個人
回転式配管用支持具
7か月前
株式会社不二工機
電磁弁
4か月前
株式会社アイシン
駆動装置
8か月前
個人
吐出量監視装置
1か月前
株式会社オンダ製作所
継手
7か月前
株式会社ミクニ
弁装置
7か月前
カヤバ株式会社
ダンパ
3か月前
株式会社三協丸筒
枠体
6か月前
柿沼金属精機株式会社
分岐管
1か月前
カヤバ株式会社
緩衝器
6か月前
個人
ベルトテンショナ
7か月前
株式会社ミクニ
弁装置
7か月前
カヤバ株式会社
緩衝器
2か月前
カヤバ株式会社
緩衝器
2か月前
カヤバ株式会社
ダンパ
3か月前
株式会社ナジコ
自在継手
8か月前
個人
固着具と固着具の固定方法
5か月前
株式会社不二工機
逆止弁
8か月前
カヤバ株式会社
緩衝装置
7か月前
個人
角型菅の連結構造及び工法
7か月前
続きを見る
他の特許を見る