TOP
|
特許
|
意匠
|
商標
特許ウォッチ
Twitter
他の特許を見る
公開番号
2025136340
公報種別
公開特許公報(A)
公開日
2025-09-19
出願番号
2024034844
出願日
2024-03-07
発明の名称
ガスケット
出願人
株式会社荒井製作所
代理人
個人
主分類
F16J
15/10 20060101AFI20250911BHJP(機械要素または単位;機械または装置の効果的機能を生じ維持するための一般的手段)
要約
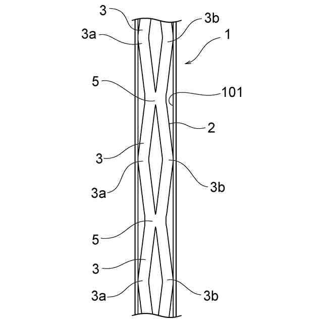
【課題】成型設備の大型化及び金型保管スペースの確保等種々の課題を解消し得るガスケットを提供する。
【解決手段】本発明のガスケッは、弾性体によりなるガスケット本体2を、密封部の凹溝に組み込んで使用するガスケット1において、ガスケット本体2は、複数の環状部3を連結した鎖状に成型される。そして、成型されたガスケット本体2を、大きく広げるように伸長させて凹溝101に組み込むようにする。また、環状部3は、平面視で略菱形形状に形成されている。さらに、ガスケット本体2は、凹溝101に組み込まれた状態で、環状部3が凹溝101に弾性的に圧接する。
【選択図】図1
特許請求の範囲
【請求項1】
弾性体によりなるガスケット本体を、密封部の凹溝に組み込んで使用するガスケットであって、
前記ガスケット本体は、複数の環状部を連結した鎖状に成型され、
成型された前記ガスケット本体を伸長させて前記凹溝に組み込むようにしたことを特徴とするガスケット。
続きを表示(約 140 文字)
【請求項2】
前記環状部は、平面視で略菱形形状に形成されていることを特徴とする請求項1に記載のガスケット。
【請求項3】
前記ガスケット本体は、前記凹溝に組み込まれた状態で、前記環状部が前記凹溝に弾性的に圧接することを特徴とする請求項1または2に記載のガスケット。
発明の詳細な説明
【技術分野】
【0001】
本発明は、密封(気密・液密)の必要な箇所に組み込まれるガスケットに関する。
続きを表示(約 1,100 文字)
【背景技術】
【0002】
例えば、空圧式アクチュエータの場合、ハウジングと蓋体との間には、密封性を高めるため、弾性体によりなるガスケットが組み込まれている。
また、各種配管等の継ぎ目領域、あるいはオートバイのキャブレターとフロートチャンバーとの間等にも様々なガスケットが組み込まれている。
【0003】
特許文献1には、配管の接合面に設けた環状凹部に、弾性を有するリング状のガスケットを採用した一例が開示されている。また、特許文献2には、空圧式・油圧式アクチュエータの圧力機器に用いられるガスケットが提案されている。
【0004】
一般に、この種の弾性を有するガスケットの場合、組み込み対象とされる密封部に対応したサイズ(周長)のリング状に形成される。
すなわち、密封領域が大きい場合、それに適応する大型サイズのガスケットが用意される。
【0005】
このようなガスケットは、通常、金型を用いて成型される。
従って、サイズの大きなガスケットを成型するとなると、それに応じた大きな金型も必要となるため、成型設備の大型化・金型保管スペースの確保など、種々の課題が生じ得る。
【先行技術文献】
【特許文献】
【0006】
実用新案登録第3104291号公報
特開2006-329400号公報
【発明の概要】
【発明が解決しようとする課題】
【0007】
本発明は、このような課題を解決するためになされており、その目的とするところは、成型設備の大型化及び金型保管スペースの確保等種々の課題を解消し得るガスケットを提供することにある。
【課題を解決するための手段】
【0008】
このような目的を達成するために、第1の本発明は、弾性体によりなるガスケット本体を、密封部の凹溝に組み込んで使用するガスケットであって、
ガスケット本体は、複数の環状部を連結した鎖状に成型され、
成型されたガスケット本体を伸長させて凹溝に組み込むようにしたことを特徴とするものである。
【0009】
第2の本発明は、第1の本発明において、環状部は、平面視で略菱形形状に形成されていることを特徴とするものである。
【0010】
第3の本発明は、第1または第2の本発明において、ガスケット本体は、凹溝に組み込まれた状態で、環状部が凹溝に弾性的に圧接することを特徴とするものである。
【発明の効果】
(【0011】以降は省略されています)
この特許をJ-PlatPat(特許庁公式サイト)で参照する
関連特許
株式会社荒井製作所
ガスケット
15日前
株式会社荒井製作所
ガスケット
15日前
株式会社荒井製作所
グロメット
1か月前
個人
鍋虫ねじ
1か月前
個人
ホース保持具
5か月前
個人
紛体用仕切弁
1か月前
個人
回転伝達機構
1か月前
個人
差動歯車用歯形
3か月前
個人
トーションバー
6か月前
個人
ジョイント
15日前
個人
ナット
16日前
株式会社不二工機
電磁弁
3か月前
個人
地震の揺れ回避装置
2か月前
株式会社不二工機
電磁弁
4か月前
個人
ボルトナットセット
6か月前
個人
吐出量監視装置
1か月前
カヤバ株式会社
ダンパ
3か月前
個人
ベルトテンショナ
7か月前
カヤバ株式会社
ダンパ
3か月前
柿沼金属精機株式会社
分岐管
1か月前
株式会社三協丸筒
枠体
6か月前
カヤバ株式会社
緩衝器
6か月前
カヤバ株式会社
緩衝器
2か月前
カヤバ株式会社
緩衝器
2か月前
株式会社ノーリツ
分配弁
4か月前
株式会社ニフコ
クリップ
1日前
株式会社不二工機
電磁弁
1か月前
株式会社フジキン
ボールバルブ
3か月前
個人
固着具と固着具の固定方法
4か月前
株式会社奥村組
制振機構
5日前
株式会社ノーリツ
分配弁
4か月前
株式会社ノーリツ
分配弁
4か月前
日東電工株式会社
断熱材
5か月前
個人
固着具と固着具の固定方法
5か月前
株式会社不二工機
電動弁
6か月前
株式会社奥村組
制振機構
5日前
続きを見る
他の特許を見る