TOP
|
特許
|
意匠
|
商標
特許ウォッチ
Twitter
他の特許を見る
公開番号
2025140908
公報種別
公開特許公報(A)
公開日
2025-09-29
出願番号
2024040556
出願日
2024-03-14
発明の名称
ガス精製システム
出願人
一般財団法人電力中央研究所
代理人
個人
,
個人
主分類
C10K
1/32 20060101AFI20250919BHJP(石油,ガスまたはコークス工業;一酸化炭素を含有する工業ガス;燃料;潤滑剤;でい炭)
要約
【課題】種々の炭素含有物質(石炭、炭素系廃棄物、バイオマス)を原料として生成されるガス化ガスの不純物を精密に除去する。
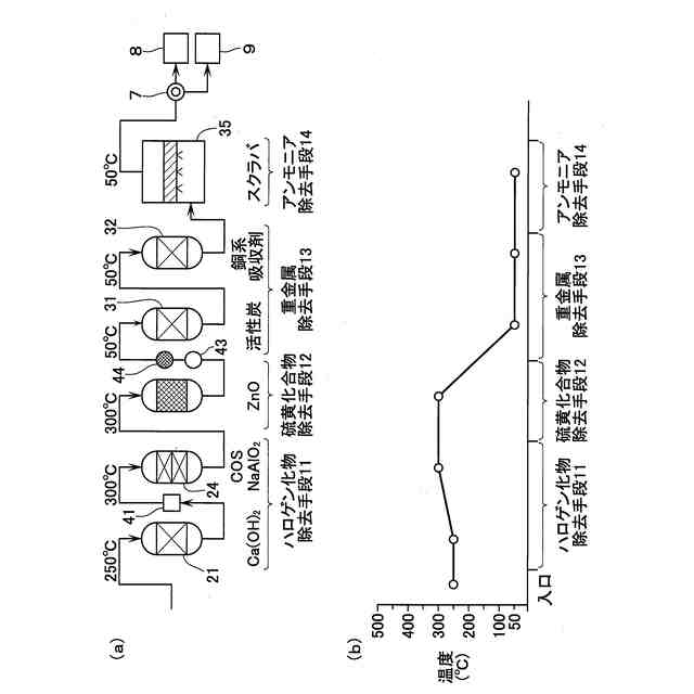
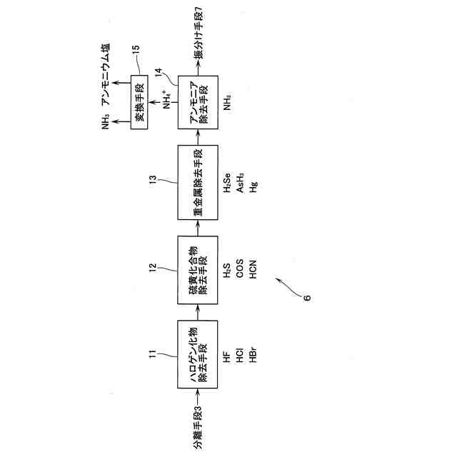
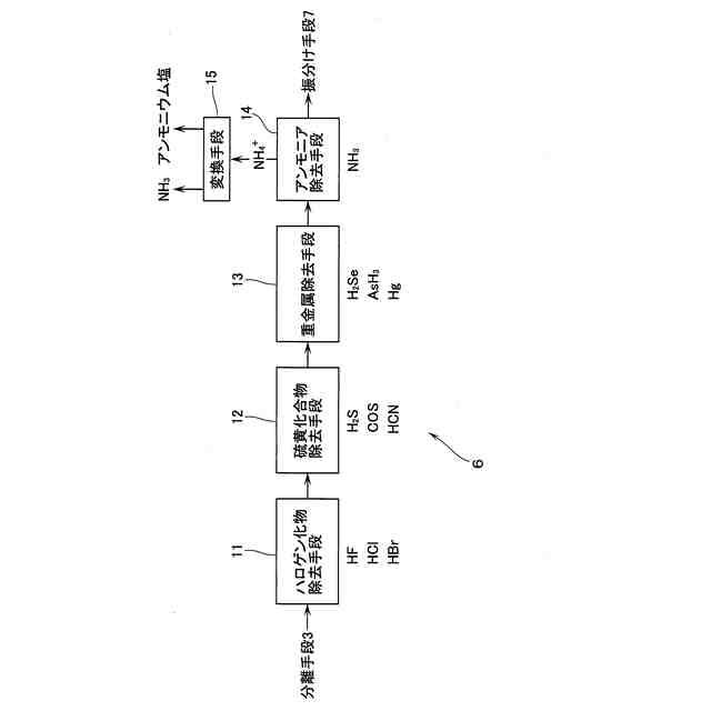
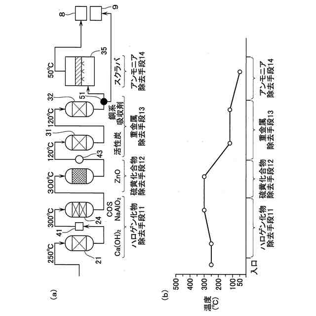
【解決手段】ガス化ガスをハロゲン化物除去手段11に流通させ、ハロゲン化物を乾式で除去し、ハロゲンが除去されたガス化ガスを、硫黄化合物除去手段12に流通させ、硫黄化合物および窒素化合物であるシアン化水素を乾式で除去し、硫黄化合物および窒素化合物であるシアン化水素が除去されたガス化ガスを、重金属除去13に流通させ、重金属を乾式で除去し、アンモニア除去手段14でガス化ガスを水洗いしてアンモニアを湿式で除去する。
【選択図】図2
特許請求の範囲
【請求項1】
ガス化ガス生成により生成されたガス化ガスの不純物を除去するガス精製システムであって、
露点温度を越えるガス温度であり、生成された状態の温度前後の温度のガス化ガスを流通させ、ハロゲン化物を除去するハロゲン化物除去手段と、
前記ハロゲン化物除去手段でハロゲン化物が除去されたガス化ガスを、露点温度を越えるガス温度で流通させ、硫黄化合物および窒素化合物であるシアン化水素を除去する硫黄化合物除去手段と、
前記硫黄化合物除去手段で硫黄化合物および窒素化合物であるシアン化水素が除去されたガス化ガスを、露点温度を越えるガス温度で流通させ、重金属を除去する重金属除去手段と、
前記重金属除去手段で重金属が除去されたガス化ガスを水洗いしてアンモニアを除去するアンモニア除去手段とを備えた
ことを特徴とするガス精製システム。
続きを表示(約 1,900 文字)
【請求項2】
ガス化ガス生成により生成されたガス化ガスの不純物を除去するガス精製システムであって、
露点温度を越えるガス温度であり、生成された状態の温度前後の温度のガス化ガスを流通させ、ハロゲン化物を除去するハロゲン化物除去手段と、
前記ハロゲン化物除去手段でハロゲン化物が除去されたガス化ガスを、露点温度を越えるガス温度で流通させ、硫黄化合物および窒素化合物であるシアン化水素を除去する硫黄化合物除去手段と、
前記硫黄化合物除去手段で硫黄化合物および窒素化合物であるシアン化水素が除去されたガス化ガスを、露点以下のガス温度で流通させ、重金属を除去する重金属除去手段とを備えた
ことを特徴とするガス精製システム。
【請求項3】
請求項2に記載のガス精製システムにおいて、
前記重金属除去手段で重金属が除去されたガス化ガスを水洗いしてアンモニアを除去するアンモニア除去手段を備えた
ことを特徴とするガス精製システム。
【請求項4】
請求項3に記載のガス精製システムにおいて、
前記硫黄化合物除去手段で硫黄化合物および窒素化合物であるシアン化水素が除去されて露点以下の温度にされたガス化ガスを除湿する除湿手段を備えた
ことを特徴とするガス精製システム。
【請求項5】
請求項1に記載のガス精製システムにおいて、
前記重金属除去手段で重金属が除去されたガス化ガスを二つの経路に分岐して、前記アンモニア除去手段、及び、外部の利用手段に振り分ける分岐振分け手段を備えた
ことを特徴とするガス精製システム。
【請求項6】
請求項1もしくは請求項3のいずれかに記載のガス精製システムにおいて、
前記アンモニア除去手段でアンモニアが除去されて生成したアンモニウムイオン(NH
4
+
)をアンモニアもしくはアンモニウム塩、または、アンモニア及びアンモニウム塩に変換して回収する変換手段を備えた
ことを特徴とするガス精製システム。
【請求項7】
請求項1から請求項5のいずれか一項に記載のガス精製システムにおいて、
前記ハロゲン化物除去手段で除去されるハロゲン化物は、
塩化水素、フッ化水素、臭化水素のうち少なくとも一つを含み、
前記ハロゲン化物除去手段は、
第1温度の雰囲気でカルシウムを含む吸収剤を用いてハロゲンを荒取り除去する第1除去手段と、
前記第1温度と異なる温度の第2温度の雰囲気でナトリウムを含む吸収剤を用いてハロゲンを精密除去する第2除去手段とを有している
ことを特徴とするガス精製システム。
【請求項8】
請求項1から請求項5のいずれか一項に記載のガス精製システムにおいて、
前記硫黄化合物除去手段で除去される不純物は、
硫黄化合物である硫化水素、硫化カルボニルのうち少なくとも一つ、および窒素化合物であるシアン化水素を含み、
前記硫黄化合物除去手段は、
亜鉛を含む吸収剤である
ことを特徴とするガス精製システム。
【請求項9】
請求項1から請求項5のいずれか一項に記載のガス精製システムにおいて、
前記重金属除去手段で除去される重金属は、セレン化水素、水素化ヒ素のうち少なくとも一つ、および金属水銀蒸気を含み、
前記重金属除去手段は、
活性炭を用いて、セレン、ヒ素を除去する第1処理装置、および、銅を主体として水銀を吸収する銅系吸収剤、もしくは、水銀との化学反応により生成した塩を吸着することで水銀を除去する添着活性炭を用いて水銀を除去する第2処理装置を有している
ことを特徴とするガス精製システム。
【請求項10】
請求項1から請求項5のいずれか一項に記載のガス精製システムにおいて、
前記ハロゲン化物除去手段に送られるガス化ガスを生成するガス化炉を備え、
前記ガス化炉には、原料として少なくとも炭素系廃棄物が投入され、
前記ガス化炉では、ガス化剤としてO
2
、H
2
O、CO
2
の一部もしくは全部が供給され、ガス化反応によりH
2
とCOを主体とする合成ガスが生成される
ことを特徴とするガス精製システム。
(【請求項11】以降は省略されています)
発明の詳細な説明
【技術分野】
【0001】
本発明は、ガス化ガスの不純物を精密に除去することができるガス精製システムに関する。
続きを表示(約 2,000 文字)
【背景技術】
【0002】
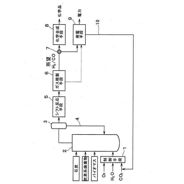
石炭は世界の広い地域に存在し、可採埋蔵量が多く、価格が安定しているため、供給安定性が高く発熱量あたりの価格が低廉である。石炭を燃料とする火力発電では、例えば、石炭ガス化炉で発生させた石炭ガス化ガスを燃料としてガスタービンを駆動して電力を得ると共に、ガスタービンの排気熱を回収して蒸気を発生させ、発生した蒸気により蒸気タービンを駆動して電力を得る設備が知られている(例えば、特許文献1参照)。
【0003】
石炭ガス化炉で発生する石炭ガス化ガスにはハロゲン化合物、硫黄化合物等の後続機器に対して影響を与える不純物や、水銀、ヒ素等の重金属である不純物が含まれるため、ガス精製システムにより石炭ガス化ガスの不純物を除去して燃料ガスとしている。
【0004】
近年、燃料(ガス化ガス)を生成する原料として、石炭に加え、炭素系廃棄物やバイオマスが用いられることが多くなってきている。そして、ガス化炉で生成されるガス化ガスは、ガスエンジン、ガスタービン、燃料電池等の発電用燃料に用いられると共に、化学合成の原料に用いられるため、ガス精製システムで精製されるガス化ガスは、不純物をより精密に除去する要望が高くなってきている。
【先行技術文献】
【特許文献】
【0005】
特開2005-171148号公報
【発明の概要】
【発明が解決しようとする課題】
【0006】
本発明は上記状況に鑑みてなされたもので、種々の炭素含有物質(石炭、炭素系廃棄物、バイオマス)を原料として生成されるガス化ガスの不純物を精密に除去することができるガス精製システムを提供することを目的とする。
【課題を解決するための手段】
【0007】
上記目的を達成するための請求項1に係る本発明のガス精製システムは、ガス化ガス生成により生成されたガス化ガスの不純物を除去するガス精製システムであって、露点温度を越えるガス温度であり、生成された状態の温度前後の温度のガス化ガスを流通させ、ハロゲン化物を除去するハロゲン化物除去手段と、前記ハロゲン化物除去手段でハロゲン化物が除去されたガス化ガスを、露点温度を越えるガス温度で流通させ、硫黄化合物および窒素化合物であるシアン化水素を除去する硫黄化合物除去手段と、前記硫黄化合物除去手段で硫黄化合物および窒素化合物であるシアン化水素が除去されたガス化ガスを、露点温度を越えるガス温度で流通させ、重金属を除去する重金属除去手段と、前記重金属除去手段で重金属が除去されたガス化ガスを水洗いしてアンモニアを除去するアンモニア除去手段とを備えたことを特徴とする。
【0008】
請求項1に係る本発明では、露点温度を越えるガス温度のガス化ガスをハロゲン化物除去手段に流通させ、ハロゲン化物を乾式で除去し、ハロゲンが除去されたガス化ガスを、露点温度を越えるガス温度で硫黄化合物除去手段に流通させ、硫黄化合物および窒素化合物であるシアン化水素を乾式で除去し、硫黄化合物および窒素化合物であるシアン化水素が除去されたガス化ガスを、露点温度を越えるガス温度で重金属除去手段に流通させ、重金属を乾式で除去する。そして、重金属除去手段で重金属が除去されたガス化ガスがアンモニア除去手段で水洗いされてアンモニアが湿式で除去される。
【0009】
このため、ハロゲン化物、硫黄化合物、窒素化合物であるシアン化水素、重金属が乾式で除去された後に、アンモニアが水洗いされて除去され、水に溶ける不純物を下流側で除去することができる。そして、ハロゲン化物、硫黄化合物、窒素化合物であるシアン化水素、重金属が除去された後に水洗いが行われるため、水洗い後の排水に含まれる不純物がほぼアンモニアの溶解により生成したアンモニウムイオンのみとなり、排水処理の負担が高まることがなく、排水処理の負担を大幅に抑制してガス化ガスの不純物を精密に除去することができる。
【0010】
上記目的を達成するための請求項2に係る本発明のガス精製システムは、ガス化ガス生成により生成されたガス化ガスの不純物を除去するガス精製システムであって、露点温度を越えるガス温度であり、生成された状態の温度前後の温度のガス化ガスを流通させ、ハロゲン化物を除去するハロゲン化物除去手段と、前記ハロゲン化物除去手段でハロゲン化物が除去されたガス化ガスを、露点温度を越えるガス温度で流通させ、硫黄化合物および窒素化合物であるシアン化水素を除去する硫黄化合物除去手段と、前記硫黄化合物除去手段で硫黄化合物が除去されたガス化ガスを、露点以下のガス温度で流通させ、重金属を除去する重金属除去手段とを備えたことを特徴とする。
(【0011】以降は省略されています)
この特許をJ-PlatPat(特許庁公式サイト)で参照する
関連特許
東ソー株式会社
芳香族化合物の製造方法
13日前
株式会社Move up
凹凸形状の固形着火剤
3日前
NTN株式会社
転がり軸受
1日前
個人
炭化油化装置
13日前
大同化学株式会社
水溶性金属加工油剤及びクーラント
22日前
有限会社ジャパンガスセパレーション
メタンガス発生装置
7日前
一般財団法人電力中央研究所
ガス精製システム
3日前
三菱ケミカル株式会社
樹脂組成物の再利用方法
14日前
日本製鉄株式会社
コークスの製造方法
1か月前
出光興産株式会社
燃料油組成物
1か月前
三菱ケミカル株式会社
樹脂組成物の再利用方法
14日前
三菱ケミカル株式会社
樹脂組成物の再利用方法
14日前
三菱ケミカル株式会社
樹脂組成物の再利用方法
14日前
新日本理化株式会社
潤滑油基油
14日前
個人
潤滑剤
15日前
ENEOS株式会社
金属加工油組成物
15日前
三菱重工業株式会社
炭化炉及びその制御方法
1か月前
株式会社ディスコ
薬液管理方法
1か月前
JFEスチール株式会社
コークス炉の補修方法
13日前
個人
燻炭製造装置と燻炭製造方法、及び、燻炭製造システム
27日前
出光興産株式会社
潤滑油組成物
13日前
出光興産株式会社
潤滑油組成物
3日前
出光興産株式会社
潤滑油組成物
3日前
出光興産株式会社
潤滑油組成物
24日前
出光興産株式会社
潤滑油組成物
1か月前
桐生瓦斯株式会社
メタン含有ガスの製造方法およびその製造装置
3日前
JFEスチール株式会社
コークス炉の補修方法
今日
NTN株式会社
グリース組成物およびグリース封入軸受
13日前
三菱ケミカル株式会社
コークス炉の煉瓦組積構造
22日前
株式会社タケエイ
木質燃料製造装置及び木質燃料製造方法
1か月前
日本精工株式会社
グリース組成物及びグリース組成物を充填した転動装置
24日前
株式会社Gpower
バイオマス発電システム
3日前
大同工業株式会社
潤滑剤及び潤滑剤の塗布方法
1か月前
本田技研工業株式会社
燃料製造方法、及び燃料製造システム
6日前
三菱重工サーマルシステムズ株式会社
冷凍機油および冷凍装置
14日前
日本製鉄株式会社
成型炭の偏析評価方法及びコークスの製造方法
1か月前
続きを見る
他の特許を見る