TOP
|
特許
|
意匠
|
商標
特許ウォッチ
Twitter
他の特許を見る
公開番号
2025143156
公報種別
公開特許公報(A)
公開日
2025-10-01
出願番号
2024042935
出願日
2024-03-18
発明の名称
転がり軸受
出願人
NTN株式会社
代理人
個人
,
個人
,
個人
主分類
C10M
137/04 20060101AFI20250924BHJP(石油,ガスまたはコークス工業;一酸化炭素を含有する工業ガス;燃料;潤滑剤;でい炭)
要約
【課題】電食によるリッジマークを抑制可能な転がり軸受を提供する。
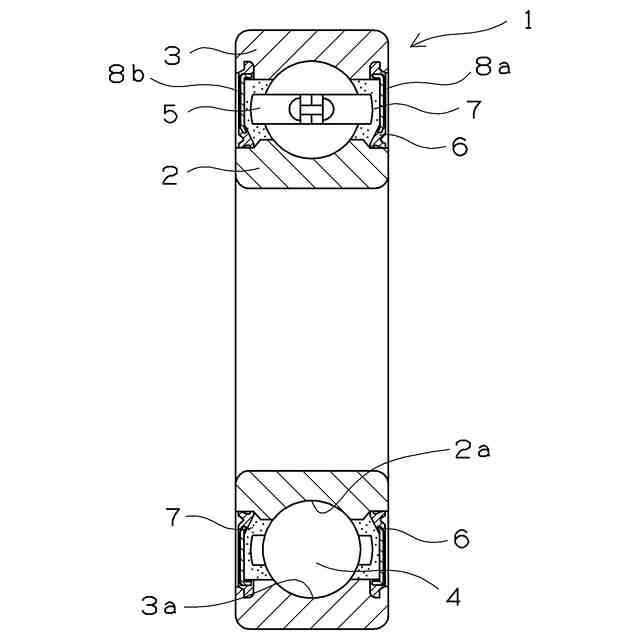
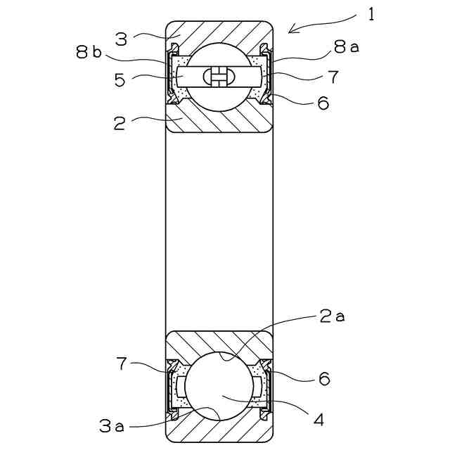
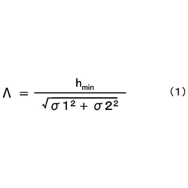
【解決手段】転がり軸受1は、内輪2および外輪3と、この内輪2および外輪3間に介在する複数の玉4とを有し、グリース組成物7で潤滑される転がり軸受であって、定常運転状態における油膜パラメータΛが3よりも大きく、グリース組成物7は基油とリン系添加剤を含み、グリース組成物7全量に対するリン含有量が0.2質量%以上2.0質量%未満であり、リン系添加剤が、直鎖または分岐のアルキル基を有する脂肪族リン酸エステルである。
【選択図】図1
特許請求の範囲
【請求項1】
内輪および外輪と、この内輪および外輪間に介在する複数の転動体とを有し、潤滑剤で潤滑される転がり軸受であって、
前記転がり軸受は、定常運転状態における油膜パラメータΛが3よりも大きく、前記潤滑剤は基油とリン系添加剤を含み、前記潤滑剤全量に対するリン含有量が0.2質量%以上2.0質量%未満であることを特徴とする転がり軸受。
続きを表示(約 670 文字)
【請求項2】
前記リン系添加剤が、直鎖または分岐のアルキル基を有する脂肪族リン酸エステルであることを特徴とする請求項1記載の転がり軸受。
【請求項3】
前記脂肪族リン酸エステルは前記アルキル基を3つ有し、該アルキル基はいずれも炭素数2~8であることを特徴とする請求項2記載の転がり軸受。
【請求項4】
前記基油は、合成炭化水素油およびエステル油から選ばれる少なくとも1種であり、前記基油の40℃における動粘度が10mm
2
/s~80mm
2
/sであることを特徴とする請求項1または請求項2記載の転がり軸受。
【請求項5】
前記リン系添加剤が、直鎖または分岐のアルキル基を有する脂肪族リン酸エステルであり、前記脂肪族リン酸エステルは前記アルキル基を3つ有し、該アルキル基はいずれも炭素数2~8であり、
前記潤滑剤全量に対するリン含有量が0.5質量%以上2.0質量%未満であり、前記潤滑剤は硫黄系添加剤を含まないことを特徴とする請求項1記載の転がり軸受。
【請求項6】
前記潤滑剤は、潤滑油組成物であることを特徴とする請求項1または請求項2記載の転がり軸受。
【請求項7】
前記転がり軸受において、定常運転状態における最大面圧は0.3GPa~3GPaであり、軸受回転速度は500min
-1
~20000min
-1
であることを特徴とする請求項1または請求項2記載の転がり軸受。
発明の詳細な説明
【技術分野】
【0001】
本発明は、潤滑剤で潤滑される転がり軸受に関する。
続きを表示(約 1,700 文字)
【背景技術】
【0002】
産業機械用モータで使用されているファンモータやサーボモータ、および、EV車やハイブリッド自動車で使用されている駆動用モータなどには、転がり軸受が使用されている。これらに使用される転がり軸受には潤滑性を付与するために潤滑剤が封入、または潤滑剤が接触部に侵入するような機構が施されている。
【0003】
近年、産業機械用モータや駆動用モータでは、高効率化を図るべく、ほとんどのモータがインバータで制御されている。インバータ制御は、モータの設定回転数に合わせて、モータに入力される電圧と周波数を制御する。インバータのスイッチング周波数が高くなると、それに伴ってモータの軸電圧の発生頻度が高まる。その結果、インバータ駆動モータに組み込まれた転がり軸受において、外輪および内輪と転動体との間に電位差が生じることがある。この電位差が大きくなり、軸受内の軌道輪と転動体との間に形成される油膜の絶縁破壊電圧を超えると、軌道輪と転動体との間で放電が起こり、軸受の内部に電食と呼ばれる損傷を生じさせることがある。また、電源電圧が高電圧化すると、同じ出力であっても電流を小さくすることができ、ケーブルやインバータ素子の銅損を低減することができる。しかしながら、軸電位と接地電位の電位差が大きくなるため、油膜の絶縁破壊が生じやすくなる。
【0004】
これら電食による軸受の損傷が進行すると、外輪や内輪の転走面にリッジマークと呼ばれる縞状の凹凸部が形成される。このリッジマークは、軸受の騒音や振動を招くおそれがある。このため、転走面へのリッジマークの発生を抑制するよう工夫した軸受の開発が進められている。
【0005】
例えば、特許文献1には、パーフルオロポリエーテルおよびフルオロシリコーンの少なくとも一方からなる基油と、フッ素化合物などの増ちょう剤と、カーボンブラックを含む導電性グリースが記載されている。また、特許文献2には、軸受空間の端部を密封するシールとして、導電性シールを設けたことが記載されている。
【先行技術文献】
【特許文献】
【0006】
特許第4599769号公報
特許第4177057号公報
【発明の概要】
【発明が解決しようとする課題】
【0007】
上記のように、軸受に導電性を付与する技術が知られている。しかし、特許文献1および特許文献2に記載されるような導電性グリースや導電性シールは、一般的に、体積抵抗率が10
4
~10
8
Ωcmと高い。このため、静電気の除去や帯電防止には効果があるものの、インバータに起因するモータの軸電圧が問題となる場合、抵抗が高いため軸電圧の発生を抑えることは困難であり、結果として、転がり軸受において潤滑剤による油膜の絶縁破壊が発生することがある。
【0008】
本発明はこのような事情に鑑みてなされたものであり、電食によるリッジマークを抑制可能な転がり軸受を提供することを目的とする。
【課題を解決するための手段】
【0009】
本発明の転がり軸受は、内輪および外輪と、この内輪および外輪間に介在する複数の転動体とを有し、潤滑剤で潤滑される転がり軸受であって、上記転がり軸受は、定常運転状態における油膜パラメータΛが3よりも大きく、上記潤滑剤は基油とリン系添加剤を含み、上記潤滑剤全量に対するリン含有量が0.2質量%以上2.0質量%未満であることを特徴とする。ここで、定常運転状態とは、回転速度および荷重が概ね安定した主な運転状態を意味する。
【0010】
上記リン系添加剤が、直鎖または分岐のアルキル基を有する脂肪族リン酸エステルであることを特徴とする。上記脂肪族リン酸エステルは上記アルキル基を3つ有し、該アルキル基はいずれも炭素数2~8であることを特徴とする。
(【0011】以降は省略されています)
この特許をJ-PlatPat(特許庁公式サイト)で参照する
関連特許
NTN株式会社
基板
5日前
NTN株式会社
ハンド
今日
NTN株式会社
玉軸受
13日前
NTN株式会社
玉軸受
1か月前
NTN株式会社
玉軸受
6日前
NTN株式会社
玉軸受
14日前
NTN株式会社
密封装置
1か月前
NTN株式会社
把持装置
今日
NTN株式会社
把持装置
今日
NTN株式会社
ころ軸受
2か月前
NTN株式会社
軸受装置
12日前
NTN株式会社
転がり軸受
1か月前
NTN株式会社
転がり軸受
今日
NTN株式会社
転がり軸受
1か月前
NTN株式会社
転がり軸受
1か月前
NTN株式会社
転がり軸受
6日前
NTN株式会社
深溝玉軸受
1か月前
NTN株式会社
基板取付構造
12日前
NTN株式会社
状態監視装置
2か月前
NTN株式会社
等速自在継手
12日前
NTN株式会社
円筒ころ軸受
1か月前
NTN株式会社
円筒ころ軸受
14日前
NTN株式会社
球面滑り軸受
1か月前
NTN株式会社
軸受用保持器
26日前
NTN株式会社
車輪用軸受装置
1か月前
NTN株式会社
車輪用軸受装置
1か月前
NTN株式会社
電動モータ装置
14日前
NTN株式会社
車輪用軸受装置
29日前
NTN株式会社
車輪用軸受装置
14日前
NTN株式会社
絶縁転がり軸受
28日前
NTN株式会社
保持器付きころ
2日前
NTN株式会社
モータユニット
2日前
NTN株式会社
円すいころ軸受
5日前
NTN株式会社
動力伝達シャフト
12日前
NTN株式会社
プランマブロック
12日前
NTN株式会社
摺動式等速自在継手
12日前
続きを見る
他の特許を見る